TOP
|
特許
|
意匠
|
商標
特許ウォッチ
Twitter
他の特許を見る
10個以上の画像は省略されています。
公開番号
2025179820
公報種別
公開特許公報(A)
公開日
2025-12-10
出願番号
2025085986
出願日
2025-05-22
発明の名称
移動ロボット及び移動ロボット連結体
出願人
学校法人 龍谷大学
代理人
個人
主分類
B62D
57/02 20060101AFI20251203BHJP(鉄道以外の路面車両)
要約
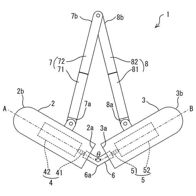
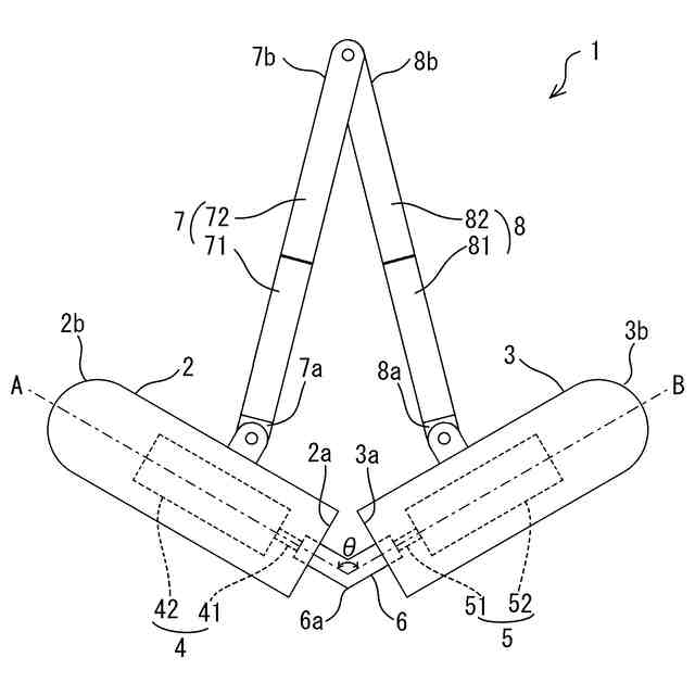
【課題】不整地で安定して移動し易い移動ロボットを提供する。
【解決手段】この移動ロボット1は、第1筒状フレーム2と、第2筒状フレーム3と、第1出力軸体41とそれを回転させる第1駆動体42を有し第1駆動体42が第1筒状フレーム2に固定された第1モータ部4と、第2出力軸体51とそれを回転させる第2駆動体52を有し、第2駆動体52が第2筒状フレーム3に固定された第2モータ部5と、第1出力軸体41と第2出力軸体51に両端部が固定され中央部に屈曲部6aを有するリンク部材6と、第1筒状フレーム2の側面に取り付けられた第1回転阻止部材7と、第2筒状フレーム3の側面に取り付けられた第2回転阻止部材8と、を備える。
【選択図】図1
特許請求の範囲
【請求項1】
第1筒状フレームと、
第2筒状フレームと、
第1出力軸体とそれを回転させる第1駆動体を有し、該第1駆動体が前記第1筒状フレームに固定された第1モータ部と、
第2出力軸体とそれを回転させる第2駆動体を有し、該第2駆動体が前記第2筒状フレームに固定された第2モータ部と、
前記第1出力軸体と前記第2出力軸体に両端部が固定され、中央部に屈曲部を有するリンク部材と、
前記第1筒状フレームの側面に取り付けられた第1回転阻止部材と、
前記第2筒状フレームの側面に取り付けられた第2回転阻止部材と、
を備える移動ロボット。
続きを表示(約 1,000 文字)
【請求項2】
第1筒状フレームと、
第2筒状フレームと、
第1出力軸体とそれを回転させる第1駆動体を有し、該第1駆動体が前記第1筒状フレームに固定された第1モータ部と、
前記第1筒状フレームに固定された第1かさ歯車と、
前記第2筒状フレームに固定され前記第1かさ歯車に噛み合う第2かさ歯車と、
前記第1出力軸体に片方の端部が固定され、もう片方の端部が回転可能に第2筒状フレームに保持され、中央部に屈曲部を有するリンク部材と、
前記第1筒状フレームの側面に取り付けられた第1回転阻止部材と、
前記第2筒状フレームの側面に取り付けられた第2回転阻止部材と、
を備える移動ロボット。
【請求項3】
請求項1又は2に記載の移動ロボットにおいて、
前記第1筒状フレームは、第1筒状フレーム本体と第1筒状フレーム補助部と第1ワンウェイクラッチを有し、前記第1筒状フレーム本体に形成された溝部に前記第1筒状フレーム補助部とその内側に前記第1ワンウェイクラッチが嵌め込まれており、前記第1回転阻止部材が前記第1筒状フレーム補助部に接続されており、
前記第2筒状フレームは、第2筒状フレーム本体と第2筒状フレーム補助部と第2ワンウェイクラッチを有し、前記第2筒状フレーム本体に形成された溝部に前記第2筒状フレーム補助部とその内側に前記第2ワンウェイクラッチが嵌め込まれており、前記第2回転阻止部材が前記第2筒状フレーム補助部に接続されている移動ロボット。
【請求項4】
請求項1又は2に記載の移動ロボットにおいて、
前記第1筒状フレーム及び第2筒状フレームの側面の前部に凹部を有する移動ロボット。
【請求項5】
請求項3に記載の移動ロボットにおいて、
前記第1筒状フレーム及び第2筒状フレームの側面の前部に凹部を有する移動ロボット。
【請求項6】
請求項1又は2に記載の移動ロボットが複数個、縦列に連結され、前記第1回転阻止部材及び前記第2回転阻止部材が前後の前記移動ロボットを連結する移動ロボット連結体。
【請求項7】
請求項3に記載の移動ロボットが複数個、縦列に連結され、前記第1回転阻止部材及び前記第2回転阻止部材が前後の前記移動ロボットを連結する移動ロボット連結体。
発明の詳細な説明
【技術分野】
【0001】
本発明は、レスキュー活動などに適用可能な移動ロボット及び移動ロボット連結体に関する。
続きを表示(約 1,700 文字)
【背景技術】
【0002】
危険な場所や小さな空間の場所など人間が立ち入ることが難しい場所での探索等は、その場所を適切に移動可能な小型のロボット(移動ロボット)に行わせることが好ましい。その中で、レスキュー活動などでは、不整地での移動が求められることが少なくない。この場合、ある程度の段差が有っても越えることができるように、車体の左右に車輪を有するとともに車体に対する車輪の位置(上下位置など)を変える機構を有する移動ロボットが知られている。
【0003】
例えば、特許文献1には、車体の左右前後にそれぞれ2個の車輪を有し、各2個の車輪の中央に回動可能に接続された脚部が設けられて車体に回動可能に接続されており、脚部を回動させ、かつ、脚部に対して2個の車輪の位置を回動させる機構により、ある程度の段差が有っても越えることができるようにした移動ロボットが開示されている。
【先行技術文献】
【特許文献】
【0004】
特開2009-234534号公報
【発明の概要】
【発明が解決しようとする課題】
【0005】
しかしながら、不整地では段差の他に突起などが有り、一方、車体の左右に車輪を有し車体に対する車輪の位置を変える機構を有する移動ロボットは、左右の車輪の間の車体(又は機構)の部分が広くなり易く、左右の車輪の間で不整地の突起に車体(又は機構)が乗り上げて移動しなくなることが起こり易い。
【0006】
本発明は、係る事由に鑑みてなされたものであり、その目的は、不整地で安定して移動し易い移動ロボットを提供することにある。
【課題を解決するための手段】
【0007】
上記目的を達成するために、請求項1に記載の移動ロボットは、第1筒状フレームと、第2筒状フレームと、第1出力軸体とそれを回転させる第1駆動体を有し、該第1駆動体が前記第1筒状フレームに固定された第1モータ部と、第2出力軸体とそれを回転させる第2駆動体を有し、該第2駆動体が前記第2筒状フレームに固定された第2モータ部と、前記第1出力軸体と前記第2出力軸体に両端部が固定され、中央部に屈曲部を有するリンク部材と、前記第1筒状フレームの側面に取り付けられた第1回転阻止部材と、前記第2筒状フレームの側面に取り付けられた第2回転阻止部材と、を備える。
【0008】
請求項2に記載の移動ロボットは、第1筒状フレームと、第2筒状フレームと、第1出力軸体とそれを回転させる第1駆動体を有し、該第1駆動体が前記第1筒状フレームに固定された第1モータ部と、前記第1筒状フレームに固定された第1かさ歯車と、前記第2筒状フレームに固定され前記第1かさ歯車に噛み合う第2かさ歯車と、前記第1出力軸体に片方の端部が固定され、もう片方の端部が回転可能に第2筒状フレームに保持され、中央部に屈曲部を有するリンク部材と、前記第1筒状フレームの側面に取り付けられた第1回転阻止部材と、前記第2筒状フレームの側面に取り付けられた第2回転阻止部材と、を備える。
【0009】
請求項3に記載の移動ロボットは、請求項1又は2に記載の移動ロボットにおいて、前記第1筒状フレームは、第1筒状フレーム本体と第1筒状フレーム補助部と第1ワンウェイクラッチを有し、前記第1筒状フレーム本体に形成された溝部に前記第1筒状フレーム補助部とその内側に前記第1ワンウェイクラッチが嵌め込まれており、前記第1回転阻止部材が前記第1筒状フレーム補助部に接続されており、前記第2筒状フレームは、第2筒状フレーム本体と第2筒状フレーム補助部と第2ワンウェイクラッチを有し、前記第2筒状フレーム本体に形成された溝部に前記第2筒状フレーム補助部とその内側に前記第2ワンウェイクラッチが嵌め込まれており、前記第2回転阻止部材が前記第2筒状フレーム補助部に接続されている。
【0010】
請求項4に記載の移動ロボットは、請求項1又は2に記載の移動ロボットにおいて、前記第1筒状フレーム及び第2筒状フレームの側面の前部に凹部を有する。
(【0011】以降は省略されています)
この特許をJ-PlatPat(特許庁公式サイト)で参照する
関連特許
学校法人 龍谷大学
可視光応答型光触媒
3か月前
学校法人 龍谷大学
可視光応答型光触媒
3か月前
学校法人 龍谷大学
金または白金の回収方法
2か月前
学校法人 龍谷大学
移動ロボット及び移動ロボット連結体
今日
三洋化成工業株式会社
リン酸回収方法
9か月前
三洋化成工業株式会社
肥料及びその製造方法
9か月前
学校法人 龍谷大学
米の食味評価方法、肥料、土壌改良剤、米の製造方法
1か月前
学校法人 龍谷大学
リチウムイオン二次電池用負極活物質及びその製造方法
2か月前
大阪ガスケミカル株式会社
ポリエステル樹脂及びその製造方法
12日前
学校法人 龍谷大学
ジベンゾ[g、p]クリセン骨格を有する化合物とその製造方法
1か月前
住友化学株式会社
疲労感改善用組成物
1か月前
個人
カート
5か月前
個人
走行装置
5か月前
個人
台車
20日前
個人
三輪バイク
1か月前
個人
電動走行車両
5か月前
個人
乗り物
7か月前
個人
発音装置
9か月前
個人
電動モビリティ
9か月前
個人
閂式ハンドル錠
5か月前
個人
自転車用歩数計
1か月前
個人
駐輪設備
3か月前
個人
ボギー・フレーム
3か月前
個人
“zen-go.”
4か月前
個人
ルーフ付きトライク
3か月前
個人
三輪電動車両
1か月前
個人
ルーフ付きトライク
4か月前
個人
自転車前輪固定装置
1日前
個人
自由方向乗車自転車
9か月前
個人
車の室内高温防止屋根
1か月前
個人
キャンピングトライク
10か月前
個人
パワーアシスト自転車
3か月前
井関農機株式会社
作業車両
1か月前
個人
ステアリングの操向部材
10か月前
井関農機株式会社
収穫作業車両
6日前
株式会社豊田自動織機
産業車両
6か月前
続きを見る
他の特許を見る