TOP
|
特許
|
意匠
|
商標
特許ウォッチ
Twitter
他の特許を見る
10個以上の画像は省略されています。
公開番号
2025179725
公報種別
公開特許公報(A)
公開日
2025-12-10
出願番号
2024086655
出願日
2024-05-28
発明の名称
情報処理装置及び方法
出願人
株式会社Rist
代理人
個人
,
個人
,
個人
主分類
G06V
10/774 20220101AFI20251203BHJP(計算;計数)
要約
【課題】アンカーボックスベースの物体検出に関する技術を改善する。
【解決手段】対象物を示す正解ラベルがそれぞれ付与された複数の第1画像20Aを用いて、入力画像に含まれる対象物を検出する学習モデルを訓練する情報処理装置10であって、複数の第1画像20Aに対してx軸及びy軸のうち一方に沿った第1方向に縮小する第1画像処理、x軸及びy軸のうち他方に沿った第2方向に拡大する第2画像処理、又はこれらの組合わせをそれぞれ施した複数の第2画像20Bを生成し、複数の第2画像20Bを用いて学習モデルを訓練する制御部15を備える。
【選択図】図1
特許請求の範囲
【請求項1】
対象物を示す正解ラベルがそれぞれ付与された複数の第1画像を用いて、入力画像に含まれる前記対象物を検出する学習モデルを訓練する情報処理装置であって、
前記複数の第1画像に対してx軸及びy軸のうち一方に沿った第1方向に縮小する第1画像処理、x軸及びy軸のうち他方に沿った第2方向に拡大する第2画像処理、又はこれらの組合わせをそれぞれ施した複数の第2画像を生成し、前記複数の第2画像を用いて前記学習モデルを訓練する制御部
を備える、情報処理装置。
続きを表示(約 1,100 文字)
【請求項2】
請求項1に記載の情報処理装置であって、
前記制御部は、
訓練済みの前記学習モデルに入力画像を入力する際、前記第1画像処理、前記第2画像処理、又はこれらの組合わせを施してから前記入力画像を前記訓練済みの学習モデルに入力し、
前記訓練済みの学習モデルの出力に基づいて、前記第1画像処理が施される前の前記入力画像に含まれる前記対象物を検出し、
前記第1画像処理、前記第2画像処理、又はこれらの組合わせが施される前の前記入力画像に対して、検出された前記対象物を示すマーカを重畳した結果画像を生成する、情報処理装置。
【請求項3】
請求項1に記載の情報処理装置であって、
前記学習モデルは、RPN(Region Proposal Network)を含み、
前記正解ラベルは、前記対象物の前記第1画像上の位置及び形状を示すバウンディングボックスを含み、
前記制御部は、
前記複数の第2画像のそれぞれに複数のアンカーボックスを設定し、
前記複数の第2画像のそれぞれに設定された前記複数のアンカーボックスと、前記第1画像処理によって前記第1方向に縮小された前記バウンディングボックスとの比較に基づいて、前記学習モデルのRPNを訓練する、情報処理装置。
【請求項4】
請求項3に記載の情報処理装置であって、
前記複数の第2画像のそれぞれに含まれる前記対象物の前記第1方向の長さは、前記前記複数の第2画像のそれぞれに設定された各前記アンカーボックスのスケールと略一致する、情報処理装置。
【請求項5】
請求項1に記載の情報処理装置であって、
前記制御部は、前記複数の第1画像に対して、前記第1画像処理及び前記第2画像処理の両方を施すことによって、前記複数の第2画像を生成する、情報処理装置。
【請求項6】
請求項5に記載の情報処理装置であって、
前記複数の第2画像のそれぞれに含まれる前記対象物のアスペクト比が、1:1、2:1又は1:2に略一致する、情報処理装置。
【請求項7】
対象物を示す正解ラベルがそれぞれ付与された複数の第1画像を用いて、入力画像に含まれる前記対象物を検出する学習モデルを訓練する情報処理装置が実行する方法であって、
前記複数の第1画像に対してx軸及びy軸のうち一方に沿った第1方向に縮小する第1画像処理、x軸及びy軸のうち他方に沿った第2方向に拡大する第2画像処理、又はこれらの組合わせをそれぞれ施した複数の第2画像を生成するステップと、
前記複数の第2画像を用いて前記学習モデルを訓練するステップと、
を含む、方法。
発明の詳細な説明
【技術分野】
【0001】
本開示は、情報処理装置及び方法に関する。
続きを表示(約 1,500 文字)
【背景技術】
【0002】
従来、アンカーボックスベースの物体検出に関する技術が知られている。例えば特許文献1には、バウンディングボックスのパラメータの分布に基づいて複数のアンカーボックスのパラメータを決定するパラメータ決定装置について開示されている。
【先行技術文献】
【特許文献】
【0003】
特許第7327508号公報
【発明の概要】
【発明が解決しようとする課題】
【0004】
アンカーボックスベースの物体検出では、バウンディングボックス、すなわち検出したい物体の画像上の形状等に応じて、アンカーボックスに関するハイパーパラメータ(例えばスケール及びアスペクト比)の調整を行うことが望ましい。しかしながら、アンカーボックスに関するハイパーパラメータの調整は一般的に煩雑である。また、利用する学習モデルによっては、そもそもハイパーパラメータが規定値から変更できない場合や、規定値からの変更が推奨されない場合がある。したがって、アンカーボックスベースの物体検出に関する技術には改善の余地があった。
【0005】
かかる事情に鑑みてなされた本開示の目的は、アンカーボックスベースの物体検出に関する技術を改善することにある。
【課題を解決するための手段】
【0006】
本開示の一実施形態に係る情報処理装置は、
対象物を示す正解ラベルがそれぞれ付与された複数の第1画像を用いて、入力画像に含まれる前記対象物を検出する学習モデルを訓練する情報処理装置であって、
前記複数の第1画像に対してx軸及びy軸のうち一方に沿った第1方向に縮小する第1画像処理をそれぞれ施した複数の第2画像を生成し、前記複数の第2画像を用いて前記学習モデルを訓練する制御部を備える。
【0007】
本開示の一実施形態に係る方法は、
対象物を示す正解ラベルがそれぞれ付与された複数の第1画像を用いて、入力画像に含まれる前記対象物を検出する学習モデルを訓練する情報処理装置が実行する方法であって、
前記複数の第1画像に対してx軸及びy軸のうち一方に沿った第1方向に縮小する第1画像処理をそれぞれ施した複数の第2画像を生成するステップと、
前記複数の第2画像を用いて前記学習モデルを訓練するステップと、を含む。
【発明の効果】
【0008】
本開示の一実施形態によれば、アンカーボックスベースの物体検出に関する技術が改善される。
【図面の簡単な説明】
【0009】
本開示の一実施形態に係る情報処理装置の概略構成を示すブロック図である。
複数の対象物を含む第1画像の模式図である。
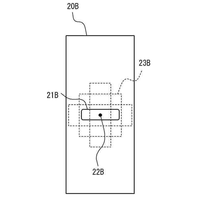
第1画像上の対象物とアンカーボックスを示す模式図である。
情報処理装置の第1動作を示すフローチャートである。
第1画像処理が施された第2画像上の対象物とアンカーボックスを示す模式図である。
第1画像処理及び第2画像処理が施された第2画像上の対象物とアンカーボックスを示す模式図である。
情報処理装置の第2動作を示すフローチャートである。
対象物にマーカが重畳された結果画像の模式図である。
他の実施形態に係る情報処理装置に表示される画面の第1例を示す図である。
他の実施形態に係る情報処理装置に表示される画面の第2例を示す図である。
【発明を実施するための形態】
【0010】
以下、本開示の実施形態について説明する。
(【0011】以降は省略されています)
この特許をJ-PlatPat(特許庁公式サイト)で参照する
関連特許
株式会社Rist
情報処理装置及び方法
2日前
個人
職業自動販売機
28日前
個人
5掛けポイント
1か月前
個人
ペルソナ認証方式
1か月前
個人
情報処理装置
1か月前
個人
立体グラフの利用方法
7日前
個人
生体情報の登録システム
1日前
個人
QRコードによる勤怠管理
今日
個人
インターネットの利用構造
1か月前
個人
データ復元システム
2日前
個人
サービス情報提供システム
1か月前
NISSHA株式会社
入力装置
8日前
個人
学習用データ生成装置
9日前
個人
ナショナルブランド共同ストア
1日前
個人
エリアガイドナビAIシステム
1か月前
日本信号株式会社
情報読取装置
1日前
キヤノン株式会社
情報処理装置
1か月前
キヤノン株式会社
情報処理装置
22日前
キヤノン株式会社
画像認識装置
22日前
株式会社ワコム
電子ペン
1か月前
株式会社ワコム
電子ペン
1か月前
株式会社ケアコム
項目選択装置
1か月前
株式会社ケアコム
項目選択装置
1か月前
キラル株式会社
顧客体験提供システム
10日前
キヤノン株式会社
情報処理装置
22日前
大同大學
スーパーアプリ構築方法
22日前
株式会社ITP
仮想展示システム
16日前
キヤノン電子株式会社
情報処理システム
7日前
株式会社アジラ
行動推定システム
22日前
個人
請求金額算出システム
14日前
トヨタ自動車株式会社
作業計画装置
23日前
PRONI株式会社
受発注支援装置
28日前
アクア株式会社
冷蔵庫
1日前
株式会社フジシール
識別情報利用システム
28日前
株式会社ゼロワン
ケア支援システム
1か月前
PRONI株式会社
受発注支援装置
28日前
続きを見る
他の特許を見る