TOP
|
特許
|
意匠
|
商標
特許ウォッチ
Twitter
他の特許を見る
公開番号
2025179617
公報種別
公開特許公報(A)
公開日
2025-12-10
出願番号
2024086496
出願日
2024-05-28
発明の名称
車載装置
出願人
株式会社オートネットワーク技術研究所
,
住友電装株式会社
,
住友電気工業株式会社
代理人
個人
,
個人
主分類
H04L
12/28 20060101AFI20251203BHJP(電気通信技術)
要約
【課題】通信に関する処理を行うための素子等の電気部品をSIP(System in Package)基板に実装する車載装置を提供する。
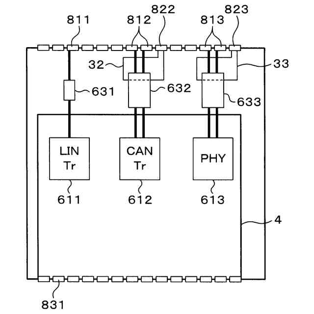
【解決手段】車両に搭載される車載ECU間の通信に関する処理を行う車載装置1であって、車載ECUが接続されるコネクタ51~53と、車両に搭載される電源装置からの電力が供給される電源用コネクタ50と、コネクタに接続され、コネクタの側における基準電位を定めるコネクタ側導体3と、電源回路21に接続され、電源回路の側における基準電位を定める回路側導体(回路GND)4と、コネクタ側導体と回路側導体とに接続されるSIP基板6とを備え、SIP基板は、コネクタに接続される通信部61と、通信部に接続され、車載ECU間の通信に関する処理を行う処理部62と、コネクタと通信部との間に介在する接続素子630~633と、を含み、処理部及び通信部は、回路側導体に接続される。
【選択図】図2
特許請求の範囲
【請求項1】
車両に搭載される車載ECU間の通信に関する処理を行う車載装置であって、
前記車載ECUが接続されるコネクタと、
前記車両に搭載される電源装置からの電力が供給される電源回路と、
前記コネクタに接続され、前記コネクタの側における基準電位を定めるコネクタ側導体と、
前記電源回路に接続され、前記電源回路の側における基準電位を定める回路側導体と、
前記コネクタ側導体と前記回路側導体とに接続されるSIP(System in Package)基板とを備え、
前記SIP基板は、
前記コネクタに接続される通信部と、
前記通信部に接続され、前記車載ECU間の通信に関する処理を行う処理部と、
前記コネクタと前記通信部との間に介在する接続素子とを含み、
前記処理部及び前記通信部は、前記回路側導体に接続される
車載装置。
続きを表示(約 1,400 文字)
【請求項2】
前記接続素子は、
コモンモードチョークコイル又はインダクタを含み、
前記コネクタ側導体と前記回路側導体との間に介在し、いずれか一方にて発生した基準電位の変動を、他方の基準電位に影響することを抑制することにより、前記コネクタ側導体と前記回路側導体とを分離する
請求項1に記載の車載装置。
【請求項3】
前記通信部は、通信プロトコルがCANに対応したCANトランシーバと、イーサネットに対応したイーサネットPHY部とを含み、
前記コネクタ側導体は、前記CANトランシーバが前記接続素子を介して接続されるCAN側導体と、
前記イーサネットPHY部が前記接続素子を介して接続されるイーサネット側導体とを含み、
前記CAN側導体と前記イーサネット側導体とは分離されており、
前記接続素子は、
前記イーサネットPHY部に接続されるイーサネット用接続素子と、
前記CANトランシーバに接続されるCAN用接続素子とを含み、
前記イーサネット用接続素子及び前記CAN用接続素子は、コモンモードチョークコイルである
請求項2に記載の車載装置。
【請求項4】
前記通信部は、通信プロトコルがLINに対応したLINトランシーバを含み、
前記LINトランシーバは、前記接続素子を介して前記CAN側導体に接続され、
前記LINトランシーバに接続される前記接続素子はインダクタである
請求項3に記載の車載装置。
【請求項5】
前記コネクタは、イーサネット用コネクタと、CAN用コネクタとを含み、
前記SIP基板は、
前記イーサネット用コネクタと前記イーサネット用接続素子との間に介在するイーサネット用終端抵抗と、
前記CAN用コネクタと前記CAN用接続素子との間に介在するCAN用終端抵抗とを含み、
前記イーサネット用終端抵抗は、前記イーサネット側導体に接続され、
前記CAN用終端抵抗は、前記CAN側導体に接続される
請求項3に記載の車載装置。
【請求項6】
前記SIP基板が着脱可能に実装される主基板を備え、
前記コネクタ及び前記電源回路は、前記主基板に実装される
請求項1に記載の車載装置。
【請求項7】
前記SIP基板は、
前記コネクタに接続される信号層と、
前記コネクタ側導体に接続されるコネクタ側層と、
前記回路側導体に接続される回路側層とを含む
請求項6に記載の車載装置。
【請求項8】
前記SIP基板は、前記主基板に接続される複数の端子を有し、
前記複数の端子は、
前記信号層に接続される信号端子と、
前記コネクタ側層に接続されるコネクタ側端子と、
前記回路側層に接続される回路側端子とを含み、
前記信号端子と前記コネクタ側端子とは、前記SIP基板における同じ周縁部に配置され、
前記回路側端子は、前記信号端子及び前記コネクタ側端子が配置された周縁部とは、異なる他の周縁部に配置される
請求項7に記載の車載装置。
【請求項9】
前記コネクタ側層に形成されるパターンの幅は、前記信号層に形成されるパターンの幅よりも広い
請求項7に記載の車載装置。
発明の詳細な説明
【技術分野】
【0001】
本開示は車載装置に関する。
続きを表示(約 2,000 文字)
【背景技術】
【0002】
特許文献1には、2つの導線それぞれを伝播する2つの電気信号の電圧差によって表される差動信号を受信する車両用の通信器が開示されている。この通信器では、第1導体の電位を基準電位として、2つの電気信号からノイズを除去する。更に、ノイズが除去された2つの電気信号の電圧差によって表される差動信号を、基準電位が第2導体の電位である電圧信号に変換する。通信器では、コネクタを介して、基準電位が第1導体の電位である電圧が印加される。印加された電圧は、基準電位が第2導体の電位である電圧に変換される。変換された電圧は、差動信号を電圧信号に変換する変換部に印加される。これにより、変換部に電力が供給される。
【先行技術文献】
【特許文献】
【0003】
特開2020-167536号公報
【発明の概要】
【発明が解決しようとする課題】
【0004】
しかしながら、特許文献1に記載の通信器では、通信に関する処理を行うための素子等の電気部品をSIP基板に実装する点について、考慮されていない。
【0005】
本開示は斯かる事情に鑑みてなされたものであり、その目的とするところは、通信に関する処理を行うための素子等の電気部品をSIP(System in Package)基板に実装することができる車載装置を提供することを目的とする。
【課題を解決するための手段】
【0006】
本開示の一態様に係る車載装置は、車両に搭載される車載ECU間の通信に関する処理を行う車載装置であって、前記車載ECUが接続されるコネクタと、前記車両に搭載される電源装置からの電力が供給される電源回路と、前記コネクタに接続され、前記コネクタの側における基準電位を定めるコネクタ側導体と、前記電源回路に接続され、前記電源回路の側における基準電位を定める回路側導体と、前記コネクタ側導体と前記回路側導体とに接続されるSIP(System in Package)基板とを備え、前記SIP基板は、前記コネクタに接続される通信部と、前記通信部に接続され、前記車載ECU間の通信に関する処理を行う処理部と、前記コネクタと前記通信部との間に介在する接続素子とを含み、前記処理部及び前記通信部は、前記回路側導体に接続される。
【発明の効果】
【0007】
本開示の一態様によれば、通信に関する処理を行うための素子等の電気部品をSIP基板に実装する車載装置を提供することができる。
【図面の簡単な説明】
【0008】
実施形態1に係る車両に搭載される車載装置の概要を例示する模式図である。
車載装置が備える主基板及びSIP基板の要部構成を示すブロック図である。
SIP基板に実装された電気部品の回路構成を例示する回路図である。
主基板に対するSIP基板の着脱を例示する説明図である。
サイドスルーホールを用いた端子を備えるSIP基板を例示する説明図である。
コネクタ側層(コネクタ側ベタGND層)を例示する説明図である。
信号層を例示する説明図である。
SIP基板における基板断面イメージを例示する説明図である。
SIP基板における基板断面イメージ(変形例)を例示する説明図である。
実施形態2に係るLGAを用いた端子を備えるSIP基板を例示する説明図である。
コネクタ側層(コネクタ側ベタGND層)を例示する説明図である。
信号層を例示する説明図である。
SIP基板における基板断面イメージを例示する説明図である。
【発明を実施するための形態】
【0009】
[本開示の実施形態の説明]
最初に本開示の実施態様を列挙して説明する。また、以下に記載する実施形態の少なくとも一部を任意に組み合わせてもよい。
【0010】
(1)本開示の一態様に係る車載装置は、車両に搭載される車載ECU間の通信に関する処理を行う車載装置であって、前記車載ECUが接続されるコネクタと、前記車両に搭載される電源装置からの電力が供給される電源回路と、前記コネクタに接続され、前記コネクタの側における基準電位を定めるコネクタ側導体と、前記電源回路に接続され、前記電源回路の側における基準電位を定める回路側導体と、前記コネクタ側導体と前記回路側導体とに接続されるSIP(System in Package)基板とを備え、前記SIP基板は、前記コネクタに接続される通信部と、前記通信部に接続され、前記車載ECU間の通信に関する処理を行う処理部と、前記コネクタと前記通信部との間に介在する接続素子とを含み、前記処理部及び前記通信部は、前記回路側導体に接続される。
(【0011】以降は省略されています)
この特許をJ-PlatPat(特許庁公式サイト)で参照する
関連特許
個人
イヤーピース
1か月前
個人
イヤーマフ
1か月前
個人
監視カメラシステム
1か月前
キーコム株式会社
光伝送線路
1か月前
個人
スイッチシステム
1か月前
個人
スキャン式車載用撮像装置
1か月前
サクサ株式会社
中継装置
2か月前
サクサ株式会社
中継装置
2か月前
キヤノン株式会社
撮像装置
7日前
キヤノン株式会社
撮像装置
7日前
キヤノン株式会社
撮像装置
7日前
キヤノン株式会社
撮像装置
1日前
キヤノン株式会社
撮像装置
1日前
ホシデン株式会社
スピーカ
1日前
キヤノン株式会社
撮像装置
1日前
キヤノン株式会社
撮像装置
14日前
サクサ株式会社
無線通信装置
2か月前
サクサ株式会社
無線システム
2か月前
サクサ株式会社
無線制御装置
1日前
キヤノン電子株式会社
画像読取装置
1か月前
個人
映像表示装置、及びARグラス
1か月前
キヤノン電子株式会社
画像読取装置
1か月前
キヤノン電子株式会社
画像読取装置
1か月前
株式会社リコー
画像形成装置
1か月前
ヤマハ株式会社
放音制御装置
1か月前
個人
ワイヤレスイヤホン対応耳掛け
2か月前
サクサ株式会社
無線通信装置
2か月前
個人
発信機及び発信方法
2か月前
キヤノン株式会社
画像処理装置
1か月前
日本電気株式会社
海底分岐装置
1か月前
キヤノン株式会社
情報処理装置
22日前
キヤノン電子株式会社
シート搬送装置
1か月前
シャープ株式会社
端末装置
1か月前
キヤノン電子株式会社
画像処理システム
1か月前
株式会社NTTドコモ
端末
1か月前
株式会社NTTドコモ
端末
1か月前
続きを見る
他の特許を見る