TOP
|
特許
|
意匠
|
商標
特許ウォッチ
Twitter
他の特許を見る
10個以上の画像は省略されています。
公開番号
2025179557
公報種別
公開特許公報(A)
公開日
2025-12-10
出願番号
2024086388
出願日
2024-05-28
発明の名称
車両用サンバイザ
出願人
共和産業株式会社
代理人
個人
,
個人
主分類
B60J
3/02 20060101AFI20251203BHJP(車両一般)
要約
【課題】車両用サンバイザの生産性を向上させつつも、ボディに対するミラーのがたつきの発生を抑制すること。
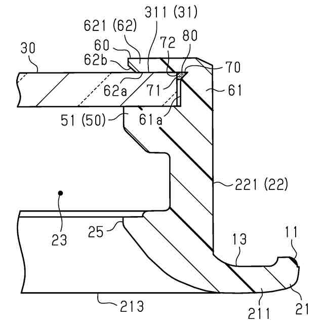
【解決手段】ボディ11は、ミラー周縁部31を保持する保持部50と、保持部50と共にミラー周縁部31を保持するリブ60と、を有している。リブ60は、ミラー周縁部31よりも外側でミラー30の厚み方向へ延在する延在部61と、延在部61に対して折り曲げられてミラー周縁部31における保持部50とは反対側に位置する部位に当接する当接部62と、を有している。当接部62は、延在部61に対して折り曲げられた状態において溶着部80を介して延在部61に固定されている。
【選択図】図7
特許請求の範囲
【請求項1】
樹脂製のボディと、
前記ボディに設けられた板状のミラーと、を備えている車両用サンバイザであって、
前記ミラーは、ミラー周縁部を有し、
前記ボディは、
前記ミラー周縁部を保持する保持部と、
前記保持部と共に前記ミラー周縁部を保持するリブと、を有し、
前記リブは、
前記ミラー周縁部よりも外側で前記ミラーの厚み方向へ延在する延在部と、
前記延在部に対して折り曲げられて前記ミラー周縁部における前記保持部とは反対側に位置する部位に当接する当接部と、を有し、
前記当接部は、前記延在部に対して折り曲げられた状態において溶着部を介して前記延在部に固定されていることを特徴とする車両用サンバイザ。
続きを表示(約 660 文字)
【請求項2】
前記当接部が前記延在部に対して折り曲げられる前の状態では、前記当接部における前記ミラー側に位置する面は、前記延在部における前記ミラー側に位置する面よりも前記ミラー側へ突出していないことを特徴とする請求項1に記載の車両用サンバイザ。
【請求項3】
前記リブは、前記延在部と前記当接部との間に形成される切欠を有し、
前記当接部は、前記切欠を基点にして前記延在部に対して折り曲げられていることを特徴とする請求項1又は請求項2に記載の車両用サンバイザ。
【請求項4】
前記切欠は、
前記延在部から前記当接部に向けて延びる第1面と、
前記当接部から延びるとともに前記第1面における前記当接部側に位置する端に連続する第2面と、を有し、
前記当接部が前記延在部に対して折り曲げられる前の状態において前記第1面と前記第2面とがなす角度は鋭角であることを特徴とする請求項3に記載の車両用サンバイザ。
【請求項5】
前記溶着部は、前記当接部が前記延在部に対して折り曲げられた状態において前記第1面と前記第2面とを溶着していることを特徴とする請求項4に記載の車両用サンバイザ。
【請求項6】
前記当接部における前記延在部とは反対側に位置する端部であって、且つ、前記ミラー側に位置する面は、前記当接部の先端に向かうにつれて前記ミラーから徐々に離間するテーパ状になっていることを特徴とする請求項1又は請求項2に記載の車両用サンバイザ。
発明の詳細な説明
【技術分野】
【0001】
本発明は、車両用サンバイザに関する。
続きを表示(約 2,000 文字)
【背景技術】
【0002】
車両用サンバイザは、樹脂製のボディと、ボディに設けられた板状のミラーと、を備えているものがある。例えば特許文献1では、ボディにミラーの配置領域を限定する囲繞壁を形成するとともに、囲繞壁の前端部にミラーの周縁を受ける受縁を形成している。そして、ミラーの周縁の前側を受縁に当接させるとともに、ミラーの周縁の後側を固定爪と可動爪とで保持する。固定爪と可動爪とは互いに対向して位置するようにボディに形成されるとともに、可動爪は、ミラーの面方向に弾性的に撓み得るようにされている。
【0003】
ミラーをボディに取り付ける際には、まず、ボディの後側から、ミラーを囲繞壁で囲まれた部分に挿入するとともに、ミラーの下縁を下側の受縁と固定爪との間に挿入する。そして、ミラーの上縁を、可動爪を押圧しながら前方へ向けて移動させていく。すると、可動爪がミラーの面方向に弾性的に撓む。これにより、ミラーの上縁が、可動爪を乗り越えるとともに上側の受縁と可動爪との間に挿入される。このようにして、ミラーがボディに取り付けられる。
【先行技術文献】
【特許文献】
【0004】
特許第3074553号公報
【発明の概要】
【発明が解決しようとする課題】
【0005】
しかしながら、特許文献1では、ミラーの板厚や、受縁と固定爪及び可動爪との間の寸法によっては、ボディに対するミラーのがたつきが発生してしまう虞がある。したがって、車両用サンバイザにおいては、生産性を向上させつつも、ボディに対するミラーのがたつきの発生を抑制することが望まれている。
【課題を解決するための手段】
【0006】
上記課題を解決するための各態様を記載する。
[態様1]
樹脂製のボディと、
前記ボディに設けられた板状のミラーと、を備えている車両用サンバイザであって、
前記ミラーは、ミラー周縁部を有し、
前記ボディは、
前記ミラー周縁部を保持する保持部と、
前記保持部と共に前記ミラー周縁部を保持するリブと、を有し、
前記リブは、
前記ミラー周縁部よりも外側で前記ミラーの厚み方向へ延在する延在部と、
前記延在部に対して折り曲げられて前記ミラー周縁部における前記保持部とは反対側に位置する部位に当接する当接部と、を有し、
前記当接部は、前記延在部に対して折り曲げられた状態において溶着部を介して前記延在部に固定されていることを特徴とする車両用サンバイザ。
【0007】
これによれば、リブの当接部がミラー周縁部における保持部とは反対側に位置する部位に当接している。そして、延在部と当接部とが溶着部を介して固定されているため、当接部の姿勢が維持されている。したがって、リブによって、保持部と共にミラー周縁部を安定的に保持することができるため、ボディに対するミラーのがたつきの発生を抑制することができる。そして、当接部が延在部に対して折り曲げられた状態において、当接部を、延在部に対して溶着する。これによれば、例えば、接着剤を用いて、当接部を延在部に対して接着する場合に比べると、当接部を延在部に対して固定する作業を自動化し易くすることができる。以上により、車両用サンバイザの生産性を向上させつつも、ボディに対するミラーのがたつきの発生を抑制することができる。
【0008】
[態様2]
前記当接部が前記延在部に対して折り曲げられる前の状態では、前記当接部における前記ミラー側に位置する面は、前記延在部における前記ミラー側に位置する面よりも前記ミラー側へ突出していないことを特徴とする[態様1]に記載の車両用サンバイザ。
【0009】
これによれば、当接部が延在部に対して折り曲げられる前の状態では、当接部におけるミラー側に位置する面は、延在部におけるミラー側に位置する面よりもミラー側へ突出していない。よって、当接部が延在部に対して折り曲げられる前の状態において、ミラーを保持部に対して配置する際に、ミラーを保持部の上方から配置しても、ミラー周縁部が当接部に干渉しない。したがって、ミラーを保持部に対して配置する作業を一方向から行うことができるため、車両用サンバイザの組み付け作業をさらに自動化し易くすることができる。
【0010】
[態様3]
前記リブは、前記延在部と前記当接部との間に形成される切欠を有し、
前記当接部は、前記切欠を基点にして前記延在部に対して折り曲げられていることを特徴とする[態様1]又は[態様2]に記載の車両用サンバイザ。
(【0011】以降は省略されています)
この特許をJ-PlatPat(特許庁公式サイト)で参照する
関連特許
共和産業株式会社
車両用サンバイザ
1日前
共和産業株式会社
車両用サンバイザ
10か月前
個人
前輪キャスター
3か月前
個人
上部一体型自動車
2か月前
個人
タイヤ脱落防止構造
3か月前
個人
空間形成装置
1か月前
個人
ルーフ付きトライク
4か月前
日本精機株式会社
表示装置
4か月前
日本精機株式会社
表示装置
3か月前
日本精機株式会社
照明装置
1か月前
個人
マスタシリンダ
2か月前
日本精機株式会社
表示装置
4か月前
日本精機株式会社
表示装置
4か月前
個人
常設収納型サンバイザー
1か月前
株式会社ニフコ
収納装置
3か月前
日本精機株式会社
車載表示装置
2か月前
株式会社豊田自動織機
産業車両
4か月前
日本精機株式会社
車室演出装置
3か月前
株式会社ニフコ
照明装置
3か月前
個人
回転窓ワイパー装置
1か月前
日本精機株式会社
車載表示装置
1か月前
日本精機株式会社
車載表示装置
1か月前
日本精機株式会社
画像投映装置
2か月前
日本精機株式会社
車載表示装置
1か月前
株式会社豊田自動織機
産業車両
1か月前
日本精機株式会社
車両用投影装置
今日
極東開発工業株式会社
車両
4か月前
株式会社SUBARU
車両
2か月前
日本精機株式会社
車両用投射装置
2か月前
井関農機株式会社
作業車両
2か月前
個人
聴覚と触覚を利用する速度計
6日前
日本精機株式会社
車両用表示装置
2か月前
日本精機株式会社
車両用表示装置
4か月前
個人
音による速度計とプログラム
1か月前
日本精機株式会社
車両用表示装置
1日前
日本精機株式会社
車両用投影装置
2か月前
続きを見る
他の特許を見る