TOP
|
特許
|
意匠
|
商標
特許ウォッチ
Twitter
他の特許を見る
10個以上の画像は省略されています。
公開番号
2025179399
公報種別
公開特許公報(A)
公開日
2025-12-10
出願番号
2024086119
出願日
2024-05-28
発明の名称
車両用シート装置
出願人
トヨタ車体株式会社
代理人
弁理士法人岡田国際特許事務所
主分類
B60N
2/04 20060101AFI20251203BHJP(車両一般)
要約
【課題】駆動部を極力小型化しつつ、乗降性を確保できるようにすることにある。
【解決手段】駆動部50による支持部40の駆動によって、支持部40に支持されたシート本体60が、ベース部30上の位置から車両下側に下げられた位置に向けて前進移動し且つ逆向きに後退移動する構成とされ、駆動部50は、ベース部30に対して前進方向に向かうにつれて次第に下側を向くように駆動部50を前傾等させられるチルト機構70を介して、ベース部30上に配置されている。
【選択図】図9
特許請求の範囲
【請求項1】
シート本体を支持する支持部と、水平回動可能なベース部と、前記ベース部に対して前記支持部を進退移動可能に支持する駆動部とを備えた車両用シート装置において、
前記駆動部による前記支持部の駆動によって、前記支持部に支持された前記シート本体が、ベース部上の位置から下側に下げられた位置に向けて前進移動し且つ逆向きに後退移動する構成とされ、
前記駆動部は、前記ベース部に対して前進方向に向かうにつれて次第に下側を向くように前記駆動部を前傾又は上側を向くように前記駆動部を後傾させられるチルト機構を介して、前記ベース部上に配置されている車両用シート装置。
続きを表示(約 700 文字)
【請求項2】
前記ベース部には、進退移動する前記支持部を案内する案内部が設けられていると共に、前記案内部には、前進方向に向かうにつれて次第に下側に傾く傾斜部位が設けられており、
前記ベース部に対して前記駆動部の前傾を可能とする前記チルト機構が設けられている請求項1に記載の車両用シート装置。
【請求項3】
前記チルト機構は、前記駆動部の前進方向先端側の第一端部を前記ベース部に対して上下回動可能に連結する回動軸部と、前記第一端部とは逆の前記駆動部の第二端部を上下方向に昇降させる昇降部とを有している請求項2に記載の車両用シート装置。
【請求項4】
前記昇降部は、上下方向に伸縮可能なパンタグラフ機構で構成されている請求項3に記載の車両用シート装置。
【請求項5】
前記ベース部には、進退移動する前記支持部を案内する案内部が設けられていると共に、前記案内部には、前進方向に向かうにつれて次第に下側に傾く傾斜部位が設けられており、
前記支持部は、前記ベース部上で進退方向にスライドするスライド部材と、前記スライド部材に四節リンク機構を介して連結する昇降部材とを有し、前記駆動部の前進方向先端側に前記スライド部材が前進移動して、前記四節リンク機構が前記傾斜部位に案内されて下側に下回動することにより、前記四節リンク機構に連結された前記昇降部材が、前記シート本体を支持した状態で下側に下げられる構成とされ、
前記ベース部に対して前記駆動部の後傾を可能とする前記チルト機構が設けられている請求項1に記載の車両用シート装置。
発明の詳細な説明
【技術分野】
【0001】
本発明は、シート本体を支持する支持部と、水平回動可能なベース部と、ベース部に対して支持部を進退移動可能に支持する駆動部とを備えた車両用シート装置に関する。
続きを表示(約 2,900 文字)
【背景技術】
【0002】
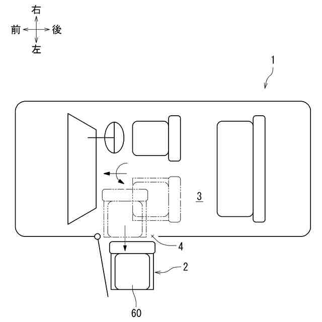
この種の車両用シート装置が特許文献1に記載されている。この文献の車両のシート装置は、水平回動可能なベース部上にシート本体が備えられている。そしてベース部を水平回動させることで、シート本体が、車両前向きの状態からドア開口部を向くようになる。またシート装置では、そのシート本体を、ドア開口部を通じて車両内外方向に進退させられるように構成されている。即ち、ベース部には、縦壁状のガイドブロックが進退方向に延びるように設けられ、このガイドブロックにシート本体が摺動可能に取付けられている。またベース部には、シート本体を進退移動させるボールねじ機構が、ガイドブロックと同じ方向に延びるように設けられている。そしてボールねじ機構をモータで駆動させることにより、シート本体がガイドブロックに沿って車両内外方向に進退移動する。
【0003】
また上記した車両のシート装置では、そのシート本体に設けられたガイド溝に対して、ベース部に設けられたガイドローラが転動可能に嵌められている。このガイド溝は、進退方向に延びるように設けられていると共に、その前進方向の先端側が下側に曲げられている。そしてシート本体が車両外側に前進して、ガイドローラがガイド溝の下側に曲げられた部分を通過することで、シート本体が次第にガイドブロック(ボールねじ機構)に対して下側に傾くようになる。こうして車両外側に前進したシート本体を前下がりの前傾姿勢とすることで、乗降性の確保に資する構成となる。そしてシート本体を車両内側に後退移動させる際には、ボールねじ機構をモータで駆動させることにより、前傾姿勢のシート本体をガイドブロックに沿わせながらベース部上に引き上げていく。
【先行技術文献】
【特許文献】
【0004】
特開2010-89742号公報
【発明の概要】
【発明が解決しようとする課題】
【0005】
ところで車両用シート装置の分野では、室内空間の確保の観点等から、各部材を上下にコンパクト化したいとの要請があり、とりわけモータ(駆動部)の小型化が望まれている。そしてモータのサイズは、通常、シート本体を車両内側に後退させる際に必要とされる最大推力で選定される。しかし上記した構成を単に上下にコンパクト化すると、シート本体の傾き度合いが小さくなるなどして、乗降性を確保し難い。また上記した構成では、前傾姿勢のシート本体が、ガイドブロックとボールねじ機構とに対して傾いている。このため進退時のモータの推力が分力発生により分散するなどして、シート本体に対するガイドブロックの抵抗が大きくなり、駆動部の小型化に一定の限界がある。本発明は上述の点に鑑みて創案されたものであり、本発明が解決しようとする課題は、駆動部を極力小型化しつつ、乗降性を確保できるようにすることにある。
【課題を解決するための手段】
【0006】
上記課題を解決するための手段として、第1発明の車両用シート装置は、シート本体を支持する支持部と、水平回動可能なベース部と、ベース部に対して支持部を進退移動可能に支持する駆動部とを備えている。そして駆動部による支持部の駆動によって、支持部に支持されたシート本体が、ベース部上の位置から下側に下げられた位置に向けて前進移動し且つ逆向きに後退移動する構成とされている。上記した構成では、駆動部を極力小型化しつつ、乗降性を確保できることが望ましい。そこで本発明の駆動部は、ベース部に対して前進方向に向かうにつれて次第に下側を向くように駆動部を前傾又は上側を向くように駆動部を後傾させられるチルト機構を介して、ベース部上に配置されている。本発明によれば、シート構成に応じてチルト機構の働きで駆動部を前後傾させることで、駆動部を小型化しつつも、乗降性を確保できるようになる。即ち、シート構成に応じてチルト機構の働きで駆動部を前後傾させて、支持部に支持されたシート本体の姿勢や高さ位置を変えることにより、乗降性の確保に資する構成となる。更に駆動部を適宜の向きに傾かせて、シート本体を支持する支持部の進退方向に合わせることにより、この駆動部の最大推力低減に資する構成となる。
【0007】
第2発明の車両用シート装置は、第1発明の車両用シート装置において、ベース部には、進退移動する支持部を案内する案内部が設けられていると共に、案内部には、前進方向に向かうにつれて次第に下側に傾く傾斜部位が設けられており、ベース部に対して駆動部の前傾を可能とするチルト機構が設けられている。本発明では、チルト機構の働きで、傾斜部位の傾き(支持部の進退方向)に応じて駆動部を前傾させられるようになり、駆動部の最大推力低減に資する構成となる。
【0008】
第3発明の車両用シート装置は、第2発明の車両用シート装置において、チルト機構は、駆動部の前進方向先端側の第一端部をベース部に対して上下回動可能に連結する回動軸部と、第一端部とは逆の駆動部の第二端部を上下方向に昇降させる昇降部とを有している。本発明では、駆動部の第二端部が昇降部で持ち上げられることで、この駆動部を、第一端部側の回動軸部を基点に前傾させられるようになる。
【0009】
第4発明の車両用シート装置は、第3発明の車両用シート装置において、昇降部は、上下方向に伸縮可能なパンタグラフ機構で構成されている。本発明では、省電力性に優れるパンタグラフ機構を昇降部に使用して駆動部を前傾させられるようになる。
【0010】
第5発明の車両用シート装置は、第1発明の車両用シート装置において、ベース部には、進退移動する支持部を案内する案内部が設けられていると共に、案内部には、前進方向に向かうにつれて次第に下側に傾く傾斜部位が設けられている。また支持部は、ベース部上で進退方向にスライドするスライド部材と、スライド部材に四節リンク機構を介して連結する昇降部材とを有している。そして駆動部の前進方向先端側にスライド部材が前進移動して、四節リンク機構が傾斜部位に案内されて下側に下回動することにより、四節リンク機構に連結された昇降部材が、シート本体を支持した状態で下側に下げられる構成とされている。そこで車両用シート装置には、ベース部に対して駆動部の後傾を可能とするチルト機構が設けられている。本発明では、チルト機構の働きで駆動部を後傾させることにより、駆動部の前進方向先端側に位置するスライド部材を、傾斜部位の車両上側に上げられるようになる。これにより、スライド部材を基点として四節リンク機構が更に下回動できるようになり、昇降部材に支持されたシート本体の高さ位置を下げられるようになる。このため本発明によれば、駆動部を小型化しつつも、シート本体の高さ位置を下げることで乗降性の確保に資する構成となる。
【発明の効果】
(【0011】以降は省略されています)
この特許をJ-PlatPat(特許庁公式サイト)で参照する
関連特許
個人
前輪キャスター
3か月前
個人
上部一体型自動車
2か月前
個人
ルーフ付きトライク
4か月前
個人
空間形成装置
1か月前
個人
タイヤ脱落防止構造
3か月前
日本精機株式会社
照明装置
1か月前
日本精機株式会社
表示装置
4か月前
日本精機株式会社
表示装置
3か月前
日本精機株式会社
表示装置
4か月前
日本精機株式会社
表示装置
4か月前
個人
マスタシリンダ
2か月前
個人
常設収納型サンバイザー
1か月前
日本精機株式会社
車載表示装置
1か月前
株式会社ニフコ
照明装置
3か月前
日本精機株式会社
車室演出装置
3か月前
株式会社豊田自動織機
産業車両
1か月前
日本精機株式会社
車載表示装置
2か月前
日本精機株式会社
画像投映装置
2か月前
日本精機株式会社
車載表示装置
1か月前
株式会社ニフコ
収納装置
3か月前
株式会社豊田自動織機
産業車両
4か月前
日本精機株式会社
車載表示装置
1か月前
個人
回転窓ワイパー装置
1か月前
井関農機株式会社
作業車両
2か月前
日本精機株式会社
車両用投影装置
1日前
日本精機株式会社
車両用表示装置
2か月前
株式会社SUBARU
車両
2か月前
日本精機株式会社
車両用投影装置
2か月前
極東開発工業株式会社
車両
4か月前
個人
聴覚と触覚を利用する速度計
7日前
日本精機株式会社
車両用投射装置
2か月前
日本精機株式会社
車両用表示装置
4か月前
個人
音による速度計とプログラム
1か月前
日本精機株式会社
車両用表示装置
2日前
日本精機株式会社
車両用報知装置
1か月前
個人
自動車の非常ブレーキアシスト
3か月前
続きを見る
他の特許を見る