TOP
|
特許
|
意匠
|
商標
特許ウォッチ
Twitter
他の特許を見る
10個以上の画像は省略されています。
公開番号
2025178747
公報種別
公開特許公報(A)
公開日
2025-12-09
出願番号
2024085536
出願日
2024-05-27
発明の名称
半導体装置及びその製造方法
出願人
RAMXEED株式会社
代理人
個人
主分類
H10B
53/30 20230101AFI20251202BHJP()
要約
【課題】リーク電流を低減できる半導体装置を提供する。
【解決手段】半導体装置100は、イリジウム層12Bと、イリジウム層12B上に設けられ、チタン層、窒化チタン層または窒化酸化チタン層であるチタン含有層12Cと、を含む下部電極12と、前記下部電極12上に設けられたPZT層14と、前記PZT層14上に設けられた上部電極16と、を備える。
【選択図】図1
特許請求の範囲
【請求項1】
イリジウム層と、イリジウム層上に設けられ、チタン層、窒化チタン層または窒化酸化チタン層であるチタン含有層と、を含む下部電極と、
前記下部電極上に設けられたPZT層と、
前記PZT層上に設けられた上部電極と、
を備える、半導体装置。
続きを表示(約 870 文字)
【請求項2】
前記チタン含有層の厚さは10nm以下である、請求項1に記載の半導体装置。
【請求項3】
前記チタン含有層は、前記イリジウム層及び前記PZT層に接している、請求項1または2に記載の半導体装置。
【請求項4】
前記下部電極は、窒化チタンアルミニウム層を含み、前記チタン含有層は、前記窒化チタンアルミニウム層上に設けられている、請求項1または2に記載の半導体装置。
【請求項5】
チタン層、窒化チタン層または窒化酸化チタン層であるチタン含有層と、前記チタン含有層上に接して設けられたイリジウム層と、を含む下部電極と、
前記イリジウム層上に接して設けられたPZT層と、
前記PZT層上に設けられた上部電極と、
を備える半導体装置。
【請求項6】
前記イリジウム層の厚さは、100nm以下である、請求項5に記載の半導体装置。
【請求項7】
前記下部電極は、窒化チタンアルミニウム層を含み、前記イリジウム層は前記窒化チタンアルミニウム層上に設けられている、請求項5または6に記載の半導体装置。
【請求項8】
イリジウム層と、前記イリジウム層の上または下に設けられ、チタン層、窒化チタン層または窒化酸化チタン層であるチタン含有層と、を含む下部電極を形成し、
前記下部電極上に、前記下部電極上に設けられた第1領域におけるZr濃度とTi濃度の合計に対するZr濃度が前記第1領域上に設けられた第2領域におけるZr濃度とTi濃度の合計に対するZr濃度より高いPZT層を形成し、
前記PZT層を熱処理し、
前記PZT層上に上部電極を形成する、
半導体装置の製造方法。
【請求項9】
前記熱処理後における前記第1領域のZr濃度とTi濃度の合計に対するZr濃度は、前記熱処理前における前記第1領域のZr濃度とTi濃度の合計に対するZr濃度より低い、請求項8に記載の半導体装置の製造方法。
発明の詳細な説明
【技術分野】
【0001】
本発明は、半導体装置及びその製造方法に関する。
続きを表示(約 1,600 文字)
【背景技術】
【0002】
下部電極と上部電極との間に、強誘電体層としてPb(Zr,Ti)O
3
(PZT)層を設ける強誘電体キャパシタが知られている(例えば特許文献1及び2)。チタン酸鉛の成長核層上にPZT層を形成するときに、PZT層は下部電極との界面付近が中央部よりZr濃度が低くなる。そこで、PZT層における下部電極との界面付近のZr濃度を向上させるため、電極の近くに中央部よりZr濃度の高いPZT層を下部電極上に形成することが知られている(例えば特許文献1)。
【先行技術文献】
【特許文献】
【0003】
特開2004-207628号公報
特表2002-521848号公報
【発明の概要】
【発明が解決しようとする課題】
【0004】
チタン酸鉛の成長核層を用いないときに、下部電極としてイリジウム層を用いて、イリジウム層上にPZT層を形成すると、下部電極との界面付近におけるPZT層のZr濃度が、PZT層の中央部のZr濃度より高くなる。これにより、下部電極と上部電極との間のリーク電流が増加する。
【0005】
本開示は、リーク電流を低減できる半導体装置及びその製造方法を提供することを目的とする。
【課題を解決するための手段】
【0006】
本開示の実施形態は、イリジウム層と、イリジウム層上に設けられ、チタン層、窒化チタン層または窒化酸化チタン層であるチタン含有層と、を含む下部電極と、前記下部電極上に設けられたPZT層と、前記PZT層上に設けられた上部電極と、を備える、強誘電体キャパシタである。
【0007】
本開示の実施形態は、チタン層、窒化チタン層または窒化酸化チタン層であるチタン含有層と、前記チタン含有層上に接して設けられたイリジウム層と、を含む下部電極と、前記イリジウム層に接して設けられたPZT層と、前記PZT層上に設けられた上部電極と、を備える強誘電体キャパシタである。
【0008】
本開示の実施形態は、イリジウム層と、前記イリジウム層の上または下に設けられ、チタン層、窒化チタン層または窒化酸化チタン層であるチタン含有層と、を含む下部電極を形成し、前記下部電極上に、前記下部電極上に設けられた第1領域におけるZr濃度とTi濃度の合計に対するZr濃度が前記第1領域上に設けられた第2領域におけるZr濃度とTi濃度の合計に対するZr濃度より高いPZT層を形成し、前記PZT層を熱処理し、前記PZT層上に上部電極を形成する、半導体装置の製造方法である。
【発明の効果】
【0009】
本開示によれば、リーク電流を低減することができる。
【図面の簡単な説明】
【0010】
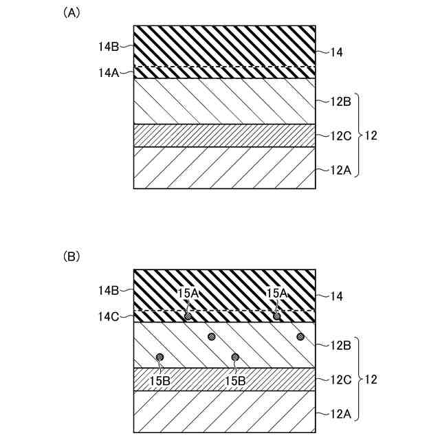
図1は、第1実施形態に係る強誘電体キャパシタの断面図である。
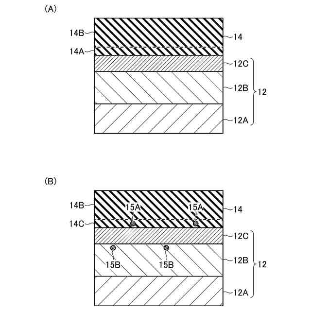
図2は、比較形態に係る強誘電体キャパシタの断面図である。
図3は、実験1における各サンプルのZr/(Zr+Ti)を示す図である。
図4は、第1実施形態の強誘電体キャパシタの製造方法を示すフローチャートである。
図5(A)及び図5(B)は、第1実施形態の製造方法を示す断面図である。
図6(A)及び図6(B)は、実験2におけるリーク電流の累積確率分布を示す図である。
図7は、第1実施形態の第1変形例に係る強誘電体キャパシタの断面図である。
図8は、第1実施形態の第1変形例の強誘電体キャパシタの製造方法を示すフローチャートである。
図9(A)及び図9(B)は、第1実施形態の第1変形例の製造方法を示す断面図である。
図10は、第2実施形態に係る半導体装置の断面図である。
【発明を実施するための形態】
(【0011】以降は省略されています)
この特許をJ-PlatPat(特許庁公式サイト)で参照する
関連特許
ローム株式会社
半導体装置
13日前
三菱電機株式会社
半導体装置
8日前
株式会社東芝
半導体装置
21日前
三菱電機株式会社
半導体装置
2日前
株式会社半導体エネルギー研究所
表示装置
13日前
日亜化学工業株式会社
光源
1日前
ローム株式会社
半導体装置
6日前
サンケン電気株式会社
半導体装置
21日前
新電元工業株式会社
半導体素子
6日前
新電元工業株式会社
半導体素子
6日前
新電元工業株式会社
半導体素子
6日前
日亜化学工業株式会社
発光装置
6日前
株式会社東芝
ウエーハ及び半導体装置
14日前
株式会社東芝
ウエーハ及び半導体装置
14日前
住友電気工業株式会社
炭化珪素半導体装置
13日前
日機装株式会社
電子装置
2日前
RAMXEED株式会社
半導体装置及びその製造方法
2日前
株式会社アイシン
ペロブスカイト太陽電池
6日前
株式会社デンソー
半導体装置
1日前
キヤノン株式会社
有機発光素子及びその製造方法
6日前
アイデックス株式会社
熱電発電器システム
13日前
豊田合成株式会社
光デバイス
7日前
住友電気工業株式会社
窒化物半導体基板の製造方法
8日前
RAMXEED株式会社
半導体装置及びその製造方法
21日前
ローム株式会社
半導体装置および半導体装置の製造方法
14日前
重慶奕能科技有限公司
半導体デバイス
13日前
重慶奕能科技有限公司
半導体デバイス
8日前
重慶奕能科技有限公司
半導体デバイス
8日前
三菱電機株式会社
半導体装置
2日前
スタンレー電気株式会社
発光装置
6日前
スタンレー電気株式会社
圧電デバイス、装置、及び分極処理方法
6日前
株式会社村田製作所
半導体装置及び半導体装置の製造方法
21日前
積水化学工業株式会社
表示素子用封止剤
2日前
株式会社日立製作所
量子デバイス及び量子情報処理装置
6日前
株式会社東芝
半導体装置
6日前
新電元工業株式会社
半導体装置及び半導体装置の製造方法
7日前
続きを見る
他の特許を見る