TOP
|
特許
|
意匠
|
商標
特許ウォッチ
Twitter
他の特許を見る
10個以上の画像は省略されています。
公開番号
2025178374
公報種別
公開特許公報(A)
公開日
2025-12-05
出願番号
2025160929,2022063836
出願日
2025-09-29,2022-04-07
発明の名称
油処理方法及び油処理装置
出願人
王子ホールディングス株式会社
代理人
弁理士法人真田特許事務所
主分類
B26D
7/08 20060101AFI20251128BHJP(切断手工具;切断;切断機)
要約
【課題】紙材が切断されてなる製品の品質を高める。
【解決手段】紙材5を切断刃32で複数の製品3に切り分ける切断パート30に組み込まれた油処理装置1は、給油部6と拭き取部7とを備える。給油部6は、切断刃32の両側の側面34,35の少なくとも一方にオイルを供給する。拭取部7は、側面34,35に供給されたオイルが製品3に触れる前に、製品3以外の掃除材8で当該オイルを拭き取る。
【選択図】図2
特許請求の範囲
【請求項1】
紙材を切断刃で複数の製品に切り分ける切断工程において用いられる油処理方法であって、
前記切断刃の両側の側面の少なくとも一方にオイルを供給する給油工程と、
前記側面に供給された前記オイルが前記製品に触れる前に、前記製品以外の掃除材で当該オイルを拭き取る拭取工程と、を備え、
前記切断工程では、公転する前記切断刃によって前記紙材が複数の前記製品に切り分けられ、
前記給油工程は、前記切断刃が前記紙材の端部であって前記製品とならない耳部を切断する公転周期で、前記耳部の側に位置する前記側面に前記オイルを供給するとともに前記耳部の逆側に位置する前記側面には前記オイルを供給せず、
前記拭取工程は、前記切断刃による前記耳部の切断に伴い、前記耳部の側に位置する前記側面に供給された前記オイルを前記掃除材としての前記耳部で拭き取る
ことを特徴とする油処理方法。
続きを表示(約 1,300 文字)
【請求項2】
前記給油工程は、前記切断刃が前記紙材の一方の前記端部である第一耳部を切断する公転周期で、前記第一耳部の側に位置する一方の前記側面に前記オイルを供給する第一給油工程と、前記切断刃が前記紙材の他方の前記端部である第二耳部を切断する公転周期で、前記第二耳部の側に位置する他方の前記側面に前記オイルを供給する第二給油工程とを含み、
前記拭取工程は、前記切断刃による前記第一耳部の切断に伴い、前記第一給油工程で前記側面に供給された前記オイルを前記掃除材としての前記第一耳部で拭き取る第一拭取工程と、前記切断刃による前記第二耳部の切断に伴い、前記第二給油工程で前記側面に供給された前記オイルを前記掃除材としての前記第二耳部で拭き取る第二拭取工程とを含む
ことを特徴とする請求項1に記載の油処理方法。
【請求項3】
前記給油工程は、前記紙材の前記製品への切り分けが完了してから次の前記紙材の前記製品への切り分けが開始されるまでの紙材交換期間に、両側の前記側面に前記オイルを供給し、
前記拭取工程は、両側の前記側面に供給された前記オイルを、前記紙材とは異なる前記掃除材としての吸油材で前記紙材交換期間に拭き取る
ことを特徴とする請求項1又は2に記載の油処理方法。
【請求項4】
前記切断工程では、公転する前記切断刃によって前記紙材が複数の前記製品に切り分けられ、
前記給油工程は、前記切断刃の前記紙材交換期間における最初の公転時に、両側の前記側面に前記オイルを供給する
ことを特徴とする請求項3に記載の油処理方法。
【請求項5】
前記拭取工程は、前記紙材交換期間内であって前記給油工程の実施後に、前記切断刃の公転回数に応じた複数回にわたって前記吸油材で前記オイルを拭き取る
ことを特徴とする請求項4に記載の油処理方法。
【請求項6】
前記給油工程は、前記拭取工程が実施されてから所定数以上の前記製品が切り分けられた後に再び実施される
ことを特徴とする請求項1又は2に記載の油処理方法。
【請求項7】
紙材を切断刃で複数の製品に切り分ける切断パートに組み込まれた油処理装置であって
、
前記切断刃の両側の側面の少なくとも一方にオイルを供給する給油部と、
前記側面に供給された前記オイルが前記製品に触れる前に、前記製品以外の掃除材で当該オイルを拭き取る拭取部と、を備え、
前記切断パートでは、公転する前記切断刃によって前記紙材が複数の前記製品に切り分けられ、
前記給油部は、前記切断刃が前記紙材の端部であって前記製品とならない耳部を切断する公転周期で、前記耳部の側に位置する前記側面に前記オイルを供給するとともに前記耳部の逆側に位置する前記側面には前記オイルを供給せず、
前記拭取部は、前記切断刃による前記耳部の切断に伴い、前記耳部の側に位置する前記側面に供給された前記オイルを前記掃除材としての前記耳部で拭き取る
ことを特徴とする油処理装置。
発明の詳細な説明
【技術分野】
【0001】
本件は、紙材を切断刃で切断する際に用いられる油処理方法及び油処理装置に関する。
続きを表示(約 3,000 文字)
【背景技術】
【0002】
従来、トイレットペーパーやティシュペーパーといった製品に切り分けられる紙材を切断する種々の手法が知られている。例えば特許文献1には、切断対象となる紙体(紙材)を上下一対の回転するスリッタ刃(切断刃)の間に通すことで紙体を切断する手法が開示されている。特許文献1の手法では、下方のスリッタ刃の刃先部に潤滑剤としての油(オイル)を常時噴霧することで、このスリッタ刃の摩耗を抑えて切れ味を維持し、紙粉の発生を低減するようにしている。
【先行技術文献】
【特許文献】
【0003】
特開2001-179687号公報
【発明の概要】
【発明が解決しようとする課題】
【0004】
しかしながら、特許文献1に記載のようにオイルが常時噴霧される切断刃で紙材を切断すると、切断刃に付着したオイルが紙粉等の汚れと共に紙材に付着する可能性がある。このため、紙材から製造される製品の品質低下を招く虞がある。一方で、切断刃にオイルを供給しなければ、切断刃の切れ味が維持されなくなることで紙材を円滑に切断できなくなる虞がある。よって、この場合も、紙材から製造される製品の品質が低下しうる。
【0005】
本件は、上記のような課題に鑑みて創案されたものであり、紙材が切断されてなる製品の品質を高めることを目的の一つとする。なお、この目的に限らず、後述する「発明を実施するための形態」に示す各構成から導き出される作用および効果であって、従来の技術では得られない作用および効果を奏することも、本件の他の目的として位置付けることができる。
【課題を解決するための手段】
【0006】
本件の油処理方法は、紙材を切断刃で複数の製品に切り分ける切断工程において用いられる油処理方法であって、前記切断刃の両側の側面の少なくとも一方にオイルを供給する給油工程と、前記側面に供給された前記オイルが前記製品に触れる前に、前記製品以外の掃除材で当該オイルを拭き取る拭取工程と、を備えている。
【0007】
本件の油処理装置は、紙材を切断刃で複数の製品に切り分ける切断パートに組み込まれた油処理装置であって、前記切断刃の両側の側面の少なくとも一方にオイルを供給する給油部と、前記側面に供給された前記オイルが前記製品に触れる前に、前記製品以外の掃除材で当該オイルを拭き取る拭取部と、を備えている。
【0008】
(1)
紙材を切断刃で複数の製品に切り分ける切断工程において用いられる油処理方法であって、
前記切断刃の両側の側面の少なくとも一方にオイルを供給する給油工程と、
前記側面に供給された前記オイルが前記製品に触れる前に、前記製品以外の掃除材で当該オイルを拭き取る拭取工程と、を備えた
ことを特徴とする油処理方法。
(2)
前記切断工程では、公転する前記切断刃によって前記紙材が複数の前記製品に切り分けられ、
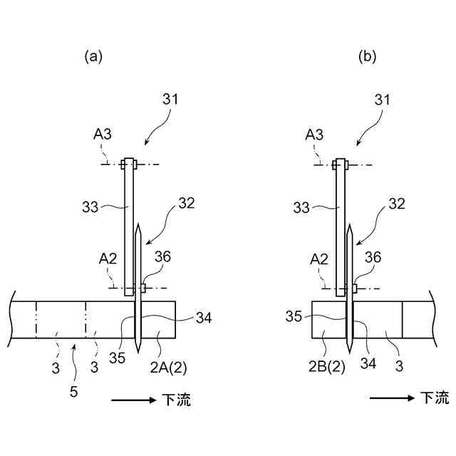
前記給油工程は、前記切断刃が前記紙材の端部であって前記製品とならない耳部を切断する公転周期で、前記耳部の側に位置する前記側面に前記オイルを供給し、
前記拭取工程は、前記切断刃による前記耳部の切断に伴い、前記耳部の側に位置する前記側面に供給された前記オイルを前記掃除材としての前記耳部で拭き取る
ことを特徴とする(1)に記載の油処理方法。
(3)
前記給油工程は、前記切断刃が前記紙材の一方の前記端部である第一耳部を切断する公転周期で、前記第一耳部の側に位置する一方の前記側面に前記オイルを供給する第一給油工程と、前記切断刃が前記紙材の他方の前記端部である第二耳部を切断する公転周期で、前記第二耳部の側に位置する他方の前記側面に前記オイルを供給する第二給油工程とを含み、
前記拭取工程は、前記切断刃による前記第一耳部の切断に伴い、前記第一給油工程で前記側面に供給された前記オイルを前記掃除材としての前記第一耳部で拭き取る第一拭取工程と、前記切断刃による前記第二耳部の切断に伴い、前記第二給油工程で前記側面に供給された前記オイルを前記掃除材としての前記第二耳部で拭き取る第二拭取工程とを含む
ことを特徴とする(2)に記載の油処理方法。
(4)
前記給油工程は、前記紙材の前記製品への切り分けが完了してから次の前記紙材の前記製品への切り分けが開始されるまでの紙材交換期間に、両側の前記側面に前記オイルを供給し、
前記拭取工程は、両側の前記側面に供給された前記オイルを、前記紙材とは異なる前記掃除材としての吸油材で前記紙材交換期間に拭き取る
ことを特徴とする(1)~(3)のいずれか一項に記載の油処理方法。
(5)
前記切断工程では、公転する前記切断刃によって前記紙材が複数の前記製品に切り分けられ、
前記給油工程は、前記切断刃の前記紙材交換期間における最初の公転時に、両側の前記側面に前記オイルを供給する
ことを特徴とする(4)に記載の油処理方法。
(6)
前記拭取工程は、前記紙材交換期間内であって前記給油工程の実施後に、前記切断刃の公転回数に応じた複数回にわたって前記吸油材で前記オイルを拭き取る
ことを特徴とする(5)に記載の油処理方法。
(7)
前記給油工程は、前記拭取工程が実施されてから所定数以上の前記製品が切り分けられた後に再び実施される
ことを特徴とする(1)~(6)のいずれか一項に記載の油処理方法。
(8)
紙材を切断刃で複数の製品に切り分ける切断パートに組み込まれた油処理装置であって、
前記切断刃の両側の側面の少なくとも一方にオイルを供給する給油部と、
前記側面に供給された前記オイルが前記製品に触れる前に、前記製品以外の掃除材で当該オイルを拭き取る拭取部と、を備えた
ことを特徴とする油処理装置。
【発明の効果】
【0009】
本件によれば、紙材が切断されてなる製品の品質を高められる。
【図面の簡単な説明】
【0010】
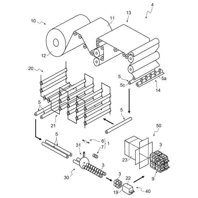
油処理装置が組み込まれた切断パートを含む製造ラインの模式的な斜視図である。
切断パートの模式的な斜視図である。
複数の製品に切り分けられる紙材(ログ)の正面図である。
ログソーの模式的な正面図であり、(a)はログの第一耳部を切断する瞬間を示し、(b)はログの第二耳部を切断する瞬間を示している。
ログソーの模式的な正面図であり、(a)はログの第一耳部を切断する公転周期を示し、(b)はログの第二耳部を切断する公転周期を示している。
紙材交換期間におけるログソーの模式的な正面図である。
油処理方法が用いられる切断工程を含む製造工程のフローチャートである。
切断工程で実施される処理の一例を示すフローチャートである。
切断工程で実施される処理の他の例を示すフローチャートである。
【発明を実施するための形態】
(【0011】以降は省略されています)
この特許をJ-PlatPat(特許庁公式サイト)で参照する
関連特許
個人
曲線カッター
2か月前
個人
ハサミ
5か月前
個人
円弧状刃の包丁
8か月前
有限会社カルチエ
ナイフ
11か月前
個人
理美容はさみ
5か月前
個人
折り畳みナイフ
11か月前
株式会社サボテン
鋏
7か月前
コクヨ株式会社
ハサミ
12か月前
個人
2wayコーナーパンチ
10か月前
福善刃物工業株式会社
鋏
20日前
株式会社和田機械
栗切り機の刃物
3か月前
株式会社文創
切創抑制器具
12か月前
やおき工業株式会社
鋏
5か月前
個人
自動曲機とそれに使用する刃物
2か月前
株式会社フタミ
表面処理装置
7か月前
個人
自動曲機とそれに使用する刃物
1か月前
個人
梳き鋏及び梳き鋏使用方法
1か月前
デュプロ精工株式会社
加工装置
4か月前
トヨタ自動車株式会社
切断装置
10か月前
独立行政法人 国立印刷局
打ち抜き装置
3か月前
株式会社日本キャリア工業
食料切断装置
6か月前
船井電機株式会社
電動器具
4か月前
株式会社日本キャリア工業
食料切断装置
6か月前
株式会社日本キャリア工業
食料切断装置
6か月前
株式会社日本キャリア工業
食料切断装置
5か月前
株式会社日本キャリア工業
食料切断装置
5か月前
株式会社日本キャリア工業
食料切断装置
5か月前
株式会社日本キャリア工業
食料切断装置
10か月前
株式会社村田製作所
切断装置
12日前
デュプロ精工株式会社
用紙積載装置
9か月前
鈴茂器工株式会社
棒状食材切断装置
9か月前
THESTANDBYME合同会社
鋏
5か月前
本田技研工業株式会社
切断装置
2か月前
近畿刃物工業株式会社
切断加工用刃物
6か月前
西川ゴム工業株式会社
薪割り具
10か月前
近畿刃物工業株式会社
切断加工用刃物
6か月前
続きを見る
他の特許を見る