TOP
|
特許
|
意匠
|
商標
特許ウォッチ
Twitter
他の特許を見る
公開番号
2025178336
公報種別
公開特許公報(A)
公開日
2025-12-05
出願番号
2025154002,2024529833
出願日
2025-09-17,2023-08-29
発明の名称
ウエハ載置台及びその使用方法
出願人
日本碍子株式会社
代理人
弁理士法人アイテック国際特許事務所
主分類
H01L
21/683 20060101AFI20251128BHJP(基本的電気素子)
要約
【課題】セラミックプレートと冷却プレートとの間の空洞部を容易に製造できると共にセラミックプレートに熱応力が加わりにくくする。
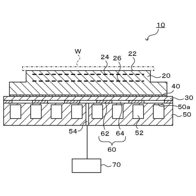
【解決手段】ウエハ載置台10は、セラミックプレート20と、熱拡散プレート30と、第1接着層40と、冷却プレート50と、第2接着層60とを備える。熱拡散プレート30は、セラミックプレート20の下面に設けられている。第1接着層40は、セラミックプレート20と熱拡散プレート30とを接着する。冷却プレート50は、熱拡散プレート30の下面に設けられ、内部に冷媒流路52を有する。第2接着層60は、熱拡散プレート30と冷却プレート50との間に設けられ、熱拡散プレート30と冷却プレート50とを接着する接着部62と熱拡散プレート30と冷却プレート50との間に設けられた隙間である空洞部64とを有する。
【選択図】図2
特許請求の範囲
【請求項1】
上面にウエハ載置面を有し、電極を内蔵するセラミックプレートと、
前記セラミックプレートの下面に設けられた熱拡散プレートと、
前記セラミックプレートと前記熱拡散プレートとを接着する第1接着層と、
前記熱拡散プレートの下面に設けられ、内部に冷媒流路を有する冷却プレートと、
前記熱拡散プレートと前記冷却プレートとの間に設けられ、前記熱拡散プレートと前記冷却プレートとを接着する接着部と前記熱拡散プレートと前記冷却プレートとの間に設けられた隙間である空洞部とが存在する第2接着層と、
を備えたウエハ載置台。
続きを表示(約 950 文字)
【請求項2】
前記冷却プレートは、前記冷却プレートの下面又は側面から前記空洞部に連通する連通路を備える、
請求項1に記載のウエハ載置台。
【請求項3】
前記熱拡散プレートの厚さは、前記冷却プレートのうち前記冷媒流路の天井面と前記冷却プレートの上面との間の厚さよりも厚い、
請求項1又は2に記載のウエハ載置台。
【請求項4】
前記熱拡散プレートの熱伝導率は、前記冷却プレートのうち前記冷媒流路の天井面と前記冷却プレートの上面との間の熱伝導率よりも高い、
請求項1又は2に記載のウエハ載置台。
【請求項5】
前記第1接着層の厚さは、前記第2接着層の厚さよりも薄い、
請求項1又は2に記載のウエハ載置台。
【請求項6】
前記第1接着層の上下方向の熱抵抗は、前記第2接着層のうち前記接着部の上下方向の熱抵抗よりも低い、
請求項1又は2に記載のウエハ載置台。
【請求項7】
平面視したときの前記第2接着層の全面積に対する前記接着部の接着面積の割合は、10%以上50%以下である、
請求項1又は2に記載のウエハ載置台。
【請求項8】
前記空洞部は、熱抵抗の低い状態と高い状態とで切り替え可能である、
請求項1又は2に記載のウエハ載置台。
【請求項9】
請求項1又は2に記載のウエハ載置台の使用方法であって、
前記ウエハ載置面に載置したウエハの冷却を促進したい場合には、前記空洞部を熱伝導率の高い状態に設定し、
前記ウエハ載置面に載置したウエハの冷却を抑制したい場合には、前記空洞部を熱伝導率の低い状態に設定する、
ウエハ載置台の使用方法。
【請求項10】
前記ウエハ載置面に載置したウエハの冷却を促進したい場合には、熱伝導ガスを前記空洞部に充填することにより、前記空洞部を熱伝導率の高い状態に設定し、
前記ウエハ載置面に載置したウエハの冷却を抑制したい場合には、前記空洞部を真空状態にすることにより、前記空洞部を熱伝導率の低い状態に設定する、
請求項9に記載のウエハ載置台の使用方法。
発明の詳細な説明
【技術分野】
【0001】
本発明は、ウエハ載置台及びその使用方法に関する。
続きを表示(約 2,000 文字)
【背景技術】
【0002】
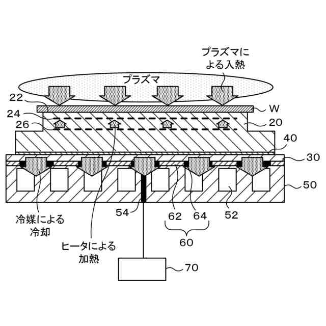
従来、上面にウエハ載置面を有し、電極を内蔵するセラミックプレートと、セラミックプレートの下面に設けられ、内部に冷媒流路を有する冷却プレートとを備えたウエハ載置台が知られている。この種のウエハ載置台において、特許文献1には、冷却プレートの上面に円筒形の凹み部を形成し、セラミックプレートが冷却プレートに載せられた状態で凹み部によって形成された隙間(空洞部)にHe等の伝熱ガスを導入することが記載されている。また、ウエハをエッチングする際には、セラミックプレートと冷却プレートとの間の熱抵抗が大きいとセラミックプレートの温度が上昇してしまい所期の温度にすることが困難となってしまうが、それを解決するために、空洞部に供給される伝熱ガスの圧力を調節することが記載されている。
【先行技術文献】
【特許文献】
【0003】
特開2016-136552号公報
【発明の概要】
【発明が解決しようとする課題】
【0004】
しかしながら、特許文献1では、冷却プレートの上面に凹み部を形成する必要があるため、ウエハ載置台の製造プロセスが煩雑になる。また、セラミックプレートのうち凹部の上方部分と凹部の外縁部分の上方部分とで温度差が生じやすく、セラミックプレートに熱応力が加わりやすかった。
【0005】
本発明はこのような課題を解決するためになされたものであり、セラミックプレートと冷却プレートとの間の空洞部を容易に製造できると共にセラミックプレートに熱応力が加わりにくくすることを主目的とする。
【課題を解決するための手段】
【0006】
[1]本発明のウエハ載置台は、
上面にウエハ載置面を有し、電極を内蔵するセラミックプレートと、
前記セラミックプレートの下面に設けられた熱拡散プレートと、
前記セラミックプレートと前記熱拡散プレートとを接着する第1接着層と、
前記熱拡散プレートの下面に設けられ、内部に冷媒流路を有する冷却プレートと、
前記熱拡散プレートと前記冷却プレートとの間に設けられ、前記熱拡散プレートと前記冷却プレートとを接着する接着部及び前記熱拡散プレートと前記冷却プレートとの間に設けられた隙間である空洞部とが存在する第2接着層と、
を備えたものである。
【0007】
このウエハ載置台は、接着部と空洞部とが存在する第2接着層を備えている。このように第2接着層に空洞部を設けたため、従来のように冷却プレートの上面に凹み部(空洞部)を形成する必要がなく、空洞部を容易に製造することができる。また、第2接着層のうち接着部と空洞部とでは上下方向の熱抵抗に差があるため、セラミックプレートのうち接着部の直上部分と空洞部の直上部分とでは温度差が生じやすいが、ここでは第2接着層の上面に熱拡散プレートが配置されている。この熱拡散プレートの存在により、セラミックプレートのうち接着部の直上部分と空洞部の直上部分との温度差は緩和される。したがって、セラミックプレートに熱応力が加わりにくい。
【0008】
なお、本明細書では、上下、左右、前後などを用いて本発明を説明することがあるが、上下、左右、前後は、相対的な位置関係に過ぎない。そのため、ウエハ載置台の向きを変えた場合には上下が左右になったり左右が上下になったりすることがあるが、そうした場合も本発明の技術的範囲に含まれる。
【0009】
[2]本発明のウエハ載置台(前記[1]に記載のウエハ載置台)は、前記冷却プレートの下面又は側面から前記空洞部に連通する連通路を備えていてもよい。こうすれば、例えば、連通路を介して空洞部を熱伝導率の高い状態と低い状態とで切り替えることができる。例えば、ウエハを効率よく冷やしたい場合(プラズマでウエハを処理する場合など)には空洞部を熱伝導率の高い状態にして冷媒によるウエハの冷却を促進させる。また、ウエハを冷やしたくない場合(プラズマを発生していない場合など)には空洞部を熱伝導率の低い状態にして冷媒によるウエハの冷却を抑制する。また、例えば、Heガスのような熱伝導ガスを空洞部に充填すれば空洞部を熱伝導率の高い状態にすることができ、空洞部を真空にすれば空洞部を熱伝導率の低い状態にすることができる。
【0010】
[3]本発明のウエハ載置台(前記[1]又は[2]に記載のウエハ載置台)において、前記熱拡散プレートの厚さは、前記冷却プレートのうち前記冷媒流路の天井面と前記冷却プレートの上面との間の厚さよりも厚くてもよい。こうすれば、熱拡散プレートにおける水平方向の熱拡散を十分に行うことができるため、セラミックプレートのうち接着部の直上部分と空洞部の直上部分との温度差をより緩和しやすい。
(【0011】以降は省略されています)
この特許をJ-PlatPat(特許庁公式サイト)で参照する
関連特許
日本碍子株式会社
蒸発器
7日前
日本碍子株式会社
熱交換器
2か月前
日本碍子株式会社
把持方法
2か月前
日本碍子株式会社
熱交換器
1か月前
日本碍子株式会社
ウエハ載置台
1か月前
日本碍子株式会社
搬送ユニット
1日前
日本碍子株式会社
匣鉢把持装置
1日前
日本碍子株式会社
亜鉛二次電池
1か月前
日本碍子株式会社
空調システム
1か月前
日本碍子株式会社
回収システム
7日前
日本碍子株式会社
電気化学セル
29日前
日本碍子株式会社
ハニカム構造体
1か月前
日本碍子株式会社
ハニカム構造体
2か月前
日本碍子株式会社
ハニカム構造体
1か月前
日本碍子株式会社
電気加熱式担体
1か月前
日本碍子株式会社
電気加熱式担体
1か月前
日本碍子株式会社
ハニカム構造体
1か月前
日本碍子株式会社
セラミックヒータ
8日前
日本碍子株式会社
ハニカムフィルタ
1か月前
日本碍子株式会社
アルカリ二次電池
2か月前
日本碍子株式会社
メタン製造反応器
1か月前
日本碍子株式会社
車両用空調システム
7日前
日本碍子株式会社
車両用調湿システム
7日前
日本碍子株式会社
三相型ハニカムヒータ
1か月前
日本碍子株式会社
セラミックサセプター
1か月前
日本碍子株式会社
ウォーキングビーム炉
1か月前
日本碍子株式会社
半導体製造装置用ヒータ
1か月前
日本碍子株式会社
浄水膜構造体の製造方法
1か月前
日本碍子株式会社
センサ素子及びガスセンサ
1か月前
日本碍子株式会社
セラミックス部材の製造方法
1か月前
日本碍子株式会社
センサ素子およびガスセンサ
2か月前
日本碍子株式会社
ロボットハンドおよびロボット
2か月前
日本碍子株式会社
セラミックス試料の酸分解方法
1か月前
日本碍子株式会社
ロボットハンドおよびロボット
2か月前
日本碍子株式会社
AlN単結晶基板及びデバイス
2か月前
日本碍子株式会社
浄水膜構造体および浄水膜組立体
1か月前
続きを見る
他の特許を見る