TOP
|
特許
|
意匠
|
商標
特許ウォッチ
Twitter
他の特許を見る
公開番号
2025178138
公報種別
公開特許公報(A)
公開日
2025-12-05
出願番号
2025072387
出願日
2025-04-24
発明の名称
中空コンポーネント用加工ツール位置付けシステム
出願人
ジーイー・ベルノバ・テクノロジー・ゲーエムベーハー
,
GE Vernova Technology GmbH
代理人
個人
,
弁理士法人NIP&SBPJ国際特許事務所
主分類
B23Q
1/26 20060101AFI20251128BHJP(工作機械;他に分類されない金属加工)
要約
【課題】人間の作業者が中空領域に接近する必要のない加工ツール位置付けシステムおよび加工システムを提供すること。
【解決手段】加工ツール位置付けシステムは、加工対象である中空コンポーネントに対して回転自在に取り付けられるよう構成される支柱を含む。ベース部材は、支柱に対して摺動的に取り付けられる。第1のアクチュエータは、支柱に対してベース部材を選択的かつ摺動的に移動させるよう構成される。ツールスライドレールは、ベース部材に結合され、支柱に対して垂直に延在する。加工ツールスライドマウントは、ツールスライドレールに摺動的に結合され、レールに対して加工ツールを位置付けるよう構成される。第2のアクチュエータは、第1の端部においてベース部材に結合され、第2の端部において加工ツールスライドマウントに結合され、レールに沿って加工ツールスライドマウントを選択的に移動させるよう構成される。
【選択図】図5
特許請求の範囲
【請求項1】
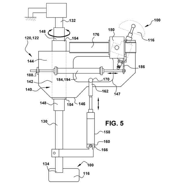
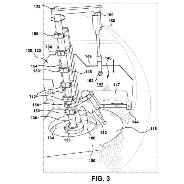
加工ツール位置付けシステム(122)であって、
支柱(130)と、
前記支柱(130)に対して摺動的に取り付けられるベース部材(140)と、
第1のアクチュエータ(158)であって、前記第1のアクチュエータ(158)の第1の端部(160)において前記支柱(130)に固定的に結合され、前記第1のアクチュエータ(158)の第2の端部(162)において前記ベース部材(140)に結合され、前記支柱(130)に対して前記ベース部材(140)を選択的かつ摺動的に移動させるよう構成される、第1のアクチュエータ(158)と、
前記ベース部材(140)に結合され、前記支柱(130)に対して垂直に延在するツールスライドレール(176)と、
前記ツールスライドレール(176)に摺動的に結合される加工ツールスライドマウント(180)と、
第2のアクチュエータ(184)であって、前記第2のアクチュエータ(184)の第1の端部(186)において前記ベース部材(140)に結合され、前記第2のアクチュエータ(184)の第2の端部(188)において前記加工ツールスライドマウント(180)に結合され、前記ツールスライドレール(176)に沿って前記加工ツールスライドマウント(180)を選択的に移動させるよう構成される、第2のアクチュエータ(184)と、
を備える、加工ツール位置付けシステム(122)。
続きを表示(約 1,600 文字)
【請求項2】
請求項1に記載の加工ツール位置付けシステム(122)であって、
前記ベース部材(140)は、
第1の端部(144)および第2の端部(146)を有するベースプレート(142)と、
前記支柱(130)に固定的に結合されるベーススライドレール(148)と、
前記ベーススライドレール(148)に前記ベースプレート(142)を摺動的に結合するスライドマウント(154)と、
を含み、
前記支柱(130)は、取付端部(134)を含み、前記スライドマウント(154)は、前記ベースプレート(142)の第1の端部(144)が前記支柱(130)の取付端部(134)と対向している第1の位置、および前記ベースプレート(142)の第2の端部(146)が前記支柱(130)の取付端部(134)と対向している第2の位置のいずれか一方において、前記ベーススライドレール(148)に前記ベースプレート(142)を選択的かつ摺動的に取り付けるよう構成される、加工ツール位置付けシステム(122)。
【請求項3】
請求項1または2に記載の加工ツール位置付けシステム(122)であって、前記支柱(130)に作動的に結合され、特に前記支柱(130)を選択的に回転させるモータ(210)をさらに備える、加工ツール位置付けシステム(122)。
【請求項4】
請求項1乃至3のいずれか1項に記載の加工ツール位置付けシステム(122)であって、前記第1のアクチュエータ(158)は、1つの単一の複動式リニアアクチュエータ(194)を含み、前記第2のアクチュエータ(184)は、収縮リニアアクチュエータ(190)および伸張リニアアクチュエータ(192)を含む、加工ツール位置付けシステム(122)。
【請求項5】
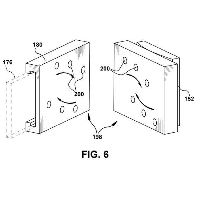
請求項1乃至4のいずれか1項に記載の加工ツール位置付けシステム(122)であって、前記加工ツールスライドマウント(180)は、結合された加工ツール(152)を、複数の角度位置で、特に前記支柱(130)に対して選択的に位置付けるよう構成される調整可能マウント(198)を含む、加工ツール位置付けシステム(122)。
【請求項6】
請求項1乃至5のいずれか1項に記載の加工ツール位置付けシステム(122)であって、前記第1のアクチュエータ(158)および前記第2のアクチュエータ(184)を制御するための制御システム(220)をさらに備える、加工ツール位置付けシステム(122)。
【請求項7】
請求項6に記載の加工ツール位置付けシステム(122)であって、請求項2に記載の特徴を含むとき、前記制御システム(220)は、前記モータ(210)を制御するようさらに構成される、加工ツール位置付けシステム(122)。
【請求項8】
請求項1乃至7のいずれか1項に記載の加工ツール位置付けシステム(122)であって、前記第1のアクチュエータ(158)および前記第2のアクチュエータ(184)は、各々ステッパモータを含む、加工ツール位置付けシステム(122)。
【請求項9】
請求項1乃至8のいずれか1項に記載の加工ツール位置付けシステム(122)であって、前記支柱(130)に対して位置付けられて、加工ツール(152)の動作を撮影する少なくとも1つのカメラ(230)と、前記少なくとも1つのカメラ(230)からの画像を表示するよう構成されるビデオディスプレイ(232)とをさらに備える、加工ツール位置付けシステム(122)。
【請求項10】
請求項1乃至9のいずれか1項に記載の加工ツール位置付けシステムであって(122)、三次元空間における加工ツール(152)の位置を検知するよう構成されるデジタル位置推定システム(226)をさらに備える、加工ツール位置付けシステム(122)。
(【請求項11】以降は省略されています)
発明の詳細な説明
【技術分野】
【0001】
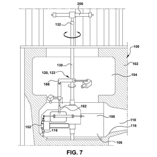
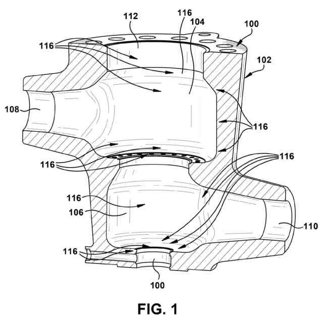
本開示は、概して加工システムに関する。より詳細には、本開示は、特許請求の範囲に記載の、制御弁ケーシングなどの中空コンポーネント用加工ツール位置付けシステムおよび加工システムに関する。
続きを表示(約 1,800 文字)
【背景技術】
【0002】
大型の工業用コンポーネントには、長期にわたる使用の後、ひび割れが生じることがある。ひび割れは、ひびを除去し、肉盛りあるいは溶接を用いて、除去した箇所を材料で置き換え、ひびを修理するという加工により修理することができる。いくつかの工業用コンポーネントにおいては、長期にわたる使用により、中空コンポーネント内部の面など、接近することが困難な場所にひびが入る。中空コンポーネントの一例としては、蒸気タービン用の大型の主蒸気止弁および制御弁ケーシングがあり、下部チャンバに流体結合される上部チャンバを含み得る。上部および下部チャンバは、各々蒸気出入口開口部と、制御弁体の部品用開口部とを含む。また、上部および下部チャンバは、長期にわたる使用の後にひび割れしやすいおそれのある様々な面を含む。弁ケーシング内の面を加工するためには、弁ケーシングから制御弁体が取り外され、人間の加工作業者が、加工対象面に接近するために、加工ツールを持って、複数あるチャンバのうちの1つ以上のチャンバ内の中空領域に入る。1つまたは複数の中空領域に入ると、作業者は、非常に居心地が悪く狭苦しい位置にいる可能性がある。
【発明の概要】
【0003】
本明細書にて主張される発明は、添付の特許請求の範囲に記載されている。
【0004】
後述のすべての態様、実施例、および特徴は、任意の技術的に可能な方法で組み合わせることができる。
【0005】
本開示の態様には中空コンポーネント用の加工システムが含まれ、加工システムは、中空コンポーネントに対して回転自在に取り付けられるよう構成される支柱と、支柱に対して摺動的に取り付けられるベース部材と、第1の端部において支柱に固定的に結合され、第2の端部においてベース部材に結合される第1のアクチュエータであって、支柱に対してベース部材を選択的かつ摺動的に移動させるよう構成される第1のアクチュエータと、ベース部材に結合され、支柱に対して垂直に延在するツールスライドレールと、ツールスライドレールに摺動的に結合される加工ツールスライドマウントと、第1の端部においてベース部材に結合され、第2の端部において加工ツールスライドマウントに結合される第2のアクチュエータであって、ツールスライドレールに沿って加工ツールスライドマウントを選択的に移動させるよう構成される第2のアクチュエータと、加工ツールスライドマウントに結合される加工ツールとを備える。
【0006】
本開示の別の態様には前述の態様のいずれかが含まれ、ベース部材は、第1の端部および第2の端部を有するベースプレートと、支柱に固定的に結合されるベーススライドレールと、ベーススライドレールにベースプレートを摺動的に結合するスライドマウントとを含み、支柱は、中空コンポーネントに対して回転自在に取り付けられる取付端部を含み、スライドマウントは、ベースプレートの第1の端部が支柱の取付端部と対向している第1の位置、およびベースプレートの第2の端部が支柱の取付端部と対向している第2の位置のいずれか一方において、ベーススライドレールにベースプレートを選択的かつ摺動的に取り付ける。
【0007】
本開示の別の態様には前述の態様のいずれかが含まれ、中空コンポーネントに対して固定され、支柱に作動的に結合されて、中空コンポーネントに対して支柱、ベース部材、および加工ツールを選択的に回転させるモータをさらに備える。
【0008】
本開示の別の態様には前述の態様のいずれかが含まれ、第1のアクチュエータは、単一の複動式リニアアクチュエータを含み、第2のアクチュエータは、収縮リニアアクチュエータおよび伸張リニアアクチュエータを含む。
【0009】
本開示の別の態様には前述の態様のいずれかが含まれ、加工ツールスライドマウントは、中空コンポーネントに対して複数の角度位置で加工ツールを選択的に位置付けるよう構成される調整可能マウントを含む。
【0010】
本開示の別の態様には前述の態様のいずれかが含まれ、第1および第2のアクチュエータならびに加工ツールを制御するための制御システムをさらに備える。
(【0011】以降は省略されています)
この特許をJ-PlatPat(特許庁公式サイト)で参照する
関連特許
個人
フライス盤
2か月前
麗豊実業股フン有限公司
ラクトバチルス・パラカセイNB23菌株及びそれを筋肉量の増加や抗メタボリック症候群に用いる用途
6か月前
株式会社北川鉄工所
回転装置
5か月前
日東精工株式会社
ねじ締め機
3か月前
日東精工株式会社
ねじ締め機
6か月前
日東精工株式会社
ねじ締め機
2か月前
日東精工株式会社
ねじ締め機
1か月前
日東精工株式会社
ねじ締め装置
2か月前
株式会社ダイヘン
溶接電源装置
4か月前
株式会社ダイヘン
溶接電源装置
4か月前
株式会社ダイヘン
溶接電源装置
4か月前
キヤノン電子株式会社
加工装置
1か月前
日東精工株式会社
ねじ締め装置
5か月前
ダイニチ工業株式会社
配膳治具
1か月前
株式会社FUJI
工作機械
2か月前
株式会社FUJI
工作機械
5か月前
株式会社FUJI
工作機械
5か月前
日東精工株式会社
ねじ整列トレー
25日前
株式会社FUJI
工作機械
1か月前
個人
切削油供給装置
3か月前
個人
型枠製造装置のフレーム
2か月前
中国電力株式会社
養生シート
1か月前
睦月電機株式会社
金属表面処理方法
1か月前
キヤノン電子株式会社
加工システム
3か月前
株式会社アンド
半田付け方法
3か月前
株式会社富田製作所
支持構造
1か月前
村田機械株式会社
レーザ加工機
6か月前
村田機械株式会社
レーザ加工機
6か月前
株式会社ツガミ
工作機械
3か月前
大見工業株式会社
ドリル
4か月前
株式会社トヨコー
被膜除去方法
6か月前
株式会社向洋技研
スタッドの製造方法
1か月前
株式会社ダイヘン
溶接装置
5か月前
株式会社ダイヘン
溶接装置
11日前
トヨタ自動車株式会社
溶接ヘッド
6か月前
株式会社不二越
ブローチ盤
2か月前
続きを見る
他の特許を見る