TOP
|
特許
|
意匠
|
商標
特許ウォッチ
Twitter
他の特許を見る
公開番号
2025177269
公報種別
公開特許公報(A)
公開日
2025-12-05
出願番号
2024083932
出願日
2024-05-23
発明の名称
浴室除菌システム
出願人
株式会社ノーリツ
代理人
個人
主分類
A61L
2/26 20060101AFI20251128BHJP(医学または獣医学;衛生学)
要約
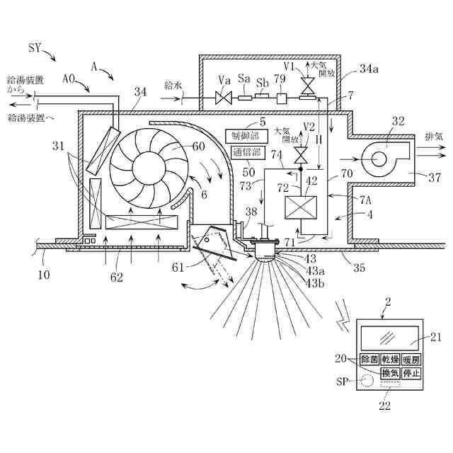
【課題】除菌水散布工程や非除菌水散布工程が終了した後に除菌水・非除菌水散布装置のノズルから浴室入室者上などに水滴が落下することを適切に防止または抑制することが可能な浴室除菌システムを提供する。
【解決手段】浴室1の上部に位置するノズル43から浴室1に除菌水および非除菌水をそれぞれ散布する除菌水散布工程および非除菌水散布工程を実行可能な除菌水・非除菌水散布装置4と、浴室1への送風が可能な送風装置6と、を備えている、浴室除菌システムSYであって、除菌水散布工程および非除菌水散布工程の少なくとも一方が終了した後において、送風装置6は、ノズル43に付着している水滴を除去または減少させるべくノズル43に向けて所定時間以上にわたって送風を行なう水滴除去動作を実行する。
【選択図】 図1
特許請求の範囲
【請求項1】
浴室の上部に位置するノズルを備えており、かつ前記ノズルから前記浴室に除菌水および非除菌水をそれぞれ散布する除菌水散布工程および非除菌水散布工程を実行可能な除菌水・非除菌水散布装置と、
前記浴室への送風が可能な送風装置と、
を備えている、浴室除菌システムであって、
前記除菌水散布工程および前記非除菌水散布工程の少なくとも一方が終了した後において、前記送風装置は、前記ノズルに付着している水滴を除去または減少させるべく前記ノズルに向けて所定時間以上にわたって送風を行なう水滴除去動作を実行するように構成されていることを特徴とする、浴室除菌システム。
続きを表示(約 510 文字)
【請求項2】
請求項1に記載の浴室除菌システムであって、
前記浴室の除菌処理として、前記除菌水散布工程が実行された後に、前記浴室に散布された除菌水の洗い流し工程としての前記非除菌水散布工程が実行可能とされており、
前記水滴除去動作は、前記除菌水の洗い流し工程の終了後に実行されるように構成されている、浴室除菌システム。
【請求項3】
請求項2に記載の浴室除菌システムであって、
前記浴室の換気用ファンを、さらに備えており、
前記除菌水の洗い流し工程の終了後には、前記換気用ファンが動作して前記浴室を換気する浴室換気工程が実行されるように構成されており、
前記水滴除去動作は、前記浴室換気工程中に実行されるように構成されている、浴室除菌システム。
【請求項4】
請求項1に記載の浴室除菌システムであって、
前記送風装置は、送風方向を変更可能な可動式のルーバを備えており、
前記ルーバは、前記水滴除去動作時においては、前記ルーバからの送風が前記ノズルに直接当たる向きに固定されるように構成されている、浴室除菌システム。
発明の詳細な説明
【技術分野】
【0001】
本発明は、オゾン水などの除菌水を用いて浴室を除菌可能な浴室除菌システムに関する。
続きを表示(約 1,700 文字)
【背景技術】
【0002】
浴室除菌システムの具体例として、たとえば特許文献1,2に記載のものがある。
これらの文献に記載された浴室除菌システムは、浴室の上部に位置するノズルから浴室に向けて除菌水であるオゾン水を散布する除菌水散布工程、および非除菌水である水道水などの一般の水を散布する非除菌水散布工程が実行可能な除菌水・非除菌水散布装置を備えている。
このような構成によれば、オゾン水を利用して浴室を除菌した後に、非オゾン水である一般の水を浴室に散布し、浴室のオゾン水を洗い流すことができる。したがって、浴室に多くのオゾン水ならびにこのオゾン水から遊離したオゾンガスが長時間にわたって滞留しないようにすることができる。浴室におけるオゾンガス濃度が高いと、オゾン特有の臭いが強くなってユーザが不快な思いをするばかりか、ユーザの健康に害を及ぼす虞がある。これに対し、前記構成によれば、そのような虞を抑制可能である。
【0003】
しかしながら、前記従来技術においては、次に述べるように、未だ改善すべき余地があった。
【0004】
すなわち、除菌水・非除菌水散布装置を利用した除菌水散布工程や非除菌水散布工程を実行し終わった後には、ノズルの外表面に付着している水滴が下方に落下する虞がある。一方、ノズルは浴室の上部に設置されている。このため、ノズルの外表面の水滴は、たとえば入浴者などの浴室入室者上に落下し、この浴室入室者に不快感を生じさせる虞がある。このような虞は、適切に解消できるようにすることが望まれる。
【先行技術文献】
【特許文献】
【0005】
特開2020-48858号公報
特開2019-166278号公報
【発明の概要】
【発明が解決しようとする課題】
【0006】
本発明は、前記したような事情のもとで考え出されたものであり、除菌水散布工程や非除菌水散布工程が終了した後に除菌水・非除菌水散布装置のノズルから水滴が落下することを適切に防止または抑制することが可能な浴室除菌システムを提供することを、その課題としている。
【課題を解決するための手段】
【0007】
上記の課題を解決するため、本発明では、次の技術的手段を講じている。
【0008】
本発明により提供される浴室除菌システムは、浴室の上部に位置するノズルを備えており、かつ前記ノズルから前記浴室に除菌水および非除菌水をそれぞれ散布する除菌水散布工程および非除菌水散布工程を実行可能な除菌水・非除菌水散布装置と、前記浴室への送風が可能な送風装置と、を備えている、浴室除菌システムであって、前記除菌水散布工程および前記非除菌水散布工程の少なくとも一方が終了した後において、前記送風装置は、前記ノズルに付着している水滴を除去または減少させるべく前記ノズルに向けて所定時間
以上にわたって送風を行なう水滴除去動作を実行するように構成されていることを特徴としている。
【0009】
このような構成によれば、次のような効果が得られる。
すなわち、除菌水散布工程および非除菌水散布工程の少なくとも一方が終了した後には、送風装置によって水滴除去動作が実行され、除菌水・非除菌水散布装置のノズルに付着している水滴を送風により除去または減少させることが可能である。したがって、ノズルから浴室入室者上に水滴が落下して浴室入室者に不快感を生じさせるなどの不具合を、適切に防止または抑制することができる。
【0010】
本発明において、好ましくは、前記浴室の除菌処理として、前記除菌水散布工程が実行された後に、前記浴室に散布された除菌水の洗い流し工程としての前記非除菌水散布工程が実行可能とされており、前記水滴除去動作は、前記除菌水の洗い流し工程の終了後に実行されるように構成されている。
(【0011】以降は省略されています)
この特許をJ-PlatPat(特許庁公式サイト)で参照する
関連特許
株式会社ノーリツ
浴室除菌システム
3日前
株式会社ノーリツ
浴室除菌システム
3日前
株式会社ノーリツ
浴室用の除菌水散布装置およびこれを備えた浴室システム
3日前
個人
貼付剤
1か月前
個人
簡易担架
24日前
個人
短下肢装具
4か月前
個人
足踏み器具
1か月前
個人
腋臭防止剤
24日前
個人
前腕誘導装置
4か月前
個人
排尿補助器具
1か月前
個人
嚥下鍛錬装置
5か月前
個人
歯の修復用材料
5か月前
個人
汚れ防止シート
2か月前
個人
テスト肺
5日前
個人
アイマスク装置
3か月前
個人
腰ベルト
1か月前
個人
胸骨圧迫補助具
3か月前
個人
矯正椅子
6か月前
個人
水分吸収性物品
3日前
個人
バッグ式オムツ
5か月前
個人
ウォート指圧法
1か月前
個人
排尿排便補助器具
26日前
個人
湿布連続貼り機。
3か月前
個人
哺乳瓶冷まし容器
4か月前
個人
美容セット
1か月前
個人
介護移乗アシスト
3日前
個人
陣痛緩和具
5か月前
個人
歯の保護用シール
6か月前
個人
治療用酸化防御装置
2か月前
個人
エア誘導コルセット
3か月前
株式会社八光
剥離吸引管
6か月前
個人
性行為補助具
4か月前
株式会社コーセー
化粧料
1か月前
株式会社大野
骨壷
5か月前
株式会社ニデック
眼科装置
2か月前
株式会社ニデック
眼科装置
2か月前
続きを見る
他の特許を見る