TOP
|
特許
|
意匠
|
商標
特許ウォッチ
Twitter
他の特許を見る
公開番号
2025177272
公報種別
公開特許公報(A)
公開日
2025-12-05
出願番号
2024083936
出願日
2024-05-23
発明の名称
浴室用の除菌水散布装置およびこれを備えた浴室システム
出願人
株式会社ノーリツ
代理人
個人
主分類
A61L
2/18 20060101AFI20251128BHJP(医学または獣医学;衛生学)
要約
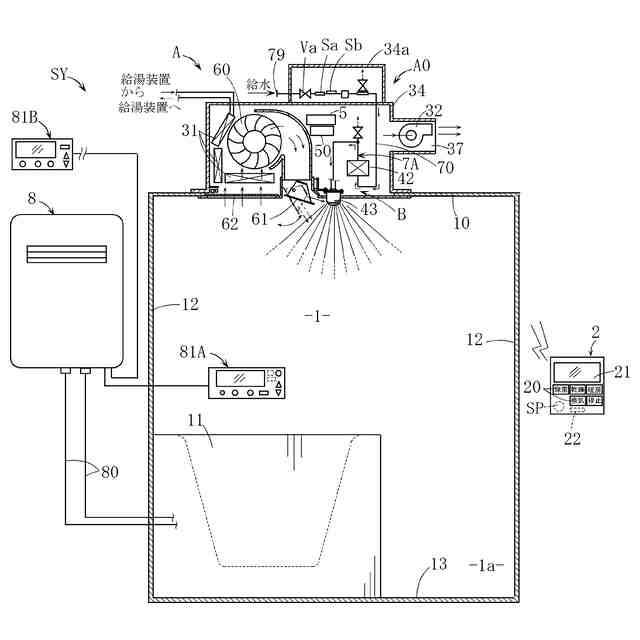
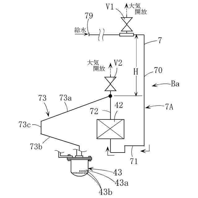
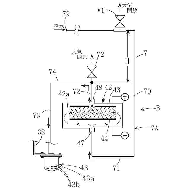
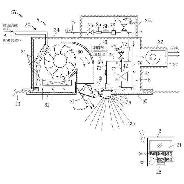
【課題】運転停止時に除菌水生成装置のチャンバが乾いた状態となって析出物質による詰まりを生じるといった不具合を適切に解消することが可能な浴室用の除菌水散布装置を提供する。
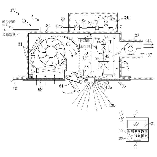
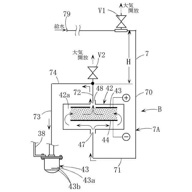
【解決手段】浴室用の除菌水散布装置Bは、一端側が入水側とされ、かつ他端側には浴室1への散水用のノズル43が設けられている流水路7と、この流水路7に供給された非除菌水としての水が流入するチャンバ42aを有し、かつこのチャンバ42aに流入した水から除菌水を生成してノズル43側に流れさせることが可能な除菌水生成装置42と、を備えており、流水路7は、この流水路7への入水停止状態時に、水または除菌水が滞留する封水部7Aを備えており、除菌水生成装置42のチャンバ42aは、封水部7Aに設けられて封水部7Aの少なくとも一部を構成している。
【選択図】 図3
特許請求の範囲
【請求項1】
一端側が入水側とされ、かつ他端側には浴室への散水用のノズルが設けられている流水路と、
この流水路に供給された非除菌水としての水が流入するチャンバを有し、かつこのチャンバに流入した水から除菌水を生成して前記ノズル側に流れさせることが可能な除菌水生成装置と、
を備えている、浴室用の除菌水散布装置であって、
前記流水路は、前記流水路への入水停止状態時に、前記水または前記除菌水が滞留する封水部を備えており、
前記除菌水生成装置の前記チャンバは、前記封水部に設けられて前記封水部の少なくとも一部を構成していることを特徴とする、浴室用の除菌水散布装置。
続きを表示(約 620 文字)
【請求項2】
請求項1に記載の浴室用の除菌水散布装置であって、
前記流水路は、下流側ほど高さが低い第1の立ち下がり部、この第1の立ち下がり部の下流側に位置し、かつ下流側ほど高さが高い立ち上がり部、およびこれら立ち上がり部と第1の立ち下がり部とのそれぞれの下部どうしを繋ぐ繋ぎ部を有しており、
前記第1の立ち下がり部、前記立ち上がり部、および前記繋ぎ部は、前記封水部を構成している、浴室用の除菌水散布装置。
【請求項3】
請求項1に記載の浴室用の除菌水散布装置であって、
前記封水部の最上位の水面高さよりも高い配置に設けられ、かつ前記流水路のうち、前記封水部よりも上流側の部分を大気開放状態に設定可能な第1の大気開放弁を、さらに備えている、浴室用の除菌水散布装置。
【請求項4】
請求項1に記載の浴室用の除菌水散布装置であって、
前記流水路の前記封水部の下流側には、下流側ほど高さが低く、かつ下部終端に前記ノズルが設けられた第2の立ち下がり部が繋がっており、
前記封水部の最上位の水面高さよりも高い配置に設けられ、かつ前記第2の立ち下がり部内を大気開放状態に設定可能な第2の大気開放弁を、さらに備えている、浴室用の除菌水散布装置。
【請求項5】
請求項1ないし4のいずれかに記載の浴室用の除菌水散布装置を備えていることを特徴とする、浴室システム。
発明の詳細な説明
【技術分野】
【0001】
本発明は、たとえばオゾン水を利用して浴室を除菌するための浴室用の除菌水散布装置、およびこれを備えた浴室システムに関する。
続きを表示(約 1,700 文字)
【背景技術】
【0002】
浴室用の除菌水散布装置の具体例として、たとえば特許文献1~3に記載のものがある。
これらの文献に記載された浴室用の除菌水散布装置は、浴室の天井部などに設置され、除菌水としてのオゾン水を浴室に向けてノズルから散布可能である。オゾン水は、たとえば水の電気分解方式のオゾン水生成装置を用いて生成される。浴室にオゾン水を散布すれば、オゾン水による除菌効果が得られ、浴室を衛生的な状態にする上で好ましい。
【0003】
しかしながら、前記従来技術においては、次に述べるように解決すべき課題があった。
【0004】
すなわち、除菌水散布装置に用いられているオゾン水生成装置としては、電気分解用の電極が設けられたチャンバを有し、かつ所定の流水路から前記チャンバに水を供給することにより、この水の電気分解によりオゾンを発生させ、オゾン水を生成するものがある。
一方、除菌水散布装置の運転停止時には、前記流水路やオゾン水生成装置への入水は停止されており、オゾン水生成装置のチャンバには水がなく、全体または一部が乾いた状態となる場合がある。ところが、そのような状態になると、水中のミネラル成分などがチャンバ内において析出し、この析出物質に起因してチャンバに詰まりを生じたり、あるいは電極表面が析出物質によって覆われ、オゾン水生成の性能低下を生じるなどの不利をきたす虞がある。このような虞は適切に解消されることが望まれる。
【先行技術文献】
【特許文献】
【0005】
特開2024-2058号公報
特開2024-2325号公報
特開2024-2326号公報
【発明の概要】
【発明が解決しようとする課題】
【0006】
本発明は、前記したような事情のもとで考え出されたものであり、運転停止時に除菌水生成装置のチャンバが乾いた状態となって析出物質による詰まりを生じるといった不具合を適切に解消することが可能な浴室用の除菌水散布装置、およびこれを備えた浴室システムを提供することを、その課題としている。
【課題を解決するための手段】
【0007】
上記の課題を解決するため、本発明では、次の技術的手段を講じている。
【0008】
本発明の第1の側面により提供される浴室用の除菌水散布装置は、一端側が入水側とされ、かつ他端側には浴室への散水用のノズルが設けられている流水路と、この流水路に供給された非除菌水としての水が流入するチャンバを有し、かつこのチャンバに流入した水から除菌水を生成して前記ノズル側に流れさせることが可能な除菌水生成装置と、を備えている、浴室用の除菌水散布装置であって、前記流水路は、前記流水路への入水停止状態時に、前記水または前記除菌水が滞留する封水部を備えており、前記除菌水生成装置の前記チャンバは、前記封水部に設けられて前記封水部の少なくとも一部を構成していること
を特徴としている。
【0009】
このような構成によれば、流水路への入水停止状態時であっても、除菌水生成装置のチャンバには封水部に滞留する水を満たしておくことができる。したがって、前記チャンバが乾いてチャンバ内においてミネラル成分などが析出し易くなる現象を防止し、析出物質に起因してチャンバに詰まりを生じたり、あるいはオゾン水生成機能が低下するなどの不具合を適切に防止または抑制することができる。
【0010】
本発明において、好ましくは、前記流水路は、下流側ほど高さが低い第1の立ち下がり部、この第1の立ち下がり部の下流側に位置し、かつ下流側ほど高さが高い立ち上がり部、およびこれら立ち上がり部と第1の立ち下がり部とのそれぞれの下部どうしを繋ぐ繋ぎ部を有しており、前記第1の立ち下がり部、前記立ち上がり部、および前記繋ぎ部は、前記封水部を構成している。
(【0011】以降は省略されています)
この特許をJ-PlatPat(特許庁公式サイト)で参照する
関連特許
個人
貼付剤
1か月前
個人
簡易担架
25日前
個人
足踏み器具
1か月前
個人
腋臭防止剤
25日前
個人
短下肢装具
4か月前
個人
排尿補助器具
1か月前
個人
嚥下鍛錬装置
5か月前
個人
前腕誘導装置
4か月前
個人
腰ベルト
1か月前
個人
汚れ防止シート
2か月前
個人
矯正椅子
6か月前
個人
歯の修復用材料
5か月前
個人
ウォート指圧法
1か月前
個人
バッグ式オムツ
5か月前
個人
テスト肺
6日前
個人
アイマスク装置
3か月前
個人
水分吸収性物品
4日前
個人
胸骨圧迫補助具
3か月前
個人
介護移乗アシスト
4日前
個人
歯の保護用シール
6か月前
個人
美容セット
1か月前
個人
排尿排便補助器具
27日前
個人
シャンプー
7か月前
個人
陣痛緩和具
5か月前
個人
湿布連続貼り機。
3か月前
個人
哺乳瓶冷まし容器
4か月前
株式会社コーセー
化粧料
1か月前
個人
治療用酸化防御装置
2か月前
個人
性行為補助具
4か月前
個人
エア誘導コルセット
3か月前
株式会社八光
剥離吸引管
6か月前
株式会社大野
骨壷
5か月前
株式会社ダリヤ
毛髪化粧料
4日前
株式会社ニデック
検眼装置
5か月前
株式会社ダリヤ
毛髪化粧料
2か月前
株式会社ニデック
眼科装置
2か月前
続きを見る
他の特許を見る