TOP
|
特許
|
意匠
|
商標
特許ウォッチ
Twitter
他の特許を見る
10個以上の画像は省略されています。
公開番号
2025176566
公報種別
公開特許公報(A)
公開日
2025-12-04
出願番号
2024082807
出願日
2024-05-21
発明の名称
インクジェット記録方法
出願人
花王株式会社
代理人
弁理士法人池内アンドパートナーズ
主分類
B41J
2/165 20060101AFI20251127BHJP(印刷;線画機;タイプライター;スタンプ)
要約
【課題】インクの連続吐出性と混色抑制とを両立するインクジェット記録方法を提供する。
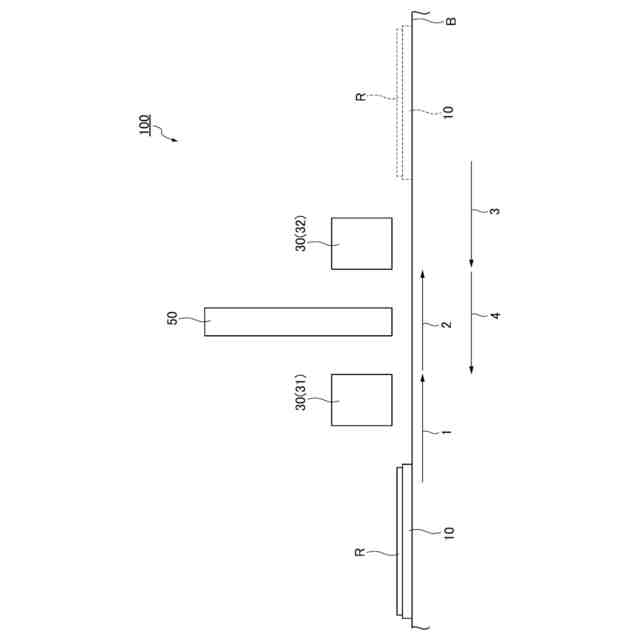
【解決手段】低吸液性の記録媒体Rを搬送する搬送機構10と、水系インクを吐出する、2つ以上の記録ヘッド31,32と、記録媒体Rに吐出された水系インクを乾燥させる乾燥装置50と、を備えるインクジェット記録装置100,110,120を用いて、第1の記録ヘッド31から記録媒体Rに水系インクを吐出する第1の工程と、記録媒体Rを搬送しながら、記録媒体Rに吐出された水系インクを乾燥装置50で乾燥させる第2の工程と、第2の記録ヘッド32から記録媒体Rに水系インクを吐出する第3の工程と、記録媒体Rを搬送しながら、記録媒体Rに吐出された水系インクを乾燥装置50で乾燥させる第4の工程と、をこの順に有し、第2の工程及び第4の工程において、同じ乾燥装置50を用いる、インクジェット記録方法。
【選択図】図1
特許請求の範囲
【請求項1】
低吸液性の記録媒体を搬送する搬送機構と、
水系インクを吐出する、2つ以上の記録ヘッドと、
前記記録媒体に吐出された水系インクを乾燥させる乾燥装置と、
を備えるインクジェット記録装置を用いて前記記録媒体に記録する、インクジェット記録方法であって、
第1の記録ヘッドから前記記録媒体に水系インクを吐出する第1の工程と、
前記記録媒体を搬送しながら、前記記録媒体に吐出された前記水系インクを前記乾燥装置で乾燥させる第2の工程と、
第2の記録ヘッドから前記記録媒体に水系インクを吐出する第3の工程と、
前記記録媒体を搬送しながら、前記記録媒体に吐出された前記水系インクを前記乾燥装置で乾燥させる第4の工程と、
をこの順に有し、
前記第2の工程及び前記第4の工程において、同じ乾燥装置を用いる、インクジェット記録方法。
続きを表示(約 760 文字)
【請求項2】
前記水系インクが吐出された前記記録媒体が、前記乾燥装置下を往復通過する、請求項1に記載のインクジェット記録方法。
【請求項3】
前記乾燥装置で前記記録媒体に吐出された前記水系インクを乾燥することにより発生する水蒸気により、前記記録ヘッドが保湿される、請求項1又は2に記載のインクジェット記録方法。
【請求項4】
前記搬送機構が前記記録媒体を水平に往復移動可能とするものであり、前記第1の工程及び前記第2の工程の搬送方向と、前記第3の工程及び前記第4の工程の搬送方向とが逆方向である、請求項1又は2に記載のインクジェット記録方法。
【請求項5】
前記第2の工程において乾燥される水系インクの水蒸気によって前記第2の記録ヘッドが保湿され、前記第4の工程において乾燥される水系インクの水蒸気によって前記第1の記録ヘッドが保湿される、請求項1又は2に記載のインクジェット記録方法。
【請求項6】
前記水系インク中の水分量が60質量%以上である、請求項1又は2に記載のインクジェット記録方法。
【請求項7】
前記第1の記録ヘッド及び前記第2の記録ヘッドのいずれかが非白色インクを吐出し、前記第1の記録ヘッド及び前記第2の記録ヘッドのいずれかが白色インクを吐出する、請求項1又は2に記載のインクジェット記録方法。
【請求項8】
前記記録媒体の記録速度が、前記記録媒体の搬送速度換算で5m/min以上100m/min以下である、請求項1又は2に記載のインクジェット記録方法。
【請求項9】
前記乾燥装置が、温風乾燥機、ヒーター乾燥機又はIR乾燥機である、請求項1又は2に記載のインクジェット記録方法。
発明の詳細な説明
【技術分野】
【0001】
本発明は、インクジェット記録方法に関する。
続きを表示(約 2,200 文字)
【背景技術】
【0002】
インクジェット記録方式は、記録ヘッドが有する微細なノズルからインクを直接吐出し、印刷媒体に付着させて、文字や画像が記録された印刷物を得る方式である。この方式は、フルカラー化が容易でかつ安価であり、印刷媒体に対して非接触であるという数多くの利点があるため、一般消費者向けの民生用印刷に留まらず、近年は、商業印刷や産業印刷分野に応用されている。商業印刷や産業印刷分野では、生産性を高める目的で、印刷媒体の幅一杯に印刷可能なライン状の固定印刷ヘッドを設け、所謂シングルパス方式を用いて、ロール状や枚葉の印刷媒体を連続印刷する高速インクジェット印刷が検討されている。また、近年、これらの印刷において、印刷物の耐候性、耐水性、及び環境負荷軽減の観点から、顔料を含有する水系インクを用いるインクジェット印刷装置が検討されている。
【0003】
特許文献1には、両面から画像を観察可能な記録物を簡易かつ高画質で作成することができるインクジェット記録方法を提供することを目的として、インクジェットヘッドを用いて、被記録媒体に対して着色インクを記録し、第1画像を形成する第1工程と、インクジェットヘッドを用いて、背景用インクを記録し、前記第1画像を被覆する背景用画像を形成する第2工程と、インクジェットヘッドを用いて、着色インクを記録し、第2画像を形成する第3工程と、を有し、前記第1工程から第3工程までの間に、乾燥工程を含む、インクジェット記録方法が開示されている。
【先行技術文献】
【特許文献】
【0004】
特開2013-180428号公報
【発明の概要】
【発明が解決しようとする課題】
【0005】
インクジェット記録において、低吸液性の記録媒体を用い、かつ特にインクとして水系インクを用いた場合、吐出されたインクが記録媒体に吸液されず、インクの固定化が遅いことから、隣り合うインク同士の混色が生じやすい傾向にある。また、長時間にわたってインクジェット記録を行うと、インクを吐出する記録ヘッドが常に外気にさらされ、記録ヘッドが有するノズルの一部に閉塞が生じるという課題があった。
【0006】
本発明は、インクの連続吐出性と混色抑制とを両立するインクジェット記録方法を提供することを課題とする。
【課題を解決するための手段】
【0007】
本発明者らは、第1の記録ヘッドから記録媒体に水系インクを吐出する第1の工程と、記録媒体を搬送しながら記録媒体に吐出された水系インクを乾燥装置で乾燥させる第2の工程と、第2の記録ヘッドから記録媒体に水系インクを吐出する第3の工程と、記録媒体を搬送しながら記録媒体に吐出された前記水系インクを乾燥装置で乾燥させる第4の工程と、をこの順に有し、第2の工程及び第4の工程において、同じ乾燥装置を用いることにより、連続吐出性とインクの混色抑制とを両立するインクジェット記録方法を提供できることを見出した。
すなわち、本発明は、次の[1]を提供する。
[1]低吸液性の記録媒体を搬送する搬送機構と、水系インクを吐出する、2つ以上の記録ヘッドと、前記記録媒体に吐出された水系インクを乾燥させる乾燥装置と、を備えるインクジェット記録装置を用いて前記記録媒体に記録する、インクジェット記録方法であって、第1の記録ヘッドから前記記録媒体に水系インクを吐出する第1の工程と、前記記録媒体を搬送しながら、前記記録媒体に吐出された前記水系インクを前記乾燥装置で乾燥させる第2の工程と、第2の記録ヘッドから前記記録媒体に水系インクを吐出する第3の工程と、前記記録媒体を搬送しながら、前記記録媒体に吐出された前記水系インクを前記乾燥装置で乾燥させる第4の工程と、をこの順に有し、前記第2の工程及び前記第4の工程において、同じ乾燥装置を用いる、インクジェット記録方法。
【発明の効果】
【0008】
本発明によれば、インクの連続吐出性と混色抑制とを両立するインクジェット記録方法が提供される。
【図面の簡単な説明】
【0009】
第一の実施形態に係るインクジェット記録方法を説明するための概略図である。
従来のインクジェット記録方法を説明するための概略図である。
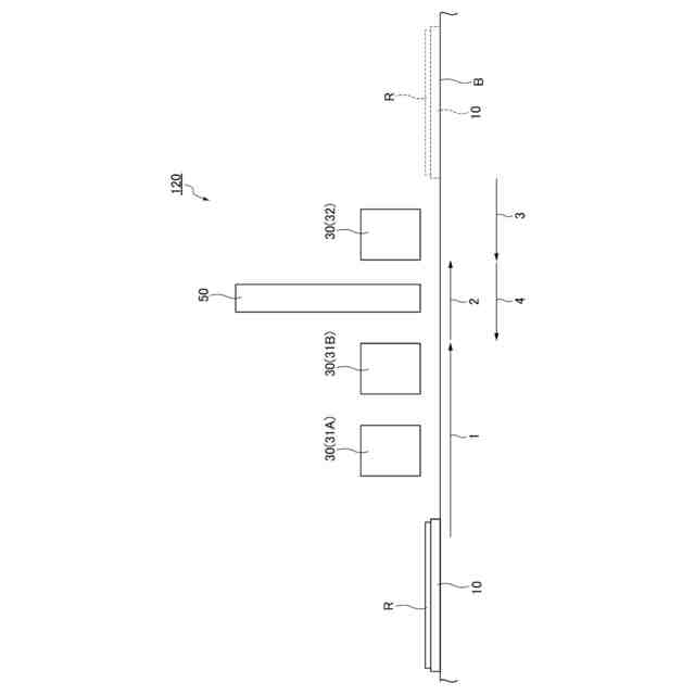
第二の実施形態に係るインクジェット記録方法を説明するための概略図である。
第三の実施形態に係るインクジェット記録方法を説明するための概略図である。
実施例及び比較例の印刷パターンを示す図である。
実施例の印刷パターンを示す図である。
比較例に係るインクジェット記録方法を説明するための概略図である。
【発明を実施するための形態】
【0010】
以下、本発明を実施するための好適な実施形態について、図面を用いて説明する。なお、以下の実施形態は、各請求項に係る発明を限定するものではなく、また、実施形態の中で説明されている特徴の組み合わせの全てが発明の解決手段に必須であるものとは限らない。
(【0011】以降は省略されています)
この特許をJ-PlatPat(特許庁公式サイト)で参照する
関連特許
花王株式会社
袋体
1か月前
花王株式会社
組立体
2か月前
花王株式会社
吐出容器
1か月前
花王株式会社
固形食品
2か月前
花王株式会社
包装容器
27日前
花王株式会社
放散装置
2か月前
花王株式会社
製函装置
2か月前
花王株式会社
清掃用具
1か月前
花王株式会社
吐出容器
1か月前
花王株式会社
固形食品
2か月前
花王株式会社
吸収性物品
2か月前
花王株式会社
皮膚化粧料
今日
花王株式会社
泡吐出容器
1か月前
花王株式会社
毛髪洗浄剤
1か月前
花王株式会社
油性化粧料
1か月前
花王株式会社
乳化化粧料
15日前
花王株式会社
皮膚化粧料
今日
花王株式会社
紙コート剤
8日前
花王株式会社
乳化化粧料
1か月前
花王株式会社
紙コート剤
8日前
花王株式会社
皮膚洗浄料
27日前
花王株式会社
乳化化粧料
1か月前
花王株式会社
乳化化粧料
1か月前
花王株式会社
油性化粧料
2か月前
花王株式会社
粉末化粧料
1日前
花王株式会社
皮膚化粧料
7日前
花王株式会社
吸収性物品
6日前
花王株式会社
吸収性パッド
2か月前
花王株式会社
アノード電極
28日前
花王株式会社
口腔用組成物
2か月前
花王株式会社
口腔用組成物
29日前
花王株式会社
口腔用組成物
29日前
花王株式会社
練歯磨組成物
1か月前
花王株式会社
洗浄剤組成物
1か月前
花王株式会社
洗浄剤組成物
1か月前
花王株式会社
口腔用組成物
29日前
続きを見る
他の特許を見る