TOP
|
特許
|
意匠
|
商標
特許ウォッチ
Twitter
他の特許を見る
10個以上の画像は省略されています。
公開番号
2025176551
公報種別
公開特許公報(A)
公開日
2025-12-04
出願番号
2024082786
出願日
2024-05-21
発明の名称
情報処理装置、支援する方法、情報処理方法及びプログラム
出願人
花王株式会社
代理人
弁理士法人南青山国際特許事務所
主分類
G06T
7/00 20170101AFI20251127BHJP(計算;計数)
要約
【課題】装置製作者の主観的なあるいは恣意的な意図がはいらない人物の新しい魅力を発見することができる情報処理装置、支援する方法、情報処理方法及びプログラムに関する。
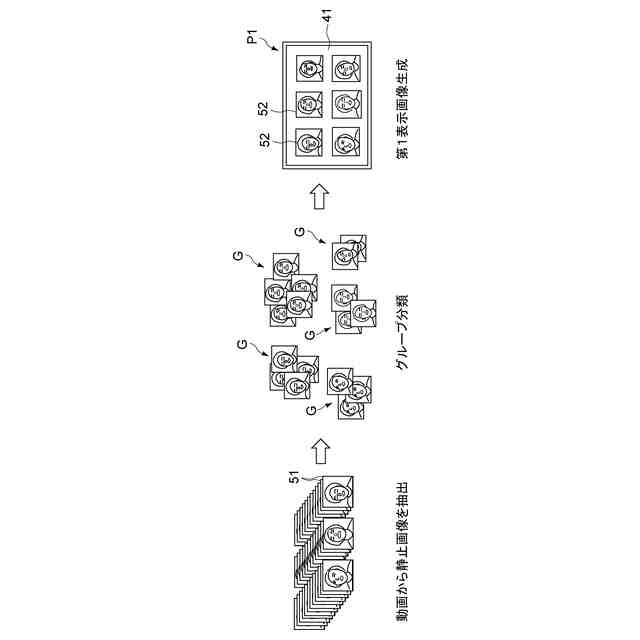
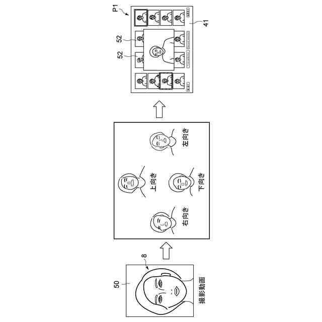
【解決手段】情報処理装置は処理部を具備する。処理部は、対象者の複数の顔画像を取得し、複数の顔画像それぞれから抽出される複数の顔の特徴量の類似度に基づいて、複数の顔画像を複数のグループに分類し、各グループに属する顔画像の枚数の多い順又は少ない順に、複数のグループから、表示用グループとして、所定の間隔で複数のグループを抽出し、グループ毎に、当該グループに属する顔画像の中から代表とする顔画像を抽出し、表示用グループ毎に抽出された代表とする顔画像が表示された第1表示画像を生成する。
【選択図】図2
特許請求の範囲
【請求項1】
対象者の、時間的に連続して取得された複数の顔画像を取得し、
前記複数の顔画像それぞれから抽出される複数の顔の特徴量の類似度に基づいて、前記複数の顔画像を複数のグループに分類し、
各前記グループに属する顔画像の枚数の多い順又は少ない順に、前記複数のグループから、表示用グループとして、所定の間隔で複数のグループを抽出し、
前記グループ毎に、当該グループに属する顔画像の中から代表とする顔画像を抽出し、
前記表示用グループ毎に抽出された前記代表とする顔画像が表示された第1表示画像を生成する
処理部
を具備する情報処理装置。
続きを表示(約 2,300 文字)
【請求項2】
前記処理部は、
前記第1表示画像に表示する前記代表とする顔画像の枚数情報を取得し、
前記複数のグループへの分類では、前記複数の顔画像をn個のグループに分類し、
前記代表とする顔画像の抽出では、前記グループ毎に1枚ずつ前記代表とする顔画像を抽出し、
前記複数の表示用グループの抽出では、
前記グループそれぞれに、前記グループに属する顔画像の枚数の多い順又は少ない順に、1番、2番、3番・・・n-2番、n-1番、n番のグループ番号を付与し、
前記複数の表示用グループの1つとして、表示開始グループ番号のグループを抽出し、
前記枚数情報に基づく前記第1表示画像に表示する前記代表とする顔画像の枚数をm、間引き数をaとし、bを2以上の整数としたときに、以下の式(1)で算出する間引き数aを用いて、以下の式(2)により求めた値に丸め処理を施すことで、抽出する前記表示用グループのグループ番号を算出し、
a=(n-2)/(m-1) ・・・(1)
表示用グループのグループ番号=表示開始グループ番号+a×(b-1) ・・・(2)
前記表示用グループのグループ番号の算出では、上記bに2から昇順で2以上の整数を順に代入して前記表示用グループのグループ番号を求めていき、算出する前記表示用グループのグループ番号が表示終了グループ番号の値を超える直前まで、前記表示用グループのグループ番号を算出して、最後に算出されたグループ番号のグループを抽出する、又は、前記最後に算出されたグループ番号のグループに代えて前記表示終了グループ番号のグループを抽出する
請求項1に記載の情報処理装置。
【請求項3】
前記処理部は、
前記第1表示画像に表示する前記代表とする顔画像の枚数情報を取得し、
前記複数のグループへの分類では、前記複数の顔画像をn個のグループに分類し、
前記代表とする顔画像の抽出では、前記グループ毎に1枚ずつ前記代表とする顔画像を抽出し、
前記複数の表示用グループの抽出では、
前記グループそれぞれに、前記グループに属する顔画像の枚数の多い順又は少ない順に、1番、2番、3番・・・n-2番、n-1番、n番のグループ番号を付与し、
前記複数の表示用グループの1つとして、表示開始グループ番号のグループを抽出し、
前記枚数情報に基づく前記第1表示画像に表示する前記代表とする顔画像の枚数をm、間引き数をaとし、bを2以上の整数としたときに、以下の式(1)により求めた値に丸め処理を施すことで算出する間引き数aを用いて、以下の式(2)により、抽出する前記表示用グループのグループ番号を算出し、
a=(n-2)/(m-1) ・・・(1)
表示用グループのグループ番号=表示開始グループ番号+a×(b-1) ・・・(2)
前記表示用グループのグループ番号の算出では、上記bに2から昇順で2以上の整数を順に代入して前記表示用グループのグループ番号を求めていき、抽出した前記表示用グループの総数がmになるまで、前記表示用グループのグループ番号を算出する
請求項1に記載の情報処理装置。
【請求項4】
前記特徴量は、顔の三次元特徴点の特徴量である
請求項1又は2に記載の情報処理装置。
【請求項5】
前記特徴量は、前記顔の三次元特徴点の三次元座標値である
請求項4に記載の情報処理装置。
【請求項6】
前記特徴量の類似度に基づく前記複数のグループへの分類は、k-means(K平均法)を用いて行われる
請求項1又は2に記載の情報処理システム。
【請求項7】
前記処理部は、
前記対象者及びカウンセリングを行うカウンセラーそれぞれが、前記第1表示画像に含まれる複数の前記代表とする顔画像から選択した顔画像を、カウンセリング用の顔画像として設定し、前記カウンセリング用の顔画像を含む第2表示画像を生成する
請求項1又は2に記載の情報処理装置。
【請求項8】
前記処理部は、
前記第1表示画像の生成において、抽出された前記代表とする顔画像が、当該顔画像が含まれる表示用グループに属する顔画像の枚数が多い順に、所定の順番で並べられた前記第1表示画像を生成する
請求項7に記載の情報処理装置。
【請求項9】
請求項1又は2に記載の情報処理装置を用いて、前記対象者に対する印象改善を支援する方法。
【請求項10】
情報処理装置により実行される情報処理方法であって、
対象者の、時間的に連続して取得された複数の顔画像を取得するステップと、
前記複数の顔画像それぞれから抽出される複数の顔の特徴量の類似度に基づいて、前記複数の顔画像を複数のグループに分類するステップと、
各前記グループに属する顔画像の枚数の多い順又は少ない順に、前記複数のグループから、表示用グループとして、所定の間隔で複数のグループを抽出するステップと、
前記グループ毎に、当該表示用グループに属する顔画像の中から代表とする顔画像を抽出するステップと、
前記表示用グループ毎に抽出された前記代表とする顔画像が表示された第1表示画像を生成するステップと、を含む
情報処理方法。
(【請求項11】以降は省略されています)
発明の詳細な説明
【技術分野】
【0001】
本発明は、情報処理装置、支援する方法、情報処理方法及びプログラムに関する。
続きを表示(約 1,400 文字)
【背景技術】
【0002】
発明者らは、自己の新しい魅力への気付き、自尊感情、自己肯定感の向上を目的として、「その人らしい、普段の何気ない表情、対話の時に出てくるような自分では気づかない表情」を選択する方法やコミュニケーション装置について検討してきた。しかしながら、典型的には、人物の顔画像を選択する際、一般的な好印象の表情を抽出することが多く、従来技術(特許文献1及び2参照)では、装置製作者の意図を反映し恣意的な顔画像が抽出されやすいという課題があった。また、一般的なクラスタ抽出方法(特許文献3参照)では、効率化の点で不十分であった。
【0003】
特許文献1には、人物の複数の顔画像について、特徴点を抽出し、特徴点の正面化補正を行った後の顔画像の表情要素の変化量分布を用いて、言語化し切れない表情の変化を、定量的に表情強度、表情パターン又は雰囲気パターンに分類し、顔の表情の変化を定量的に評価することが記載されている。
【0004】
特許文献2には、撮像された画像を基に撮像装置の位置姿勢を推定する情報処理技術について記載されている。特許文献2には、撮像画像から抽出された特徴点の中で、誤対応の虞が少ない特徴点を取得可能とすることを目的とし、近傍の他の特徴点との類似度が閾値以下の特徴点を選択することが記載されている。
【0005】
特許文献3には、画像を検索するための画像検索システムについて記載され、画像データベース内の画像データを、当該画像データの正規化された特徴量を用いて、複数のクラスタに分類し、クラスタリングによって形成された各クラスタに対して代表値を付与し画像検索に用いられるインデックスを作成することが記載されている。
【先行技術文献】
【特許文献】
【0006】
特開2023-184309号公報
特開2022-112168号公報
特開2010-250633号公報
【発明の概要】
【発明が解決しようとする課題】
【0007】
装置製作者の主観的なあるいは恣意的な意図がはいらない人物の新しい魅力を発見することが求められている。
【0008】
本発明の課題は、製作者の恣意的なあるいは主観的な意図がはいらず、人物の新しい魅力を見出すための情報処理装置、支援する方法、情報処理方法及びプログラムを提供するものにある。
【課題を解決するための手段】
【0009】
本発明の一形態に係る情報処理装置は、処理部を具備する。
上記処理部は、
対象者の、時間的に連続して取得された複数の顔画像を取得し、
上記複数の顔画像それぞれから抽出される複数の顔の特徴量の類似度に基づいて、上記複数の顔画像を複数のグループに分類し、
各上記グループに属する顔画像の枚数の多い順又は少ない順に、上記複数のグループから、表示用グループとして、所定の間隔で複数のグループを抽出し、
上記グループ毎に、当該グループに属する顔画像の中から代表とする顔画像を抽出し、
上記表示用グループ毎に抽出された上記代表とする顔画像が表示された第1表示画像を生成する。
【0010】
本発明の一形態に係わる支援する方法は、上記情報処理装置を用いて、上記対象者に対する印象改善を支援する。
(【0011】以降は省略されています)
この特許をJ-PlatPat(特許庁公式サイト)で参照する
関連特許
花王株式会社
袋体
1か月前
花王株式会社
組立体
2か月前
花王株式会社
製函装置
2か月前
花王株式会社
吐出容器
1か月前
花王株式会社
固形食品
2か月前
花王株式会社
吐出容器
1か月前
花王株式会社
固形食品
2か月前
花王株式会社
包装容器
27日前
花王株式会社
放散装置
2か月前
花王株式会社
清掃用具
1か月前
花王株式会社
皮膚洗浄料
27日前
花王株式会社
乳化化粧料
15日前
花王株式会社
油性化粧料
2か月前
花王株式会社
吸収性物品
2か月前
花王株式会社
紙コート剤
8日前
花王株式会社
紙コート剤
8日前
花王株式会社
乳化化粧料
1か月前
花王株式会社
油性化粧料
1か月前
花王株式会社
毛髪洗浄剤
1か月前
花王株式会社
皮膚化粧料
7日前
花王株式会社
粉末化粧料
1日前
花王株式会社
乳化化粧料
1か月前
花王株式会社
乳化化粧料
1か月前
花王株式会社
皮膚化粧料
今日
花王株式会社
皮膚化粧料
今日
花王株式会社
吸収性物品
6日前
花王株式会社
泡吐出容器
1か月前
花王株式会社
口腔用組成物
29日前
花王株式会社
口腔用組成物
29日前
花王株式会社
口腔用組成物
29日前
花王株式会社
洗浄剤組成物
1か月前
花王株式会社
口腔用組成物
29日前
花王株式会社
アノード電極
28日前
花王株式会社
洗浄剤組成物
1か月前
花王株式会社
口腔用組成物
2か月前
花王株式会社
洗浄剤組成物
1か月前
続きを見る
他の特許を見る