TOP
|
特許
|
意匠
|
商標
特許ウォッチ
Twitter
他の特許を見る
公開番号
2025176091
公報種別
公開特許公報(A)
公開日
2025-12-03
出願番号
2025144335,2024159931
出願日
2025-09-01,2020-09-30
発明の名称
熱感知器
出願人
ニッタン株式会社
代理人
個人
,
個人
主分類
G08B
17/06 20060101AFI20251126BHJP(信号)
要約
【課題】外観を損ねることなく、また天井等に設置されている状況で離れた位置からしかも任意の方向から容易に感知器の種類を識別できるようにする。
【解決手段】熱感知素子(15)を中心とした作動表示を行う光透過部材(16)を備えた熱感知器において、前記光透過部材の表面に熱感知器の種類を表すパターンを、筐体(12,13)の表面色と同一系統の色の被膜(18)を部分的または全面的に形成することにより設けた。さらに、前記筐体の表面色と同一系統の色の前記被膜は、透光性あるいは遮光性を有するように構成する。
【選択図】図3
特許請求の範囲
【請求項1】
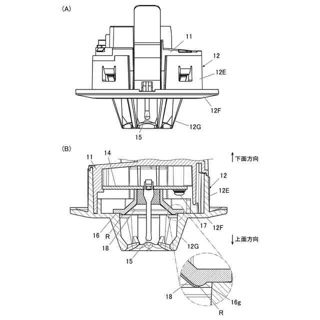
熱感知素子を中心とした作動表示を行う光透過部材を備えた熱感知器であって、
前記光透過部材の表面に熱感知器の種類を表すパターンを、筐体の表面色と同一系統の色の被膜を部分的または全面的に形成することにより設けたことを特徴とする熱感知器。
続きを表示(約 290 文字)
【請求項2】
前記筐体の表面色と同一系統の色の前記被膜は透光性を有することを特徴とする請求項1に記載の熱感知器。
【請求項3】
前記筐体の表面色と同一系統の色の前記被膜は遮光性を有することを特徴とする請求項1に記載の熱感知器。
【請求項4】
前記光透過部材の背面側に種別に対応した色で発光する光源を設け、前記光透過部材は前記光源からの光を取り込み部分的または全面的に形成された前記被膜部分以外を透過させて表側に光を出射させることで、前記パターンの態様及び出射する光の色に基づいて種別を表すことを特徴とする請求項3に記載の熱感知器。
発明の詳細な説明
【技術分野】
【0001】
本発明は、火災発生等に伴う熱を検知する熱感知器に関し、特に熱感知器の種類 (種別)を識別できるようにしたい場合に適用して有効な技術に関する。
続きを表示(約 1,700 文字)
【背景技術】
【0002】
火災感知器には、サーミスタのような熱感知素子を使用した熱感知器、火災に伴い発生する煙を検知する光電素子を備えた煙感知器、炎から発する赤外線を検知する赤外線センサを備えた赤外線感知器などの種々の形式のものが提供されている。さらに、同一形式の火災感知器で基本構造は同じであっても、検知方式が異なるものや防水型とそうでないものなど種類が異なるものがある。そのため、建造物への火災感知器の設置に際しては、火災感知器の種類(種別)を確認した上で設置することが必要となる。また、感知器の設置後に適切な感知器の設置がなされているか、感知器の種類(種別)を確認したい場合もあり、離れた位置から感知器の種類の確認ができることが必要となる。
そこで、従来は火災感知器の筐体の表面に種類(種別)の識別用のシールを貼付したり、特許文献1に記載されている発明のように、防虫網の色彩を変えて識別できるようにしたりしている。また、火災感知器は、非発報状態では目立たないように、筐体(ケース)として白色を基調としたものが多い。
【0003】
一方、火災感知器は火災検出時又は点検などで作動確認の際に点灯又は点滅する作動表示灯を備えており、その作動表示灯は、例えば天井面に設置された状態で、視認性が良好となることが要求される。
また、火災感知器のうちサーミスタを使用した熱感知器は、一般に、ドーム型の筐体の中央に熱感知素子としてのサーミスタを配設し、サーミスタが下向きとなるように、筐体を建造物の天井面等に取り付けて火災の発生を検出するように構成されている。そして、火災感知器本体(筐体)の一部に窓部を設け、その窓を通して作動表示灯の発光表示が視認できるように構成されている(例えば特許文献2)。また、砲弾型のLED(発光ダイオード)の頭部を火災感知器本体の表面に直接露出させるように構成されているものもある(例えば特許文献3の図9)。
【先行技術文献】
【特許文献】
【0004】
実開平02-123690号公報
特開平11-175860号公報
特開平08-180273号公報
【発明の概要】
【発明が解決しようとする課題】
【0005】
上記のように火災感知器の筐体に、筐体の色合いを考慮していない種類(種別)識別用のシールを貼付したり防虫網の色彩を変えたりすると、それらは筐体の表面色とは異なる色が用いられるため、火災感知器を天井面等に設置した際に、種類(種別)識別用のシール又は色彩を変えた防虫網が、その色が筐体の表面色と異なることで目立ってしまい、筐体の表面色として環境に合わせた色を採用したとしても感知器を設置した外観の調和を乱してしまうという課題がある。
【0006】
本発明は上記のような課題に着目してなされたもので、その目的とするところは、外観を損ねることなく種類(種別)を識別できる熱感知器を提供することにある。
本発明の他の目的は、天井等に設置されている状況で、離れた位置からしかも任意の方向から容易に種類(種別)を識別することができる熱感知器を提供することにある。
【課題を解決するための手段】
【0007】
上記目的を達成するため本発明は、
熱感知素子を中心とした作動表示を行う光透過部材を備えた熱感知器において、
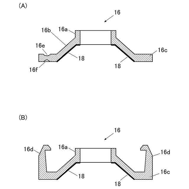
前記光透過部材の表面に熱感知器の種類を表すパターンを、筐体の表面色と同一系統の色の被膜を部分的または全面的に形成することにより設けるようにしたものである。
【0008】
上記のような構成を有する熱感知器によれば、外観を損ねることなく感知器の種類(種別)を識別することができるようになる。
【0009】
ここで、望ましくは、前記筐体の表面色と同一系統の色の前記被膜は透光性を有するように構成する。
【0010】
上記のように構成された熱感知器によれば、光出射部が発光した時に被膜部分も発光するため、発光時に種別を表すパターンが目立たなくすることができる。
(【0011】以降は省略されています)
この特許をJ-PlatPat(特許庁公式サイト)で参照する
関連特許
ニッタン株式会社
発信機
19日前
ニッタン株式会社
熱感知器
4日前
日本精機株式会社
警報システム
3か月前
個人
安全支援装置
1か月前
株式会社SUBARU
車両
1か月前
個人
自動電動車椅子
2か月前
エムケー精工株式会社
車両誘導装置
3か月前
スズキ株式会社
運転支援装置
3か月前
個人
磁気路上での車両の路線離脱防御
2か月前
ニッタン株式会社
検知器
2か月前
日本信号株式会社
車両検知装置
2日前
ニッタン株式会社
検知器
2か月前
ニッタン株式会社
検知器
3か月前
株式会社国際電気
防災システム
3か月前
日本無線株式会社
船舶システム
1か月前
ニッタン株式会社
検知器
2か月前
ダイハツ工業株式会社
移動支援装置
1か月前
トヨタ自動車株式会社
サーバ
2か月前
株式会社SUBARU
運転支援装置
2か月前
トヨタ自動車株式会社
サーバ
1か月前
大阪瓦斯株式会社
音声出力システム
2か月前
日本信号株式会社
異常走行検出装置
2か月前
株式会社小糸製作所
移動体検出装置
3か月前
三菱自動車工業株式会社
制御システム
2か月前
株式会社小糸製作所
車両検出システム
3か月前
日本精機株式会社
報知装置及び報知システム
2か月前
株式会社デンソー
運航管理装置
1か月前
株式会社CCT
通信装置及び表示方法
2か月前
能美防災株式会社
火災感知器
3か月前
株式会社SUBARU
事故情報収集装置
1か月前
株式会社 ミックウェア
車内環境制御システム
1か月前
ヨシモトポール株式会社
接近報知システム
3か月前
株式会社デンソー
運転評価支援装置
9日前
能美防災株式会社
非常伝達装置
3か月前
本田技研工業株式会社
物体検出装置
3か月前
トヨタ自動車株式会社
通信システム
10日前
続きを見る
他の特許を見る