TOP
|
特許
|
意匠
|
商標
特許ウォッチ
Twitter
他の特許を見る
10個以上の画像は省略されています。
公開番号
2025176056
公報種別
公開特許公報(A)
公開日
2025-12-03
出願番号
2025140913,2025072821
出願日
2025-08-27,2015-10-06
発明の名称
伝送に関知しない呈示ベースのプログラム・ラウドネス
出願人
ドルビー ラボラトリーズ ライセンシング コーポレイション
,
ドルビー・インターナショナル・アーベー
代理人
弁理士法人ITOH
主分類
H04S
7/00 20060101AFI20251126BHJP(電気通信技術)
要約
【課題】本開示はオーディオ符号化の分野に該当し、特に、種々のオーディオ出力信号の間でラウドネス一貫性を提供するためのフレームワークを提供する方法、デコード装置及びプログラムを提供する。
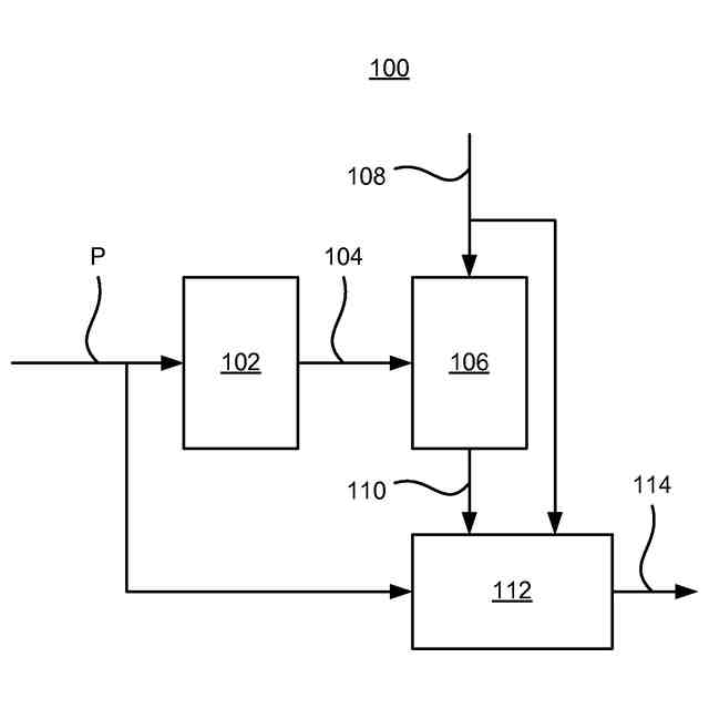
【解決手段】デコーダ100は、ビットストリームPを受領してデマルチプレクサ102により一つまたは複数の呈示データ構造104を抽出する。再生状態コンポーネント106では、一つまたは複数の呈示データ構造104のうち選択された呈示データ構造110を示すデータ108を受領する。さらに、混合コンポーネント112は、選択された呈示データ構造110によって参照されるラウドネス・データに基づいて、デコードされた一つまたは複数のコンテンツ・サブストリームまたは出力オーディオ信号114を処理して、所望されるダイアログ・ラウドネス・レベルを達成する。
【選択図】図1
特許請求の範囲
【請求項1】
デコード装置によって、エンコードされたビットストリームを取得する段階と;
前記デコード装置によって、前記エンコードされたビットストリームからオーディオ信号およびメタデータを抽出する段階であって、前記メタデータは圧縮曲線データおよびラウドネス・データを含み、前記ラウドネス・データは前記オーディオ信号のラウドネス・レベルを示す、段階と;
前記デコード装置によって、前記ラウドネス・データを使って一つまたは複数のラウドネス値を生成する段階と;
前記デコード装置によって、前記圧縮曲線データを使って前記一つまたは複数のラウドネス値をダイナミックレンジ圧縮(DRC)利得にマッピングする段階と;
前記デコード装置によって、前記DRC利得を平滑化する段階と;
前記デコード装置によって、平滑化されたDRC利得を前記オーディオ信号に適用する段階とを含む、
方法。
続きを表示(約 1,200 文字)
【請求項2】
前記エンコードされたビットストリームがDRCデータを含み、前記DRCデータがDRCモードに対応する複数のDRCプロファイルを含み、各DRCプロファイルは、前記DRC利得が適用できる特定のオーディオ信号に対して仕立てられている、請求項1記載の方法。
【請求項3】
前記ラウドネス・データが、前記オーディオ信号のチャネル依存の重み付けを含むラウドネス関数を含む、請求項1記載の方法。
【請求項4】
前記ラウドネス値をDRC利得にマッピングすることが、発話であるとして検出されない前記オーディオ信号のセグメントを破棄することを含む、請求項1記載の方法。
【請求項5】
一つまたは複数のプロセッサと;
前記一つまたは複数のプロセッサによって実行されたときに前記一つまたは複数のプロセッサに動作を実行させる命令を記憶しているメモリとを有するデコード装置であって、前記動作は:
エンコードされたビットストリームを取得する段階と;
前記エンコードされたビットストリームからオーディオ信号およびメタデータを抽出する段階であって、前記メタデータは圧縮曲線データおよびラウドネス・データを含み、前記ラウドネス・データは前記オーディオ信号のラウドネス・レベルを示す、段階と;
前記ラウドネス・データを使って一つまたは複数のラウドネス値を生成する段階と;
前記圧縮曲線データを使って前記一つまたは複数のラウドネス値をダイナミックレンジ圧縮(DRC)利得にマッピングする段階と;
前記DRC利得を平滑化する段階と;
平滑化されたDRC利得を前記オーディオ信号に適用する段階とを含む、
デコード装置。
【請求項6】
前記エンコードされたビットストリームがDRCデータを含み、前記DRCデータがDRCモードに対応する複数のDRCプロファイルを含み、各DRCプロファイルは、前記DRC利得が適用できる特定のオーディオ信号に対して仕立てられている、請求項5記載のデコード装置。
【請求項7】
前記ラウドネス・データが、前記オーディオ信号のチャネル依存の重み付けを含むラウドネス関数を含む、請求項5記載のデコード装置。
【請求項8】
前記ラウドネス値をDRC利得にマッピングすることが、発話であるとして検出されない前記オーディオ信号のセグメントを破棄することを含む、請求項5記載のデコード装置。
【請求項9】
一つまたは複数のプロセッサによって実行されたときに前記一つまたは複数のプロセッサに請求項1ないし4のうちいずれか一項に記載の方法を実行させる命令が記憶されている非一時的なコンピュータ可読記憶媒体。
【請求項10】
コンピュータに請求項1ないし4のうちいずれか一項に記載の方法を実行させるためのコンピュータ・プログラム。
発明の詳細な説明
【技術分野】
【0001】
関連出願への相互参照
本願は2014年10月10日に出願された米国仮特許出願第62/062,479号の優先権を主張するものである。同出願の内容はここに参照によってその全体において組み込まれる。
続きを表示(約 2,500 文字)
【0002】
技術分野
本発明はオーディオ信号処理に関し、より詳細には、出力オーディオ信号の所望されるラウドネス・レベルを達成するためのオーディオ・データ・ビットストリームのエンコードおよびデコードに関する。
【背景技術】
【0003】
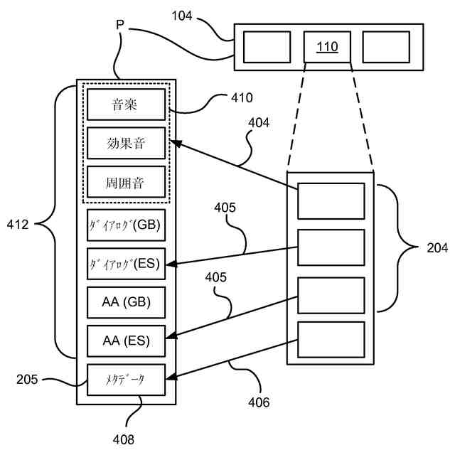
ドルビーAC-4は、リッチなメディア・コンテンツを効率的に頒布するためのオーディオ・フォーマットである。AC-4は、効率的な仕方でコンテンツを頒布およびエンコードするための、放送者およびコンテンツ制作者にとっての柔軟なフレームワークを提供する。コンテンツはいくつかのサブストリームを通じて頒布されることができる。たとえば、あるサブストリームにはM&E(音楽および効果)、第二のサブストリームにはダイアログである。一部のオーディオ・コンテンツについては、たとえばダイアログの言語をある言語から別の言語に切り換えること、あるいはたとえばコンテンツへのコメンタリー・サブストリームまたは視覚障害者のための説明を含む追加的なサブストリームを追加できることが有利であることがある。
【0004】
消費者に呈示されるコンテンツの適正なレベル付けを保証するために、コンテンツのラウドネスがある程度の正確さをもって知られる必要がある。現行のラウドネス要件は、2dB(ATSC A/85)、0.5dB(EBU R128)の許容差をもち、一方、いくつかの仕様は0.1dBくらい低い許容差をもつ。つまり、コメンタリー・トラックをもち、第一の言語でのダイアログをもつ出力オーディオ信号のラウドネスは、コメンタリー・トラックがない、第二の言語でのダイアログをもつ出力オーディオ信号と実質的に同じラウドネスをもつべきということである。
【図面の簡単な説明】
【0005】
ここで例示的実施形態について付属の図面を参照しつつ述べる。
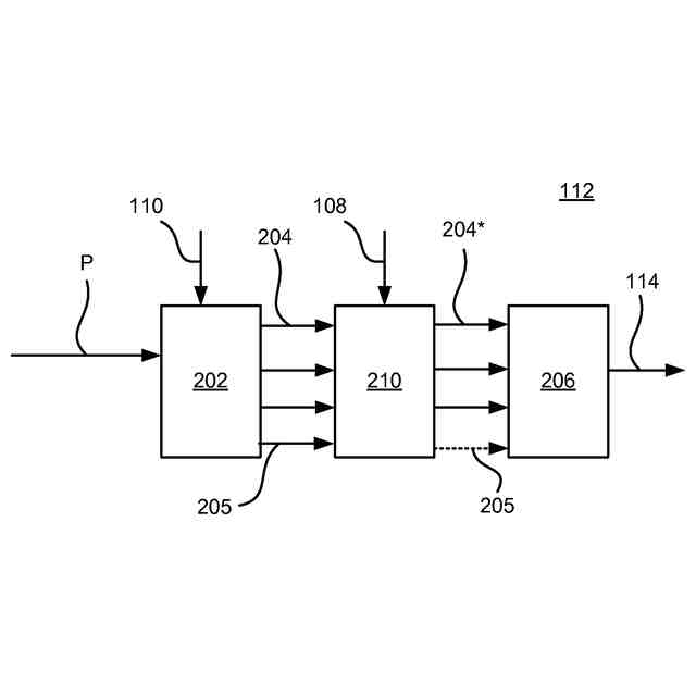
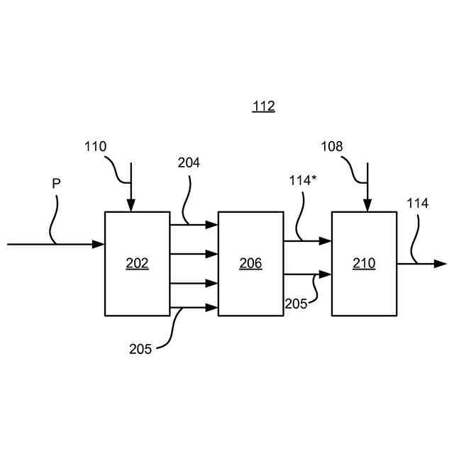
例として、ビットストリームを処理し、出力オーディオ信号の所望されるラウドネス・レベルを達成するためのデコーダを示す一般化されたブロック図である。
図1のデコーダの混合コンポーネントの第一の実施形態の一般化されたブロック図である。
図1のデコーダの混合コンポーネントの第二の実施形態の一般化されたブロック図である。
諸実施形態に基づく呈示データ構造を記述する図である。
諸実施形態に基づくオーディオ・エンコーダの一般化されたブロック図である。
図5のオーディオ・エンコーダによって形成されるビットストリームを示す図である。 すべての図面は概略的であり、概して本開示を明快にするために必要な部分を示すだけである。一方、他の部分は省略されたり、単に示唆されるだけでであったりすることがある。特に断わりのない限り、同様の参照符号は異なる図における同様の部分を指す。
【発明を実施するための形態】
【0006】
上記に鑑み、目的は、出力オーディオ信号にどんなコンテンツ・サブストリームが混合されるかとは関係なく、出力オーディオ信号についての所望されるラウドネス・レベルを提供することをねらいとする、エンコーダおよびデコーダならびに関連する方法を提供することである。
【0007】
〈I.概観――デコーダ〉
第一の側面によれば、例示的実施形態は、デコード方法、デコーダおよびデコードのためのコンピュータ・プログラム・プロダクトを提案する。提案される方法、デコーダおよびコンピュータ・プログラム・プロダクトは一般に同じ特徴および利点をもちうる。
【0008】
例示的実施形態によれば、それぞれオーディオ信号を表わす複数のコンテンツ・サブストリームを含むビットストリームを処理する方法が提供される。本方法は:前記ビットストリームから、一つまたは複数の呈示データ構造を抽出する段階であって、各呈示データ構造は前記コンテンツ・サブストリームのうち少なくとも一つへの参照を含み、各呈示データ構造はさらに、参照される一つまたは複数のコンテンツ・サブストリームの組み合わせを記述するラウドネス・データを表わすメタデータ・サブストリームへの参照を含む、段階と;前記一つまたは複数の呈示データ構造のうちのある選択された呈示データ構造および所望されるラウドネス・レベルを示すデータを受領する段階と;選択された呈示データ構造によって参照される一つまたは複数のコンテンツ・サブストリームをデコードする段階と;デコードされたコンテンツ・サブストリームに基づいて出力オーディオ信号を形成する段階とを含み、本方法はさらに、前記選択された呈示データ構造によって参照されるラウドネス・データに基づいて、前記デコードされた一つまたは複数のコンテンツ・サブストリームまたは前記出力オーディオ信号を処理して、前記所望されるラウドネス・レベルを達成することを含む。
【0009】
選択された呈示データ構造および所望されるラウドネス・レベルを示すデータは典型的には、デコーダにおいて利用可能なユーザー設定である。ユーザーはたとえば、リモコンを使ってダイアログがフランス語である呈示データ構造を選択したり、および/または所望される出力ラウドネス・レベルを増減させたりしてもよい。多くの実施形態では、出力ラウドネス・レベルは再生装置のキャパシティに関係している。いくつかの実施形態によれば、出力ラウドネス・レベルはボリュームによって制御される。結果として、選択された呈示データ構造および所望されるラウドネス・レベルを示すデータは典型的には、デコーダによって受領されるビットストリームには含まれない。
【0010】
本稿での用法では、「ラウドネス」は、音の強度の、モデル化された音響心理学的な測定値を表わす。換言すれば、ラウドネスは、平均的なユーザーによって知覚される音(単数または複数)のボリュームの近似を表わす。
(【0011】以降は省略されています)
この特許をJ-PlatPat(特許庁公式サイト)で参照する
関連特許
個人
イヤーピース
26日前
個人
イヤーマフ
1か月前
個人
監視カメラシステム
1か月前
キーコム株式会社
光伝送線路
1か月前
個人
スイッチシステム
1か月前
サクサ株式会社
中継装置
1か月前
個人
スキャン式車載用撮像装置
1か月前
サクサ株式会社
中継装置
1か月前
キヤノン株式会社
撮像装置
5日前
サクサ株式会社
無線システム
1か月前
ヤマハ株式会社
放音制御装置
1か月前
キヤノン電子株式会社
画像読取装置
1か月前
サクサ株式会社
無線通信装置
1か月前
個人
映像表示装置、及びARグラス
1か月前
キヤノン電子株式会社
画像読取装置
1か月前
サクサ株式会社
無線通信装置
1か月前
キヤノン電子株式会社
画像読取装置
26日前
株式会社リコー
画像形成装置
1か月前
キヤノン株式会社
画像処理装置
29日前
日本電気株式会社
海底分岐装置
1か月前
個人
発信機及び発信方法
1か月前
キヤノン電子株式会社
シート搬送装置
26日前
キヤノン株式会社
情報処理装置
13日前
キヤノン電子株式会社
画像処理システム
1か月前
株式会社JVCケンウッド
通信システム
2か月前
沖電気工業株式会社
画像形成装置
1か月前
株式会社NTTドコモ
端末
1か月前
株式会社NTTドコモ
端末
1か月前
シャープ株式会社
表示装置
26日前
株式会社NTTドコモ
端末
1か月前
日本セラミック株式会社
超音波送受信器
13日前
シャープ株式会社
端末装置
1か月前
シャープ株式会社
表示装置
26日前
有限会社フィデリックス
マイクロフォン
2か月前
株式会社NTTドコモ
端末
1か月前
株式会社NTTドコモ
端末
1か月前
続きを見る
他の特許を見る