TOP
|
特許
|
意匠
|
商標
特許ウォッチ
Twitter
他の特許を見る
10個以上の画像は省略されています。
公開番号
2025176032
公報種別
公開特許公報(A)
公開日
2025-12-03
出願番号
2025136838,2024152075
出願日
2025-08-20,2020-11-25
発明の名称
デプロイメントオーケストレータにおけるドリフトを検出するための技術
出願人
オラクル・インターナショナル・コーポレイション
代理人
弁理士法人深見特許事務所
主分類
G06F
8/61 20180101AFI20251126BHJP(計算;計数)
要約
【課題】インフラストラクチャオーケストレーションサービスCIOSを実行する方法、記憶媒体、システム及び装置を提供する。
【解決手段】CIOSにおいて安全プランを使用する方法であって、複数のコンピュータプロセッサのうちの少なくとも1つが、デプロイメント設定ファイルに少なくとも部分的に基づくリソースと動作とのリストを含む安全プランを受信し、安全プランの承認を受信すると、リソースのリストの少なくとも1つに対応する動作を実行するように準備し、動作を安全プランと比較し、動作が安全プランの一部である場合、動作を実行し、動作が安全プランの一部でない場合、デプロイメントを停止し、デプロイメントが安全プランに準拠していないという通知をユーザに送信する。
【選択図】図6
特許請求の範囲
【請求項1】
方法であって、
複数のコンピュータプロセッサのうちの少なくとも1つが、第1の実行ターゲットおよび第2の実行ターゲットへのデプロイメントのための設定ファイルを受信することと、
前記複数のコンピュータプロセッサのうちの少なくとも1つが、前記第1の実行ターゲットの第1の安全プランを生成することとを備え、前記第1の安全プランは、前記設定ファイルに少なくとも部分的に基づく前記第1の実行ターゲットにおけるデプロイメントに関連するリソースとそれぞれの動作との第1のリストを含み、前記方法はさらに、
前記複数のコンピュータプロセッサのうちの少なくとも1つが、前記第1の安全プランの承認を受信することと、
前記複数のコンピュータプロセッサのうちの少なくとも1つが、前記第2の実行ターゲットの第2の安全プランを生成することとを備え、前記第2の安全プランは、前記設定ファイルに少なくとも部分的に基づく前記第2の実行ターゲットにおけるデプロイメントに関連するリソースとそれぞれの動作との第2のリストを含み、前記方法はさらに、
前記複数のコンピュータプロセッサのうちの少なくとも1つが、前記第2の安全プランが前記第1の安全プランのサブセットであるかどうかを判断することと、
前記第2の安全プランが前記第1の安全プランのサブセットであるという判断に従って、
前記複数のコンピュータプロセッサのうちの少なくとも1つが、前記第1の安全プランの承認に少なくとも部分的に基づいて、前記第2の安全プランを自動的に承認することと、
前記複数のコンピュータプロセッサのうちの少なくとも1つが、自動的に承認された前記第2の安全プランを前記第2の実行ターゲットに送信することとを備える、方法。
続きを表示(約 1,100 文字)
【請求項2】
前記第2の安全プランが前記第1の安全プランのサブセットではないという判断に従って、
前記第2の安全プランが前記第1の安全プランのサブセットではないと示す通知と、
前記第2の安全プランに関連するリソースとそれぞれの動作との前記第2のリストとを提示するためのユーザインターフェイスを準備することをさらに備える、請求項1に記載の方法。
【請求項3】
前記第2の安全プランのリソースとそれぞれの動作との前記第2のリストと、前記第1の安全プランのリソースとそれぞれの動作との前記第1のリストとの少なくとも1つの差を決定することをさらに備える、請求項2に記載の方法。
【請求項4】
前記第2の安全プランのリソースとそれぞれの動作との前記第2のリストの他のすべての視覚的表現の上に、前記少なくとも1つの差を提示するための前記ユーザインターフェイスを準備することをさらに備える、請求項3に記載の方法。
【請求項5】
前記第2の安全プランが前記第1の安全プランのサブセットであるかどうかを判断することは、前記複数のコンピュータプロセッサのうちの少なくとも1つが、前記第2の安全プランのリソースとそれぞれの動作との前記第2のリストの各リソースとそれぞれの動作とが、前記第1の安全プランのリソースとそれぞれの動作との前記第1のリストにリストされているかどうかを判断することを含む、先行する請求項のいずれか1項に記載の方法。
【請求項6】
前記第1の実行ターゲットは、クラウドインフラストラクチャオーケストレーションサービスの接続地域である、先行する請求項のいずれか1項に記載の方法。
【請求項7】
前記第2の実行ターゲットは、前記クラウドインフラストラクチャオーケストレーションサービスの切断地域である、請求項6に記載の方法。
【請求項8】
前記切断地域は、前記切断地域にデプロイする命令を受信するように構成された環境を含み、前記切断地域はさらに、前記切断地域の外側でいかなるデータも送信しないように構成されている、請求項7に記載の方法。
【請求項9】
前記第2の安全プランは、前記第2の実行ターゲットでのデプロイメントのためのものである、請求項7または8に記載の方法。
【請求項10】
前記第2の安全プランは、前記第1の安全プランに少なくとも部分的に基づく前記第1の実行ターゲットにおけるデプロイメントが成功したという判断にさらに従って、自動的に承認される、請求項9に記載の方法。
(【請求項11】以降は省略されています)
発明の詳細な説明
【背景技術】
【0001】
関連出願の参照
本願は、米国特許法第119条(e)に従って、2020年1月20日に出願された「TECHNIQUES FOR DETECTING DRIFT IN A DEPLOYMENT ORCHESTRATOR(デプロイメントオー
ケストレータにおけるドリフトを検出するための技術)」と題される米国出願番号第62/963,413号、2020年9月21日に出願された「TECHNIQUES FOR DETECTING DRIFT IN A DEPLOYMENT ORCHESTRATOR(デプロイメントオーケストレータにおけるドリフ
トを検出するための技術)」と題される米国出願番号第17/027,527号、および2020年9月21日に出願された「TECHNIQUES FOR MANAGING DRIFT IN A DEPLOYMENT ORCHESTRATOR(デプロイメントオーケストレータにおけるドリフトを管理するための技術)」と題される米国出願番号第17/027,507号の利益および優先権を主張し、これらの内容全体は、あらゆる目的のために参照により援用される。
続きを表示(約 3,700 文字)
【0002】
背景
今日、クラウドインフラストラクチャサービスでは、多くの個々のサービスが利用されて、クラウドインフラストラクチャサービスの多くの地域にわたって(それぞれ)コードおよび設定がプロビジョニングされ、デプロイされている。これらのツールは、特に、プロビジョニングが概して宣言型であり、コードをデプロイすることが必須であることを考慮すると、使用するためにかなりの手作業が必要になる。くわえて、サービスチームおよび地域の数が増加するにつれて、クラウドインフラストラクチャサービスは、増加し続けなければならない。より多数のより小さい地域にデプロイするクラウドインフラストラクチャサービスのストラテジーの中には、地域ごとの支出を含むものがあるが、これらはうまくスケーリングされないことがある。
【発明の概要】
【0003】
簡潔な概要
インフラストラクチャオーケストレーションサービスを実行するための技術について説明する。いくつかの例では、デプロイメント設定ファイルに少なくとも部分的に基づくリソースと動作とのリストを含む安全プランが受信され得る。安全プランの承認を受信すると、リソースのリストの少なくとも1つに対応する動作が実行されるように準備可能になり得る。動作が安全プランと比較され得る。動作が安全プランの一部であると判断された場合、動作は実行され得る。動作が安全プランの一部でないと判断された場合、デプロイメントは停止され得、デプロイメントが安全プランに準拠していないという通知が送信され得る。いくつかの例では、ドリフトが生じた場合、動作は安全プランの一部でないことがある。
【0004】
他の例では、コンピュータ読取可能記憶媒体は、プロセッサによって実行されると、プロセッサに本明細書で説明するさまざまな動作を実行させることが可能な命令を含み得る。デプロイメント設定ファイルに基づくリソースと動作とのリストを含み得る安全プランが受信され得る。安全プランの承認が受信され得る。デプロイメント設定ファイルに従ったリソースのリストの少なくとも1つに対応する動作が、実行されるように準備され得る。動作が安全プランと比較され得る。動作が安全プランの一部であると判断された場合、動作は実行され得る。動作が安全プランの一部でないと判断された場合、デプロイメントは停止され得、デプロイメントが安全プランに準拠していないという通知が送信され得る。
【0005】
さらに別の例では、システムは、プロセッサと、プロセッサによって実行されると、本
明細書で説明する動作を実行するようにシステムを構成することが可能な命令を記憶することができるメモリとを含み得る。デプロイメント設定ファイルに少なくとも部分的に基づくリソースと動作とのリストを含み得る安全プランが受信され得る。安全プランの承認が受信され得る。承認に基づいて、リソースのリストの少なくとも1つに対応する動作が、実行されるように準備され得る。動作が安全プランと比較され得る。動作が安全プランの一部であると判断された場合、動作は実行され得る。動作が安全プランの一部でないと判断された場合、デプロイメントは停止され得、デプロイメントが安全プランに準拠していないという通知が送信され得る。
【0006】
他の例では、方法は、複数のコンピュータプロセッサのうちの少なくとも1つが、デプロイメント設定ファイルに少なくとも部分的に基づくリソースのリストとそれぞれの動作とを含む安全プランを受信することを備え得る。方法はさらに、安全プランの承認の指示の受信に従って、複数のコンピュータプロセッサのうちの少なくとも1つが、デプロイメント設定ファイルに従うリソースのリストの少なくとも1つに対応する動作を実行する準備を行うことを備え得る。方法はさらに、動作を安全プランと比較することを備え得る。方法はさらに、動作が安全プランの一部であるという判断に従って、複数のコンピュータプロセッサのうちの少なくとも1つが、動作を実行することを備え得る。方法はさらに、動作が安全プランの一部でないという判断に従って、複数のコンピュータプロセッサのうちの少なくとも1つが、デプロイメントを停止することと、複数のコンピュータプロセッサのうちの少なくとも1つが、デプロイメントが安全プランに準拠していないという通知を送信することとを備え得る。
【0007】
他の例では、コンピュータ読取可能記憶媒体は、プロセッサによって実行されると、プロセッサに本明細書で説明するさまざまな動作を実行させることが可能な命令を含み得る。動作は、デプロイメント設定ファイルに少なくとも部分的に基づくリソースとそれぞれの動作とのリストを含む安全プランを受信することを含み得る。動作はさらに、安全プランの承認の指示の受信に従って、デプロイメント設定ファイルに従うリソースのリストの少なくとも1つに対応する動作を実行する準備を行うことと、動作を安全プランと比較することとを含み得る。動作はさらに、動作が安全プランの一部であるという判断に従って、動作を実行することを含み得る。動作はさらに、動作が安全プランの一部でないという判断に従って、デプロイメントを停止することと、デプロイメントが安全プランに準拠していないという通知を送信することとを含み得る。
【0008】
他の例では、システムは、プロセッサと、プロセッサによって実行されると、本明細書で説明する動作を実行するようにシステムを構成することが可能な命令を記憶可能なメモリとを備え得る。動作は、デプロイメント設定ファイルに少なくとも部分的に基づくリソースとそれぞれの動作とのリストを含む安全プランを受信することを含み得る。動作はさらに、安全プランの承認の指示の受信に従って、デプロイメント設定ファイルに従うリソースのリストの少なくとも1つに対応する動作を実行する準備を行うことを含み得る。動作はさらに、動作を安全プランと比較することを含み得る。動作はさらに、動作が安全プランの一部であるという判断に従って、動作を実行することを含み得る。動作はさらに、動作が安全プランの一部でないという判断に従って、デプロイメントを停止することと、デプロイメントが安全プランに準拠していないという通知を送信することとを含み得る。
【0009】
本明細書に記載の方法のいずれかに記載のステップのための手段を備える装置。
任意の特定の要素または行為の記述を容易に識別するために、参照番号の最上位の数字(単数または複数)は、その要素が最初に導入される図面番号を指す。
【図面の簡単な説明】
【0010】
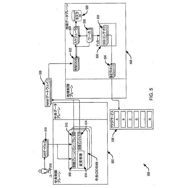
少なくとも1つの実施形態に係る、クラウドインフラストラクチャオーケストレーションサービスの少なくともいくつかの要素を実装するためのアーキテクチャを示すブロック図である。
少なくとも1つの実施形態に係る、クラウドインフラストラクチャオーケストレーションサービスの少なくともいくつかの要素を実装するためのアーキテクチャを示すブロック図である。
少なくとも1つの実施形態に係るフロックの例を説明するためのフロー図である。
少なくとも1つの実施形態に係るフロックの例を説明するためのフロー図である。
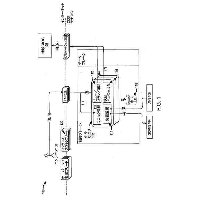
少なくとも1つの実施形態に係るクラウドインフラストラクチャオーケストレーションサービスを示すブロック図である。
少なくとも1つの実施形態に係る、クラウドインフラストラクチャオーケストレーションサービスにおいて安全プランを使用するためのプロセスを説明するためのフローチャートである。
少なくとも1つの実施形態に係る、クラウドインフラストラクチャオーケストレーションサービスにおいて安全プランを生成するためのプロセスを説明するためのフローチャートである。
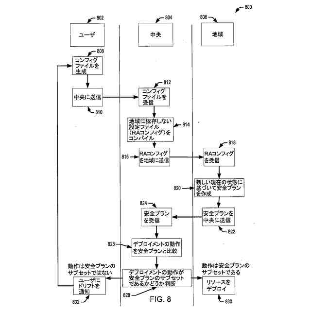
少なくとも1つの実施形態に係る、安全プランが生成および使用される態様を説明するためのスイムレーン図である。
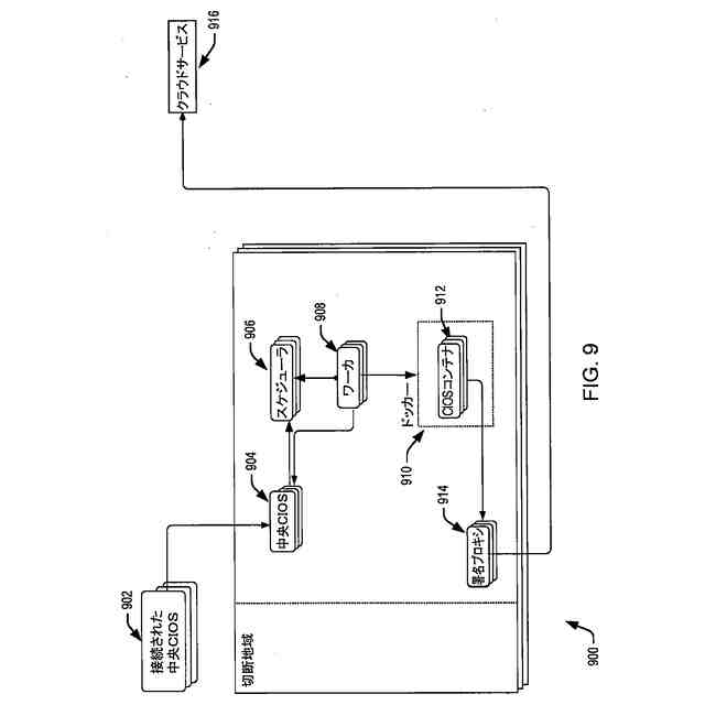
少なくとも1つの実施形態に係る、切断地域を示すブロック図である。
少なくとも1つの実施形態に係る、切断地域において安全プランを使用するためのプロセスを説明するためのフローチャートである。
少なくとも1つの実施形態に係る分散型システムを示すブロック図である。
少なくとも1つの実施形態に係る、実施形態のシステムの1つ以上のコンポーネントによって提供されるサービスがクラウドサービスとして提供され得るシステム環境の1つ以上のコンポーネントを示すブロック図である。
本開示のさまざまな実施形態が実装され得るコンピュータシステムの例を示すブロック図である。
【発明を実施するための形態】
(【0011】以降は省略されています)
この特許をJ-PlatPat(特許庁公式サイト)で参照する
関連特許
個人
詐欺保険
1か月前
個人
縁伊達ポイン
1か月前
個人
職業自動販売機
19日前
個人
RFタグシート
1か月前
個人
5掛けポイント
26日前
個人
QRコードの彩色
1か月前
個人
地球保全システム
2か月前
個人
ペルソナ認証方式
1か月前
個人
自動調理装置
1か月前
個人
情報処理装置
29日前
個人
残土処理システム
1か月前
個人
表変換編集支援システム
2か月前
個人
農作物用途分配システム
1か月前
個人
インターネットの利用構造
1か月前
個人
知的財産出願支援システム
1か月前
個人
サービス情報提供システム
21日前
個人
タッチパネル操作指代替具
1か月前
個人
パスワード管理支援システム
2か月前
個人
スケジュール調整プログラム
1か月前
個人
携帯端末障害問合せシステム
1か月前
個人
学習用データ生成装置
今日
個人
エリアガイドナビAIシステム
1か月前
株式会社キーエンス
受発注システム
2か月前
個人
食品レシピ生成システム
2か月前
株式会社キーエンス
受発注システム
2か月前
株式会社キーエンス
受発注システム
2か月前
個人
海外支援型農作物活用システム
2か月前
個人
AIキャラクター制御システム
2か月前
個人
システム及びプログラム
2か月前
個人
未来型家系図構築システム
2か月前
キヤノン株式会社
印刷システム
1か月前
個人
音声対話型帳票生成支援システム
2か月前
個人
音声・通知・再配達UX制御構造
1か月前
個人
帳票自動生成型SaaSシステム
1か月前
個人
人格進化型対話応答制御システム
2か月前
キヤノン株式会社
情報処理装置
13日前
続きを見る
他の特許を見る