TOP
|
特許
|
意匠
|
商標
特許ウォッチ
Twitter
他の特許を見る
10個以上の画像は省略されています。
公開番号
2025175772
公報種別
公開特許公報(A)
公開日
2025-12-03
出願番号
2024082026
出願日
2024-05-20
発明の名称
洗浄方法
出願人
株式会社ダイフク
代理人
弁理士法人 HARAKENZO WORLD PATENT & TRADEMARK
主分類
B60S
3/04 20060101AFI20251126BHJP(車両一般)
要約
【課題】パッカー車の洗浄品質を向上させる。
【解決手段】洗浄装置を用いたパッカー車の洗浄方法であり、開閉扉(73)が開状態であり、積込機構(71)の先端を投入部(70Y)の内底部(72)まで下げた状態のパッカー車(7)に対し、後方から洗浄液を噴射することによって積込機構(71)の外側を洗浄する第1工程と、開閉扉(73)が閉状態であり、投入部(70Y)が略水平位置にある状態のパッカー車(7)に対し、投入部(70Y)の下方から洗浄液を噴射することにより、積込機構(71)の内側を洗浄する第2工程と、を含む。
【選択図】図5
特許請求の範囲
【請求項1】
洗浄装置を用いたパッカー車の洗浄方法であって、
前記パッカー車はゴミを投入する投入部と、投入されたゴミを収容する収容部とを有しており、
前記洗浄装置は、
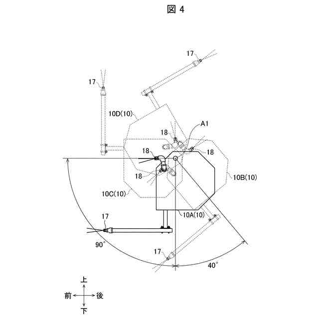
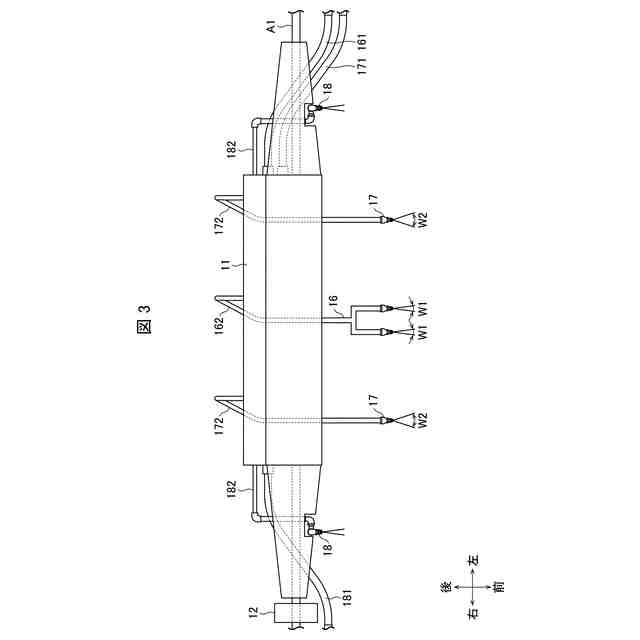
車幅方向に沿って延伸し、洗浄液を噴射する複数のノズルを有する洗浄ユニットであって、軸を中心に回転可能であるとともに車長方向に移動可能な洗浄ユニットを備える洗浄装置であり、
前記投入部の投入口を開閉する開閉扉が開状態であり、該投入部内に位置しゴミを前記収容部内に積み込むための積込機構の先端を前記投入部の内底部まで下げた状態のパッカー車に対し、該パッカー車の後方から洗浄液を噴射することによって該積込機構の外側を洗浄する第1工程と、
前記開閉扉が閉状態であり、該投入部の跳ね上げにより該投入部が略水平位置にある状態のパッカー車に対し、該パッカー車の後端よりも前方かつ前記投入部の下方に位置する前記洗浄ユニットから前記投入部に対して洗浄液を噴射することにより、前記積込機構の内側を洗浄する第2工程と、を含む洗浄方法。
続きを表示(約 820 文字)
【請求項2】
前記複数のノズルは、前記洗浄ユニットの車幅方向端部に位置し、噴射しつつ、左右スイング可能な第1ノズルと、前記洗浄ユニットの車幅方向中央に位置し、噴射しつつ、左右スイング可能な第2ノズルとを有し、
前記第1工程は、前記第1ノズルを用いて前記投入部内部を洗浄する全体洗浄工程と、前記第2ノズルを用いて前記積込機構の可動部を洗浄する局所洗浄工程とを含む、請求項1に記載の洗浄方法。
【請求項3】
前記第2工程は、前記第1ノズルから前記積込機構の内面に対して洗浄液を噴射することにより、前記積込機構の内面を洗浄する内面洗浄工程を含む、請求項2に記載の洗浄方法。
【請求項4】
前記パッカー車の前記積込機構が、ゴミを前記収容部に圧縮収容する圧縮板を有しており、
前記第2工程の後に、前記投入部の跳ね上げによって水平位置よりも高い位置まで上げられているとともに、前記圧縮板の先端が前記投入口の下端に位置している状態のパッカー車に対し、該パッカー車の後端よりも前方かつ前記投入部の下方に位置する前記洗浄ユニットの前記第2ノズルから前記投入部の内底部に対して洗浄液を噴射することにより、該内底部を洗浄する追加工程を含む、請求項3に記載の洗浄方法。
【請求項5】
前記パッカー車の前記積込機構が、ゴミを押し込む位置まで持ち上げる持上板を有しており、
前記第2工程において、前記持上板の先端は前記投入口の下端に位置している、請求項3に記載の洗浄方法。
【請求項6】
前記第2工程は、前記第2ノズルから前記内底部に対して洗浄液を噴射することにより、前記内底部を洗浄する内底部洗浄工程をさらに含む、請求項5に記載の洗浄方法。
【請求項7】
前記第1ノズルの噴射角度は、前記第2ノズルの噴射角度よりも広角である、請求項2に記載の洗浄方法。
発明の詳細な説明
【技術分野】
【0001】
本発明は洗浄装置を用いてパッカー車を洗浄する洗浄方法に関する。
続きを表示(約 1,900 文字)
【背景技術】
【0002】
例えば、特許文献1には、ゴミを投入するホッパー、及びホッパーから投入されたゴミを収容するゴミ収容箱の内部の洗浄を行うパッカー車の洗浄装置が開示されている。
【先行技術文献】
【特許文献】
【0003】
特開昭57-158148号公報
【発明の概要】
【発明が解決しようとする課題】
【0004】
しかしながら、上述のような従来技術はホッパーの裏側などの洗浄が好適に実施されない。
【0005】
本発明の一態様は、パッカー車の洗浄品質を向上させることを目的とする。
【課題を解決するための手段】
【0006】
上記の課題を解決するために、本発明の一態様に係る洗浄方法は、洗浄装置を用いたパッカー車の洗浄方法であって、前記パッカー車はゴミを投入する投入部と、投入されたゴミを収容する収容部とを有しており、前記洗浄装置は、車幅方向に沿って延伸し、洗浄液を噴射する複数のノズルを有する洗浄ユニットであって、軸を中心に回転可能であるとともに車長方向に移動可能な洗浄ユニットを備える洗浄装置であり、前記投入部の投入口を開閉する開閉扉が開状態であり、該投入部内に位置しゴミを前記収容部内に積み込むための積込機構の先端を前記投入部の内底部まで下げた状態のパッカー車に対し、該パッカー車の後方から洗浄液を噴射することによって該積込機構の外側を洗浄する第1工程と、前記開閉扉が閉状態であり、該投入部の跳ね上げにより該投入部が略水平位置にある状態のパッカー車に対し、該パッカー車の後端よりも前方かつ前記投入部の下方に位置する前記洗浄ユニットから前記投入部に対して洗浄液を噴射することにより、前記積込機構の内側を洗浄する第2工程と、を含む。
【発明の効果】
【0007】
本発明の一態様によれば、パッカー車の洗浄品質を向上させることができる。
【図面の簡単な説明】
【0008】
本発明の実施形態1に係る洗浄装置の概要を示す斜視図である。
本発明の実施形態1に係る洗浄装置の概要を示す斜視図である。
本発明の実施形態1に係る洗浄ユニットを上方からみた平面図である。
本発明の実施形態1に係る洗浄ユニットが回転している様子を示す図である。
本発明の実施形態1に係る洗浄方法の一例を示すフローチャートである。
本発明の実施形態1に係る制御装置が備える操作パネルの一例を示す図である。
本発明の実施形態1に係る洗浄方法の各工程を説明するための図である。
本発明の実施形態1に係る洗浄方法の各工程を説明するための図である。
本発明の実施形態1に係る洗浄方法の各工程を説明するための図である。
本発明の実施形態2に係る洗浄方法の各工程を説明するための図である。
本発明の実施形態2に係る洗浄方法の各工程を説明するための図である。
【発明を実施するための形態】
【0009】
〔実施形態1〕
以下、本発明の一実施形態について、詳細に説明する。まず、本実施形態において、パッカー車7を洗浄する洗浄装置100について、図1および図2を参照して説明する。図1および図2は、洗浄装置100の概要を示す斜視図である。説明の便宜上、図1等の矢印で示されるように、上下方向、前後方向、及び左右方向を定義する。前方向は、洗浄装置100に対して、洗浄するパッカー車7が停車している方向である。前後方向はパッカー車7の車長方向であり、左右方向はパッカー車7の車幅方向であり、上下方向はパッカー車7の車高方向である。なお、本実施形態において、上下方向は前後方向及び左右方向と直交する方向であって、前後方向は左右方向と直交する方向である。
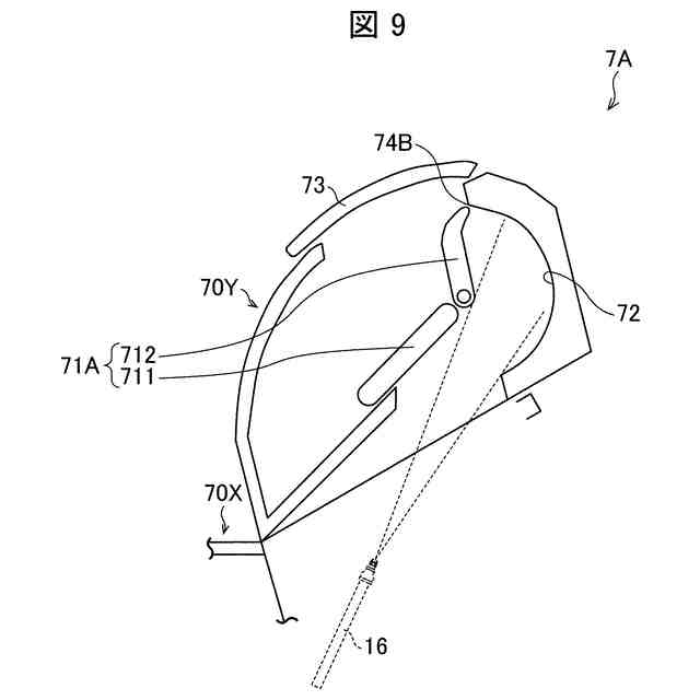
【0010】
パッカー車7は、いわゆるゴミ収集車であり、その車台に収容箱70Xおよび投入箱70Yを備えている。収容箱70Xは本開示に係る収容部の一例であり、投入箱70Yは本開示に係る投入部の一例である。収容箱70Xの後方の開口部と投入箱70Yの前面の開口部とは連通している。投入箱70Yの上部は、収容箱70Xに対して軸支されており、収容箱70Xに対して傾動し得る。洗浄装置100が洗浄するパッカー車7は、例えば、プレス式パッカー車または回転式パッカー車であってよい。プレス式パッカー車および回転式パッカー車の詳細については、後述する。
(【0011】以降は省略されています)
この特許をJ-PlatPat(特許庁公式サイト)で参照する
関連特許
株式会社ダイフク
倉庫
1か月前
株式会社ダイフク
洗浄方法
5日前
株式会社ダイフク
洗浄装置
10日前
株式会社ダイフク
要素結合構造
11日前
株式会社ダイフク
物品搬送設備
18日前
株式会社ダイフク
投影システム
19日前
株式会社ダイフク
物品搬送設備
1か月前
株式会社ダイフク
遠隔操作システム
1か月前
株式会社ダイフク
シミュレーションシステム
18日前
株式会社ダイフク
物品配置決定システム、及び、物品積付システム
1か月前
個人
前輪キャスター
3か月前
個人
上部一体型自動車
2か月前
個人
タイヤ脱落防止構造
3か月前
個人
空間形成装置
1か月前
個人
マスタシリンダ
2か月前
日本精機株式会社
表示装置
3か月前
日本精機株式会社
照明装置
1か月前
個人
常設収納型サンバイザー
1か月前
日本精機株式会社
車載表示装置
1か月前
日本精機株式会社
車載表示装置
1か月前
日本精機株式会社
車室演出装置
3か月前
日本精機株式会社
車載表示装置
2か月前
株式会社ニフコ
照明装置
3か月前
日本精機株式会社
画像投映装置
2か月前
株式会社豊田自動織機
産業車両
1か月前
株式会社ニフコ
収納装置
3か月前
日本精機株式会社
車載表示装置
1か月前
個人
回転窓ワイパー装置
1か月前
株式会社SUBARU
車両
2か月前
井関農機株式会社
作業車両
2か月前
日本精機株式会社
車両用表示装置
2か月前
日本精機株式会社
車両用報知装置
1か月前
個人
音による速度計とプログラム
1か月前
日本精機株式会社
車両用投射装置
2か月前
個人
聴覚と触覚を利用する速度計
3日前
日本精機株式会社
車両用投影装置
2か月前
続きを見る
他の特許を見る