TOP
|
特許
|
意匠
|
商標
特許ウォッチ
Twitter
他の特許を見る
公開番号
2025175188
公報種別
公開特許公報(A)
公開日
2025-11-28
出願番号
2025159825,2021162316
出願日
2025-09-26,2021-09-30
発明の名称
偏光板および画像表示装置
出願人
日東電工株式会社
代理人
個人
主分類
G02B
5/30 20060101AFI20251120BHJP(光学)
要約
【課題】画像表示装置の表示特性の向上に寄与し得る偏光板を提供すること。
【解決手段】本発明の実施形態による偏光板は、基材と表面処理層とを有する積層フィルムと、前記積層フィルムの前記基材側に配置される偏光子と、を有し、前記表面処理層側の反射率は2%以下で、前記表面処理層側のヘイズは1%以上13%以下であり、透過率は45.5%以上であり、有機ELパネルに用いられる。
【選択図】図1
特許請求の範囲
【請求項1】
基材と表面処理層とを有する積層フィルムと、
前記積層フィルムの前記基材側に配置される偏光子と、を有し、
前記表面処理層側の反射率は2%以下で、前記表面処理層側のヘイズは1%以上13%以下であり、
透過率は45.5%以上であり、
有機ELパネルに用いられる、
偏光板。
発明の詳細な説明
【技術分野】
【0001】
本発明は、偏光板および画像表示装置に関する。
続きを表示(約 2,200 文字)
【背景技術】
【0002】
画像表示装置に搭載される画像表示パネルには、一般的に、偏光板が用いられている。代表的には、偏光板と位相差板とを一体化した位相差層付偏光板が広く用いられている(例えば、特許文献1)。近年、画像表示装置として、エレクトロルミネセンス(EL)表示装置(例えば、有機EL表示装置)が急速に普及しており(代表的には、スマートフォン、テレビ)、その用途はさらに広がりを見せている。例えば、ラップトップ型パーソナルコンピューター、タブレット端末への適用が検討されている。そして、用途の広がりに伴い、あらゆる状況において優れた表示特性が要求される。
【先行技術文献】
【特許文献】
【0003】
特許第3325560号公報
【発明の概要】
【発明が解決しようとする課題】
【0004】
上記に鑑み、本発明の主たる目的は、画像表示装置の表示特性の向上に寄与し得る偏光板を提供することにある。
【課題を解決するための手段】
【0005】
本発明の実施形態によれば、偏光板が提供される。この偏光板は、基材と表面処理層とを有する積層フィルムと、前記積層フィルムの前記基材側に配置される偏光子と、を有し、前記表面処理層側の反射率は2%以下で、前記表面処理層側のヘイズは1%以上13%以下であり、透過率は45.5%以上であり、有機ELパネルに用いられる。
1つの実施形態においては、上記表面処理層は、樹脂成分および中空粒子を含む第一の層を含み、前記第一の層は、前記樹脂成分100重量部に対し、前記中空粒子を11重量部以上含む。
1つの実施形態においては、上記表面処理層は、樹脂成分および中空粒子を含む第一の層を含み、前記第一の層は、前記樹脂成分100重量部に対し、前記中空粒子を40重量部以下含む。
1つの実施形態においては、上記偏光板は、位相差層をさらに有し、前記位相差層の面内位相差Re(550)は100nm~190nmである。
本発明の別の実施形態によれば、画像表示装置が提供される。この画像表示装置は、画像表示パネル本体と、前記画像表示パネル本体の視認側に配置される上記偏光板と、を有する。
1つの実施形態においては、上記偏光板は上記視認側の最表面に位置する。
【発明の効果】
【0006】
本発明の実施形態によれば、優れた表示特性を達成することができる。
【図面の簡単な説明】
【0007】
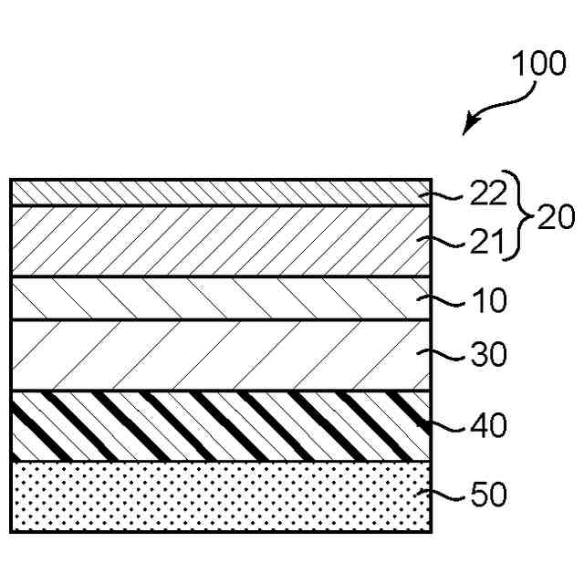
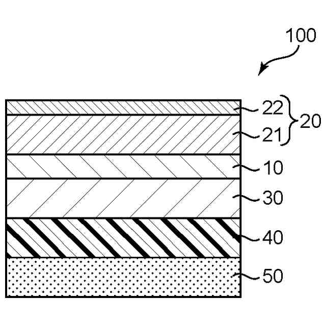
本発明の1つの実施形態による偏光板の概略の構成を示す模式的な断面図である。
本発明の1つの実施形態による有機EL表示装置において、有機ELパネルに偏光板が配置された状態の概略を示す模式的な断面図である。
画面焼付きの評価方法を説明するための図である。
【発明を実施するための形態】
【0008】
以下、本発明の実施形態について図面を参照しつつ説明するが、本発明はこれらの実施形態には限定されない。また、図面は説明をより明確にするため、実施の形態に比べ、各部の幅、厚み、形状等について模式的に表される場合があるが、あくまで一例であって、本発明の解釈を限定するものではない。
【0009】
(用語および記号の定義)
本明細書における用語および記号の定義は下記の通りである。
(1)屈折率(nx、ny、nz)
「nx」は面内の屈折率が最大になる方向(すなわち、遅相軸方向)の屈折率であり、「ny」は面内で遅相軸と直交する方向(すなわち、進相軸方向)の屈折率であり、「nz」は厚み方向の屈折率である。
(2)面内位相差(Re)
「Re(λ)」は、23℃における波長λnmの光で測定した面内位相差である。例えば、「Re(550)」は、23℃における波長550nmの光で測定した面内位相差である。Re(λ)は、層(フィルム)の厚みをd(nm)としたとき、式:Re(λ)=(nx-ny)×dによって求められる。
(3)厚み方向の位相差(Rth)
「Rth(λ)」は、23℃における波長λnmの光で測定した厚み方向の位相差である。例えば、「Rth(550)」は、23℃における波長550nmの光で測定した厚み方向の位相差である。Rth(λ)は、層(フィルム)の厚みをd(nm)としたとき、式:Rth(λ)=(nx-nz)×dによって求められる。
【0010】
図1は、本発明の1つの実施形態による偏光板の概略の構成を示す模式的な断面図である。偏光板(代表的には、円偏光板)100は、偏光子10と、偏光子10の片側に配置された積層フィルム20と、偏光子10のもう片側に配置された保護層30と位相差層(代表的には、λ/4板)40と粘着剤層50とを有する。積層フィルム20は、基材21と基材21上に形成された表面処理層22とを含み、基材21は、偏光子10の保護層として機能し得る。保護層30は省略されてもよく、この場合、位相差層40は偏光子の保護層として機能し得る。
(【0011】以降は省略されています)
この特許をJ-PlatPat(特許庁公式サイト)で参照する
関連特許
日東電工株式会社
ロボット
11日前
日東電工株式会社
粘着シート
18日前
日東電工株式会社
光学積層体
3日前
日東電工株式会社
光学積層体
3日前
日東電工株式会社
光学積層体
3日前
日東電工株式会社
補強フィルム
10日前
日東電工株式会社
パッチアンテナ
11日前
日東電工株式会社
パッチアンテナ
11日前
日東電工株式会社
ロール体の製造方法
18日前
日東電工株式会社
多孔質ポリマーシート
18日前
日東電工株式会社
フレキシブル多層回路基板
18日前
日東電工株式会社
積層光学フィルムの製造方法
5日前
日東電工株式会社
粘着シートおよび光半導体装置
18日前
日東電工株式会社
表面保護フィルムおよびその用途
10日前
日東電工株式会社
表面保護フィルムおよび光学積層体
3日前
日東電工株式会社
反射防止フィルム及びその製造方法
26日前
日東電工株式会社
ロール体およびロール体の製造方法
10日前
日東電工株式会社
ヒータモジュール、およびロボット
11日前
日東電工株式会社
生体信号取得用粘着性電極及び生体センサ
26日前
日東電工株式会社
光電混載基板、光モジュール、および、電子機器
12日前
日東電工株式会社
配線回路基板、および、配線回路基板の製造方法
1か月前
日東電工株式会社
積層フィルム
24日前
日東電工株式会社
画像表示装置
1か月前
日東電工株式会社
消音システム
20日前
日東電工株式会社
光学フィルム片
20日前
日東電工株式会社
光電混載基板、光電変換モジュール、光通信デバイスおよび電子機器
10日前
日東電工株式会社
配線回路基板付きシートの製造方法、および、配線回路基板付きシート
11日前
日東電工株式会社
光ファイバ、光トランシーバモジュール、および、光ファイバケーブル
10日前
日東電工株式会社
フィルムおよび積層体
24日前
日東電工株式会社
フィルムおよび積層体
10日前
日東電工株式会社
積層体及びスイッチ装置
26日前
日東電工株式会社
偏光板および画像表示装置
10日前
日東電工株式会社
積層光学フィルムの製造方法
5日前
日東電工株式会社
配線回路基板、半導体パッケージ基板、電子機器および配線回路基板の製造方法
3日前
日東電工株式会社
位相差層付偏光板および画像表示装置
10日前
日東電工株式会社
位相差フィルム、偏光板および画像表示装置
3日前
続きを見る
他の特許を見る