TOP
|
特許
|
意匠
|
商標
特許ウォッチ
Twitter
他の特許を見る
10個以上の画像は省略されています。
公開番号
2025178149
公報種別
公開特許公報(A)
公開日
2025-12-05
出願番号
2025079958
出願日
2025-05-12
発明の名称
配線回路基板、半導体パッケージ基板、電子機器および配線回路基板の製造方法
出願人
日東電工株式会社
代理人
個人
,
個人
,
個人
主分類
H05K
1/02 20060101AFI20251128BHJP(他に分類されない電気技術)
要約
【課題】接続信頼性および導電性が向上された配線回路基板、半導体パッケージ基板、電子機器および配線回路基板の製造方法を提供する。
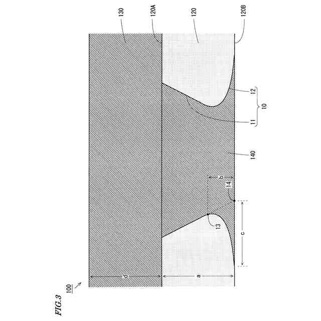
【解決手段】配線回路基板は、第1の導体層130、絶縁層120、第2の導体層130および接続導体140を含む。絶縁層120は、第1の導体層130上に積層され、積層方向に貫通する接続開口10を有する。第2の導体層130は、絶縁層120上に積層される。接続導体140は、絶縁層120の接続開口10内に形成され、第1の導体層130と第2の導体層130とを電気的に接続する。接続開口10は、積層方向に平行な断面において、内周面の少なくとも一部が直線状を有する直線部11と、直線部11の端部から積層方向に交差する平面内で広がりつつ延びる裾部12とを有する。積層方向において、絶縁層120の厚みに対する裾部12の厚みの比は0.5以下である。
【選択図】図3
特許請求の範囲
【請求項1】
第1の導体層と、
前記第1の導体層上に積層され、積層方向に貫通する接続開口を有する絶縁層と、
前記絶縁層上に積層された第2の導体層と、
前記絶縁層の前記接続開口内に形成され、前記第1の導体層と前記第2の導体層とを電気的に接続する接続導体とを備え、
前記接続開口は、
前記積層方向に平行な断面において、内周面の少なくとも一部が直線状を有する直線部と、
前記直線部の端部から前記積層方向に交差する平面内で広がりつつ延びる裾部とを有し、
前記積層方向において、前記絶縁層の厚みに対する前記裾部の厚みの比は0.5以下である、配線回路基板。
続きを表示(約 1,000 文字)
【請求項2】
前記平面内における前記直線部からの前記裾部の最大広がり量に対する前記裾部の厚みの比は0.8以上である、請求項1記載の配線回路基板。
【請求項3】
前記接続開口の前記裾部は、前記断面において、湾曲した内周面を有する、請求項1または2記載の配線回路基板。
【請求項4】
前記第2の導体層の厚みに対する前記平面内における前記直線部からの前記裾部の最大広がり量の比は0.5以上である、請求項1または2記載の配線回路基板。
【請求項5】
前記絶縁層は、アクリル酸およびメタクリル酸の少なくとも一方を含む、請求項1または2記載の配線回路基板。
【請求項6】
前記接続開口と前記接続導体との境界面から検出される全元素の含有量に対する二価イオンの合計含有量の比は0.5%以下である、請求項1または2記載の配線回路基板。
【請求項7】
前記絶縁層は、
前記接続開口として第1の接続開口が形成された第1の絶縁層と、
前記第1の絶縁層に積層され、前記積層方向に貫通する第2の接続開口が形成された第2の絶縁層とを含み、
前記第1の接続開口と前記第2の接続開口とは、互いに連続し、
前記接続導体は、
前記第1の絶縁層の前記第1の接続開口に形成された第1の接続導体と、
前記第2の絶縁層の前記第2の接続開口に形成され、前記第1の接続導体と電気的に接続された第2の接続導体とを含む、請求項1または2記載の配線回路基板。
【請求項8】
請求項1または2記載の配線回路基板を含む、半導体パッケージ基板。
【請求項9】
請求項8記載の半導体パッケージ基板を含む、電子機器。
【請求項10】
第1の導体層上に絶縁層を積層する工程と、
前記絶縁層に、当該絶縁層を積層方向に貫通する接続開口を形成する工程と、
前記絶縁層上に第2の導体層を積層する工程と、
前記接続開口内に、前記第1の導体層と前記第2の導体層とを電気的に接続する接続導体を形成する工程とを含み、
前記接続開口は、
前記積層方向に平行な断面において、内周面の少なくとも一部が直線状を有する直線部と、前記直線部の端部から前記積層方向に交差する平面内で広がりつつ延びる裾部とを有し、
前記積層方向において、前記絶縁層の厚みに対する前記裾部の厚みの比は0.5以下である、配線回路基板の製造方法。
発明の詳細な説明
【技術分野】
【0001】
本発明は、配線回路基板、半導体パッケージ基板、電子機器および配線回路基板の製造方法に関する。
続きを表示(約 1,400 文字)
【背景技術】
【0002】
複数の電子部品間で電気信号を伝達するために配線回路基板が用いられる。例えば特許文献1には、多層構造を有する配線基板が記載されている。この配線基板においては、複数の樹脂絶縁層が積層される。各樹脂絶縁層上には、任意の導体パターンを有する導体層が形成される。少なくとも1つの樹脂絶縁層に形成された導体層は、当該樹脂絶縁層を貫通するビア導体と一体的に形成され、当該樹脂絶縁層の反対側の導体層と電気的に接続される。
【0003】
積層された複数の導体層のうち、最上段の導体層は、金属ポストが形成された導体パッドを含む。金属ポストは、導体パッドと接続する部分の周縁で、楔状の被覆絶縁層により導体パッドから分離される。すなわち、金属ポストと導体パッドとが接続する部分の周縁では、金属ポストと導体パッドとの隙間に被覆絶縁層が介在する。導体パッドは、金属ポストを介して、半導体素子等の外部の電子部品が有する接続用のパッドと電気的に接続される。
【先行技術文献】
【特許文献】
【0004】
特開2022-15755号公報
【発明の概要】
【発明が解決しようとする課題】
【0005】
特許文献1には、上記の構造によれば、金属ポストと導体パッドとの間にかかる応力を効果的に分散させ、金属ポストと導体パッドとが接続する部分近傍での剥離またはクラック等の不良の発生が効果的に抑制され得ることが記載されている。また、被覆絶縁層と金属ポストとの密着領域、および被覆絶縁層と導体パッドとの密着領域が大きくされるため、被覆絶縁層と金属ポストとの密着性、および被覆絶縁層と導体パッドとの密着性が向上し、剥離の発生が抑制され得ることが記載されている。
【0006】
しかしながら、金属ポストと導体パッドとの間の接触面積が減少するため、金属ポストと導体パッドとの間の接続信頼性が低下する。また、金属ポストと導体パッドとの間の接触面積が減少に伴い、金属ポストと導体パッドとの間の電気抵抗が増大するため、配線回路基板の導電性が低下する。そのため、接続信頼性および導電性が向上された配線回路基板が求められている。
【0007】
本発明の目的は、接続信頼性および導電性が向上された配線回路基板、半導体パッケージ基板、電子機器および配線回路基板の製造方法を提供することである。
【課題を解決するための手段】
【0008】
本発明の第1の局面に従う配線回路基板は、第1の導体層と、前記第1の導体層上に積層され、積層方向に貫通する接続開口を有する絶縁層と、前記絶縁層上に積層された第2の導体層と、前記絶縁層の前記接続開口内に形成され、前記第1の導体層と前記第2の導体層とを電気的に接続する接続導体とを備え、前記接続開口は、前記積層方向に平行な断面において、内周面の少なくとも一部が直線状を有する直線部と、前記直線部の端部から前記積層方向に交差する平面内で広がりつつ延びる裾部とを有し、前記積層方向において、前記絶縁層の厚みに対する前記裾部の厚みの比は0.5以下である。
【0009】
本発明の第2の局面に従う半導体パッケージ基板は、上記の配線回路基板を含む。
【0010】
本発明の第3の局面に従う電子機器は、上記の半導体パッケージ基板を含む。
(【0011】以降は省略されています)
この特許をJ-PlatPat(特許庁公式サイト)で参照する
関連特許
日東電工株式会社
吸着材
2か月前
日東電工株式会社
積層体
2か月前
日東電工株式会社
照明装置
1か月前
日東電工株式会社
電子装置
2か月前
日東電工株式会社
シート体
1か月前
日東電工株式会社
発光装置
2か月前
日東電工株式会社
ロボット
11日前
日東電工株式会社
導光部材
1か月前
日東電工株式会社
光学積層体
3か月前
日東電工株式会社
光学積層体
1か月前
日東電工株式会社
光ファイバ
2か月前
日東電工株式会社
粘着シート
1か月前
日東電工株式会社
粘着シート
1か月前
日東電工株式会社
粘着シート
18日前
日東電工株式会社
光学積層体
3日前
日東電工株式会社
光学積層体
3日前
日東電工株式会社
光学積層体
3日前
日東電工株式会社
粘着シート
1か月前
日東電工株式会社
粘着シート
1か月前
日東電工株式会社
光学積層体
2か月前
日東電工株式会社
粘着剤組成物
2か月前
日東電工株式会社
配線回路基板
1か月前
日東電工株式会社
スイッチ装置
2か月前
日東電工株式会社
温度測定装置
2か月前
日東電工株式会社
粘着剤組成物
2か月前
日東電工株式会社
温度測定装置
2か月前
日東電工株式会社
補強フィルム
10日前
日東電工株式会社
偏光フィルム
2か月前
日東電工株式会社
調光フィルム
2か月前
日東電工株式会社
スイッチ装置
1か月前
日東電工株式会社
複合ケーブル
3か月前
日東電工株式会社
配線回路基板
1か月前
日東電工株式会社
光学粘着シート
2か月前
日東電工株式会社
表面保護シート
1か月前
日東電工株式会社
光学粘着シート
2か月前
日東電工株式会社
光学粘着シート
2か月前
続きを見る
他の特許を見る