TOP
|
特許
|
意匠
|
商標
特許ウォッチ
Twitter
他の特許を見る
10個以上の画像は省略されています。
公開番号
2025175144
公報種別
公開特許公報(A)
公開日
2025-11-28
出願番号
2025158081,2024073656
出願日
2025-09-24,2019-08-15
発明の名称
画像処理装置、および表示制御方法
出願人
サターン ライセンシング エルエルシー
,
Saturn Licensing LLC
代理人
個人
,
個人
主分類
H04N
21/431 20110101AFI20251120BHJP(電気通信技術)
要約
【課題】コンテンツの提供側が意図した通りの映像をユーザに視聴させることができるようにする。
【解決手段】本技術の一側面の画像処理装置は、配信サービスによって配信されるコンテンツを視聴中に画質調整を行うことが指示された場合、配信サービスによって配信されるコンテンツに対する画質調整モードの設定に関する表示を含む画質調整メニューを表示させ、異なるサービス事業者により個別に提供される複数の配信サービスの中から選択された配信サービスによって配信されるコンテンツの画質を、配信サービスのコンテンツに対応する画質調整パラメータに従って調整し、他の配信サービスによって配信されるコンテンツを視聴中に画質調整を行うことが指示された場合、画質調整モードの設定に関する表示を含まない画質調整メニューを表示させる。本技術は、映像コンテンツの配信サービスに対応したテレビジョン受像機に適用することができる。
【選択図】図8
特許請求の範囲
【請求項1】
配信サービスによって配信されるコンテンツを視聴中に画質調整を行うことが指示された場合、前記配信サービスによって配信されるコンテンツに対する画質調整モードの設定に関する表示を含む画質調整メニューを表示させ、
異なるサービス事業者により個別に提供される複数の配信サービスの中から選択された前記配信サービスによって配信されるコンテンツの画質を、前記配信サービスのコンテンツに対応する画質調整パラメータに従って調整し、
他の配信サービスによって配信されるコンテンツを視聴中に画質調整を行うことが指示された場合、前記画質調整モードの設定に関する表示を含まない前記画質調整メニューを表示させる
回路を備える
画像処理装置。
続きを表示(約 1,100 文字)
【請求項2】
前記回路は、前記複数の配信サービスのそれぞれからの対応するコンテンツを単一の入力で受信させる
請求項1に記載の画像処理装置。
【請求項3】
前記画質調整メニューの表示は、前記コンテンツの表示と同時に提示される
請求項1または2に記載の画像処理装置。
【請求項4】
前記画質調整メニューの表示は、前記コンテンツの表示と同時に提示され、かつ、前記画質調整メニューは、前記コンテンツに重ねて表示される
請求項1に記載の画像処理装置。
【請求項5】
前記回路は、前記画質調整メニューのデフォルト設定を保持する
請求項1に記載の画像処理装置。
【請求項6】
専用の画質調整モードが用意されている配信サービスによって配信されるコンテンツの視聴中に画質調整を行うことが指示された場合にのみ、前記配信サービスによって配信されるコンテンツに対する前記専用の画質調整モードの設定に関する表示を含む画質調整メニューを表示させ、
前記配信サービスと異なる他の配信サービスによって配信されるコンテンツの視聴中に画質調整を行うことが指示された場合、前記専用の画質調整モードの設定に関する表示を含まない前記画質調整メニューを表示させる
表示制御回路と、
前記配信サービスのコンテンツに対応する画質調整パラメータに従って、前記配信サービスによって配信されるコンテンツの画質を調整する画質調整制御回路と
を備える画像処理装置。
【請求項7】
前記表示制御回路は、前記専用の画質調整モードのオン、または前記専用の画質調整モードのオフの設定に用いられる表示を含む前記画質調整メニューを表示させる
請求項6に記載の画像処理装置。
【請求項8】
前記表示制御回路は、前記専用の画質調整モードがオンに設定された場合、他の画質調整モードの設定に用いられる表示を操作不可の状態で表示させる
請求項6または7に記載の画像処理装置。
【請求項9】
前記表示制御回路は、前記専用の画質調整モードがオンに設定された場合、画質の調整に関するそれぞれの項目の設定に用いられる表示を操作可能な状態で表示させる
請求項7に記載の画像処理装置。
【請求項10】
前記画質調整パラメータは、前記配信サービスによって配信される全てのコンテンツに共通のパラメータとして設定される
請求項6に記載の画像処理装置。
(【請求項11】以降は省略されています)
発明の詳細な説明
【技術分野】
【0001】
本技術は、画像処理装置、および表示制御方法に関し、特に、コンテンツの提供側が意図した通りの映像をユーザに視聴させることができるようにした画像処理装置、および表示制御方法に関する。
続きを表示(約 1,900 文字)
【背景技術】
【0002】
近年、映画やテレビジョン番組などの映像コンテンツの配信サービスが普及してきている。
【0003】
SDR(Standard Dynamic Range)の映像を収録したコンテンツだけでなく、ダイナミックレンジを拡張したHDR(High Dynamic Range)の映像を収録したコンテンツの配信を行う配信サービスも出てきている。
【先行技術文献】
【特許文献】
【0004】
特開2010-124429号公報
【発明の概要】
【発明が解決しようとする課題】
【0005】
コンテンツの提供者側としては、提供者が意図した通りの画質の映像をユーザに視聴してもらうことが好ましい。
【0006】
TVの画質調整機能を用いてユーザが自ら輝度の調整をしているときには、提供者が意図した画質とは異なる画質の映像が表示されてしまうことがある。
【0007】
本技術はこのような状況に鑑みてなされたものであり、コンテンツの提供側が意図した通りの映像をユーザに視聴させることができるようにするものである。
【課題を解決するための手段】
【0008】
本技術の一側面の画像処理装置は、配信サービスによって配信されるコンテンツを視聴中に画質調整を行うことが指示された場合、前記配信サービスによって配信されるコンテンツに対する画質調整モードの設定に関する表示を含む画質調整メニューを表示させ、異なるサービス事業者により個別に提供される複数の配信サービスの中から選択された前記配信サービスによって配信されるコンテンツの画質を、前記配信サービスのコンテンツに対応する画質調整パラメータに従って調整し、他の配信サービスによって配信されるコンテンツを視聴中に画質調整を行うことが指示された場合、前記画質調整モードの設定に関する表示を含まない前記画質調整メニューを表示させる回路を備える。
【0009】
本技術の一側面においては、配信サービスによって配信されるコンテンツを視聴中に画質調整を行うことが指示された場合、前記配信サービスによって配信されるコンテンツに対する画質調整モードの設定に関する表示を含む画質調整メニューが表示され、異なるサービス事業者により個別に提供される複数の配信サービスの中から選択された前記配信サービスによって配信されるコンテンツの画質が、前記配信サービスのコンテンツに対応する画質調整パラメータに従って調整され、他の配信サービスによって配信されるコンテンツを視聴中に画質調整を行うことが指示された場合、前記画質調整モードの設定に関する表示を含まない前記画質調整メニューが表示される。
【図面の簡単な説明】
【0010】
コンテンツ配信システムの構成例を示す図である。
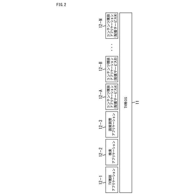
TVのアプリケーション構造の例を示す図である。
番組視聴中の画質調整メニューの表示例を示す図である。
図3の画質調整メニューを拡大して示す図である。
Picture modeの選択メニューの表示例を示す図である。
画質調整メニューの他の表示例を示す図である。
図6の画質調整メニューを拡大して示す図である。
図6の画質調整メニューを拡大して示す図である。
画質調整メニューの表示の切り替えの例を示す図である。
TVのハードウェア構成例を示すブロック図である。
TVの機能構成例を示すブロック図である。
画質調整処理について説明するフローチャートである。
他の画質調整処理について説明するフローチャートである。
デバイスの例を示す図である。
画質調整パラメータの提供の例を示す図である。
画質調整パラメータの提供の他の例を示す図である。
画質調整メニューの表示例を示す図である。
画質調整メニューを拡大して示す図である。
Partner Offsetの設定時の表示例を示す図である。
Offsetメニューを拡大して示す図である。
配信サービス毎の画面の表示例を示す図である。
画質調整パラメータの管理の例を示す図である。
コンピュータの構成例を示すブロック図である。
【発明を実施するための形態】
(【0011】以降は省略されています)
この特許をJ-PlatPat(特許庁公式サイト)で参照する
関連特許
個人
イヤーピース
25日前
個人
イヤーマフ
1か月前
個人
監視カメラシステム
1か月前
キーコム株式会社
光伝送線路
1か月前
個人
スイッチシステム
1か月前
WHISMR合同会社
収音装置
2か月前
サクサ株式会社
中継装置
1か月前
サクサ株式会社
中継装置
1か月前
個人
スキャン式車載用撮像装置
1か月前
キヤノン株式会社
撮像装置
4日前
アイホン株式会社
電気機器
2か月前
個人
ワイヤレスイヤホン対応耳掛け
2か月前
サクサ株式会社
無線通信装置
1か月前
キヤノン電子株式会社
画像読取装置
1か月前
個人
映像表示装置、及びARグラス
1か月前
サクサ株式会社
無線通信装置
1か月前
サクサ株式会社
無線システム
1か月前
株式会社リコー
画像形成装置
1か月前
ヤマハ株式会社
放音制御装置
1か月前
キヤノン電子株式会社
画像読取装置
1か月前
キヤノン電子株式会社
画像読取装置
25日前
キヤノン電子株式会社
画像読取装置
2か月前
日本電気株式会社
海底分岐装置
1か月前
キヤノン株式会社
情報処理装置
12日前
キヤノン電子株式会社
シート搬送装置
25日前
キヤノン株式会社
画像処理装置
28日前
キヤノン株式会社
撮像システム
2か月前
個人
発信機及び発信方法
1か月前
シャープ株式会社
表示装置
25日前
有限会社フィデリックス
マイクロフォン
2か月前
株式会社NTTドコモ
端末
1か月前
株式会社JVCケンウッド
通信システム
2か月前
株式会社松平商会
携帯機器カバー
2か月前
シャープ株式会社
端末装置
1か月前
株式会社NTTドコモ
端末
1か月前
株式会社NTTドコモ
端末
1か月前
続きを見る
他の特許を見る