TOP
|
特許
|
意匠
|
商標
特許ウォッチ
Twitter
他の特許を見る
10個以上の画像は省略されています。
公開番号
2025174871
公報種別
公開特許公報(A)
公開日
2025-11-28
出願番号
2025065260,2024201872
出願日
2025-04-10,2024-05-15
発明の名称
財務分析システム、財務分析方法及びプログラム
出願人
株式会社ウェルステックラボ
代理人
個人
主分類
G06Q
40/12 20230101AFI20251120BHJP(計算;計数)
要約
【課題】専門家ではない者であっても、経営に関する指標値を容易に把握できるようにすること。
【解決手段】財務分析システム100は、複数の事業体の財務に関する情報を取得する取得部3と、取得部3により取得した複数の事業体の財務に関する情報を合算する処理部4と、処理部4により合算した結果を出力する出力部5と、を備える。
【選択図】図25
特許請求の範囲
【請求項1】
複数の事業体の財務に関する情報を取得する取得部と、
前記取得部により取得した前記複数の事業体の財務に関する情報を合算する処理部と、
前記処理部により合算した財務に関する情報を、前記複数の事業体の財務に関する情報とは別に、新しい事業体に割り当てて記憶する記憶部と、
前記処理部により合算した結果と、合算前の前記複数の事業体の各々の前記財務に関する情報とを、出力させる出力部と、
を備える、
財務分析システム。
続きを表示(約 1,500 文字)
【請求項2】
前記処理部は、前記取得部により取得した財務に関する情報と、前記処理部により合算した結果とから、それぞれ経営に関する指標値を算出する、
請求項1に記載の財務分析システム。
【請求項3】
前記処理部は、前記取得部により取得した財務に関する情報と、前記処理部により合算した結果とから、それぞれ経営に関する指標値を算出し、
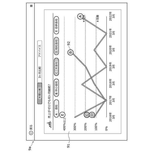
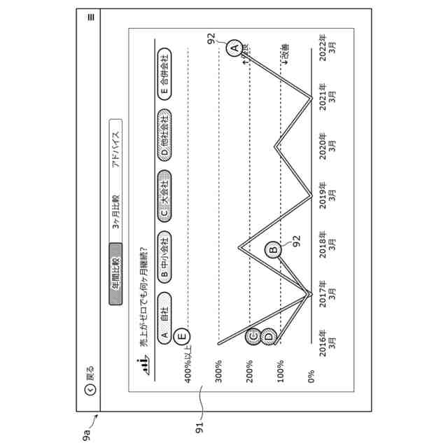
前記出力部は、一方の軸を時間とし、他方の軸を前記処理部によって算出された前記指標値としたグラフを表示する、
請求項1に記載の財務分析システム。
【請求項4】
前記処理部は、前記取得部により取得した財務に関する情報と、前記処理部により合算した結果とから、それぞれ経営に関する指標値を算出し、
前記出力部は、一方の軸を時間とし、他方の軸を前記処理部によって算出された前記指標値としたグラフを表示し、
前記出力部は、合算前の前記複数の事業体のそれぞれについて算出された指標値と、前記処理部により合算した結果から算出された指標値とを、前記グラフにそれぞれ表示する、
請求項1に記載の財務分析システム。
【請求項5】
前記処理部は、前記取得部で取得した前記複数の事業体の財務に関する情報の中から、ユーザが選択した事業体の財務に関する情報のみを合算する、
請求項1に記載の財務分析システム。
【請求項6】
前記処理部は、前記取得部で取得した事業体の財務に関する情報のみを合算する、
請求項1に記載の財務分析システム。
【請求項7】
前記処理部により処理された処理結果として表示画面を出力する表示部をさらに備え、
前記表示画面は、
売却又は買収を希望する事業体の情報を表示する領域と、
前記売却又は買収を希望する事業体の詳細情報を表示する領域と、を含み、
ユーザから詳細情報を表示する要求を受け付けた場合に、前記取得部で取得した事業体であって、ユーザが選択した事業体と、ユーザが選択した売却又は買収を希望する事業体とを、前記処理部で合算し、前記処理部により合算した結果から算出された経営に関する指標値を含む詳細情報を表示する、
請求項1に記載の財務分析システム。
【請求項8】
前記処理部により処理された処理結果として表示画面を出力する表示部をさらに備え、
前記表示画面は、
売却又は買収を希望する事業体の情報を表示する領域と、
前記売却又は買収を希望する事業体の詳細情報を表示する領域と、を含み、
ユーザから詳細情報を表示する要求を受け付けた場合に、前記取得部で取得した事業体であって、ユーザが選択した事業体と、ユーザが選択した売却又は買収を希望する事業体とを、前記処理部で合算し、前記処理部により合算した結果から算出された経営に関する指標値を含む詳細情報を表示し、
前記表示部は、前記詳細情報を表示する場合、経営に関する指標値のみを表示し、前記売却又は買収を希望する事業体の財務に関する情報を表示しない、
請求項1に記載の財務分析システム。
【請求項9】
前記処理部は、合算後の結果のうち、経営に関する指標値に基づいて、事業体の並び順を変える、
請求項1に記載の財務分析システム。
【請求項10】
少なくとも一つの前記事業体が、一の事業部である、
請求項1に記載の財務分析システム。
(【請求項11】以降は省略されています)
発明の詳細な説明
【技術分野】
【0001】
本発明は、財務分析システム、財務分析方法及びプログラムに関する。
続きを表示(約 2,300 文字)
【背景技術】
【0002】
特許文献1には、グラフ表示システムの一態様が記載されている。特許文献1に記載のグラフ表示システムは、役所や役場等で収集された福祉相談関係情報に基づいてグラフ表示を行うシステムである。
【0003】
この種のグラフシステムにおいて、例えば、事業体の財務に関する情報を表示させることで、ユーザは、事業体の財務状況や財務の傾向を把握しやすいメリットがある。
【先行技術文献】
【特許文献】
【0004】
特許第6869408号公報
【発明の概要】
【発明が解決しようとする課題】
【0005】
ところで、近年、M&A(Mergers and Acquisitions)による企業の合併買収が検討されるケースが増えてきている。しかし、グラフ表示システム等のシステムにより、各事業体の財務に関する情報を表示するだけでは、企業の合併や買収の検討には適切に使用することができない。
【0006】
本発明は、M&A等を行う際、合併又は買収の対象会社を取り入れる前後の分析を行うことができる財務分析システム、財務分析方法及びプログラムを提供することを目的とする。
【課題を解決するための手段】
【0007】
本発明に係る一態様の財務分析システムは、複数の事業体の財務に関する情報を取得する取得部と、前記取得部により取得した前記複数の事業体の財務に関する情報を合算する処理部と、前記処理部により合算した財務に関する情報を、前記複数の事業体の財務に関する情報とは別に、新しい事業体に割り当てて記憶する記憶部と、前記処理部により合算した結果と、合算前の前記複数の事業体の各々の前記財務に関する情報とを、出力させる出力部と、を備える。
【発明の効果】
【0008】
本発明に係る上記態様の財務分析システムは、M&A等を行う際、合併又は買収の対象会社を取り入れる前後の分析を行うことができるという利点がある。
【図面の簡単な説明】
【0009】
実施形態に係る財務分析システムのシステム構成図である。
実施形態に係る財務分析システムにおけるユーザ端末のブロック図である。
実施形態に係る財務分析システムにおける管理端末のブロック図である。
法人事業概況説明書の概略図である。
実施形態に係る財務分析システムにおいて、他社比較機能の表示画面の表示例を示す画面図である。
実施形態に係る財務分析システムにおいて、他社比較機能の表示画面の表示例を示す画面図である。
実施形態に係る財務分析システムにおいて、他社比較機能の表示画面の表示例を示す画面図である。
実施形態に係る財務分析システムにおいて、他社比較機能の表示画面の表示例を示す画面図である。
実施形態に係る財務分析システムにおいて、他社比較機能の表示画面の表示例を示す画面図である。
実施形態に係る財務分析システムにおいて、他社比較機能の表示画面の表示例を示す画面図である。
実施形態に係る財務分析システムにおいて、他社比較機能の表示画面の表示例を示す画面図である。
実施形態に係る財務分析システムにおいて、他社比較機能の表示画面の表示例を示す画面図である。
実施形態に係る財務分析システムにおいて、他社比較機能の表示画面の表示例を示す画面図である。
実施形態に係る財務分析システムにおいて、自社比較機能の表示画面の表示例を示す画面図である。
実施形態に係る財務分析システムにおいて、自社比較機能の表示画面の表示例において、買手会社、売手会社及び合併会社の情報を示す画面図である。
実施形態に係る財務分析システムにおいて、自社比較機能の表示画面の表示例において、買手会社、売手会社及び合併会社の情報を示す画面図である。
実施形態に係る財務分析システムにおいて、自社比較機能の表示画面の表示例において、買手会社、売手会社及び合併会社の情報を示す画面図である。
実施形態に係る財務分析システムにおいて、管理機能の表示画面の表示例である。
実施形態に係る財務分析システムにおいて、取得ステップのフローチャートである。
実施形態に係る財務分析システムにおいて、他社比較機能及び自社比較機能のフローチャートである。
実施形態に係る財務分析システムにおいて、管理機能のフローチャートである。
実施形態に係る財務分析システムにおいて、他社比較機能のフローチャートである。
実施形態に係る財務分析システムにおいて、自社比較機能のフローチャートである。
実施形態に係る財務分析システムにおいて、管理機能のフローチャートである。
実施形態に係る財務分析システムにおいて、表示画面の表示例において、売却(買収)希望企業一覧の情報を示す画面図である。
実施形態に係る財務分析システムにおいて、表示画面の表示例において、各指標の相性度の情報を示す画面図である。
実施形態に係る財務分析システムにおいて、表示画面の表示例において、自社と他社との合併後のランキングの情報を示す画面図である。
実施形態に係る財務分析システムにおいて、管理サーバの処理部が更に受付部とソート部を備えた場合のブロック図である。
【発明を実施するための形態】
【0010】
<実施形態>
(【0011】以降は省略されています)
この特許をJ-PlatPat(特許庁公式サイト)で参照する
関連特許
個人
詐欺保険
1か月前
個人
縁伊達ポイン
1か月前
個人
RFタグシート
1か月前
個人
5掛けポイント
24日前
個人
職業自動販売機
17日前
個人
地球保全システム
2か月前
個人
ペルソナ認証方式
1か月前
個人
QRコードの彩色
1か月前
個人
情報処理装置
27日前
個人
自動調理装置
1か月前
個人
残土処理システム
1か月前
個人
表変換編集支援システム
2か月前
個人
農作物用途分配システム
1か月前
個人
タッチパネル操作指代替具
1か月前
個人
サービス情報提供システム
19日前
個人
知的財産出願支援システム
1か月前
個人
インターネットの利用構造
1か月前
個人
スケジュール調整プログラム
1か月前
個人
携帯端末障害問合せシステム
1か月前
個人
パスワード管理支援システム
2か月前
株式会社キーエンス
受発注システム
2か月前
株式会社キーエンス
受発注システム
2か月前
個人
エリアガイドナビAIシステム
1か月前
個人
食品レシピ生成システム
2か月前
個人
システム及びプログラム
2か月前
株式会社キーエンス
受発注システム
2か月前
個人
海外支援型農作物活用システム
2か月前
個人
AIキャラクター制御システム
2か月前
個人
社会還元・施設向け供給支援構造
2か月前
個人
人格進化型対話応答制御システム
2か月前
個人
帳票自動生成型SaaSシステム
1か月前
キヤノン株式会社
情報処理装置
25日前
大同特殊鋼株式会社
疵判定方法
2か月前
個人
SaaS型勤務調整支援システム
2か月前
個人
音声対話型帳票生成支援システム
2か月前
エッグス株式会社
情報処理装置
1か月前
続きを見る
他の特許を見る