TOP
|
特許
|
意匠
|
商標
特許ウォッチ
Twitter
他の特許を見る
10個以上の画像は省略されています。
公開番号
2025174838
公報種別
公開特許公報(A)
公開日
2025-11-28
出願番号
2025005442
出願日
2025-01-15
発明の名称
撮像装置
出願人
パナソニックIPマネジメント株式会社
代理人
個人
,
個人
,
個人
主分類
H04N
23/68 20230101AFI20251120BHJP(電気通信技術)
要約
【課題】手ぶれによる画像の歪みの補正が画角の低減を抑制しながら効率良く行える撮像装置を提供する。
【解決手段】撮像装置は、光学系を介して被写体像を撮像して画像データを生成する撮像素子と、撮像装置のぶれ量を検出する検出部と、画像データにおいて画像を出力する部分を、検出部により検出されたぶれ量に応じて調整することにより像ぶれ補正を行う画像処理部と、画像処理部において行われる像ぶれ補正を制御する制御部とを備える。画像処理部において、光学系の歪曲収差に応じた歪曲補正が、画像データが示す画像領域に対して行われる。制御部は、光学系の焦点距離に応じて、画像処理部により歪曲補正済みの画像領域において行われる第1及び第2像ぶれ補正の間の比率を変更し、第1像ぶれ補正は、歪曲補正済みの画像領域における画像の歪みを補正し、第2像ぶれ補正は、当該画像領域において画像を出力する部分を移動させる。
【選択図】図15
特許請求の範囲
【請求項1】
撮像装置であって、
光学系を介して被写体像が形成される撮像領域を有し、前記被写体像を撮像して画像データを生成する撮像素子と、
前記撮像装置のぶれ量を検出する検出部と、
前記画像データにおいて画像を出力する部分を、前記検出部により検出されたぶれ量に応じて調整することにより像ぶれ補正を行う画像処理部と、
前記画像処理部において行われる像ぶれ補正を制御する制御部とを備え、
前記画像処理部において、前記光学系の歪曲収差に応じた歪曲補正が、前記画像データが示す画像領域に対して行われ、
前記制御部は、前記光学系の焦点距離に応じて、前記画像処理部により前記歪曲補正済みの画像領域において行われる第1及び第2像ぶれ補正の間の比率を変更し、
前記第1像ぶれ補正は、前記歪曲補正済みの画像領域における前記画像の歪みを補正し、
前記第2像ぶれ補正は、当該画像領域において前記画像を出力する部分を移動させる
撮像装置。
続きを表示(約 1,100 文字)
【請求項2】
前記光学系は、ズームレンズを含み、
前記制御部は、前記ズームレンズにより前記焦点距離が変化すると、前記第1像ぶれ補正と前記第2像ぶれ補正との間の比率を変更する
請求項1に記載の撮像装置。
【請求項3】
前記制御部は、前記焦点距離が所定の範囲において増加するほど、前記第1像ぶれ補正と前記第2像ぶれ補正との間の比率のうちの前記第2像ぶれ補正の割合が増加するように、当該比率を変更する
請求項1に記載の撮像装置。
【請求項4】
前記制御部は、前記検出されたぶれ量において前記撮像装置から被写体を見た視線方向が傾く姿勢の変化による前記画像の歪みを補正するように、前記画像処理部に前記第1像ぶれ補正を行わせる
請求項1に記載の撮像装置。
【請求項5】
前記画像処理部は、前記歪曲補正済みの画像領域において、前記撮像領域に対応する範囲の内部に前記部分の画像を切り出すために設けられる補正用領域を用いずに前記第1像ぶれ補正を行う
請求項1に記載の撮像装置。
【請求項6】
前記画像処理部は、前記歪曲補正済みの画像領域において、前記撮像領域に対応する範囲外まで拡大される領域を用いて、前記検出されたぶれ量に応じて、前記部分の画像を出力するために参照する領域の形状を調整することで、前記撮像領域に対応する範囲の内部に設けられる前記補正用領域を用いずに前記第1像ぶれ補正を行う
請求項5に記載の撮像装置。
【請求項7】
前記光学系の光軸と垂直な面内で前記撮像素子を移動させることにより光学的な像ぶれ補正を行う素子駆動部と、前記光軸と垂直な面内で前記光学系に含まれる補正レンズを移動させることにより光学的な像ぶれ補正を行うレンズ駆動部との少なくとも一方をさらに備え、
前記光学的な像ぶれ補正において、前記検出されたぶれ量を相殺するように、前記撮像素子と前記補正レンズとの少なくとも一方が移動され、
前記画像処理部は、前記歪曲補正済みの画像領域において、前記検出されたぶれ量に応じて前記画像を出力する部分を移動させるように、前記第2像ぶれ補正を行う
請求項1に記載の撮像装置。
【請求項8】
前記光学系の歪曲収差は、少なくとも前記撮像領域の周辺部において負であり、
前記画像処理部は、前記画像データが示す画像領域において、少なくとも前記周辺部に対応する領域を、前記撮像領域に対応する範囲外まで拡大して、前記歪曲補正を行う
請求項1に記載の撮像装置。
発明の詳細な説明
【技術分野】
【0001】
本開示は、手ぶれ補正機能を有する撮像装置に関する。
続きを表示(約 1,900 文字)
【背景技術】
【0002】
特許文献1は、撮像素子の撮像領域を効率よく利用して振れ補正を行うことを目的とした撮像装置を開示している。この撮像装置は、撮像画像に対して撮像光学系で生じた歪曲収差の補正が行われた画像から、振れ補正量(補正角度)に応じて回転あるいは移動させた抽出領域の画像を抽出する。このように、特許文献1の撮像装置では、歪曲収差の補正により画像の中心から外側方向に引き延ばした画像領域を利用して、抽出領域の回転あるいは移動により、撮像光学系の光軸周りの回転方向、あるいはパン方向及びチルト方向の振れが補正される。
【先行技術文献】
【特許文献】
【0003】
特開2010-273245号公報
【発明の概要】
【発明が解決しようとする課題】
【0004】
本開示は、手ぶれによる画像の歪みの補正が画角の低減を抑制しながら効率良く行える撮像装置を提供する。
【課題を解決するための手段】
【0005】
本開示の一態様における撮像装置は、光学系を介して被写体像が形成される撮像領域を有し、被写体像を撮像して画像データを生成する撮像素子と、撮像装置のぶれ量を検出する検出部と、画像データにおいて画像を出力する部分を、検出部により検出されたぶれ量に応じて調整することにより像ぶれ補正を行う画像処理部と、画像処理部において行われる像ぶれ補正を制御する制御部とを備える。画像処理部において、光学系の歪曲収差に応じた歪曲補正が、画像データが示す画像領域に対して行われる。制御部は、光学系の焦点距離に応じて、画像処理部により歪曲補正済みの画像領域において行われる第1及び第2像ぶれ補正の間の比率を変更し、第1像ぶれ補正は、歪曲補正済みの画像領域における画像の歪みを補正し、第2像ぶれ補正は、当該画像領域において画像を出力する部分を移動させる。
【発明の効果】
【0006】
本開示における撮像装置によると、手ぶれによる画像の歪みの補正が画角の低減を抑制しながら効率良く行える。
【図面の簡単な説明】
【0007】
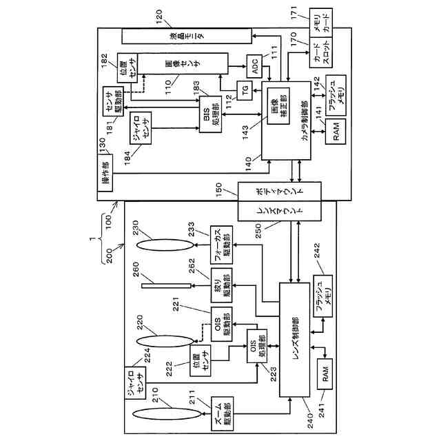
本開示の実施形態1に係るデジタルカメラの斜視図
実施形態1に係るデジタルカメラの構成を示すブロック図
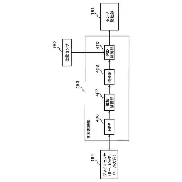
実施形態1のデジタルカメラにおけるBIS処理部の構成を示すブロック図
実施形態1のデジタルカメラのEIS機能による補正モードを説明するための図
デジタルカメラにおけるクロップありのEIS機能を説明するための図
デジタルカメラの光学系の歪曲収差に応じた補正を説明するための図
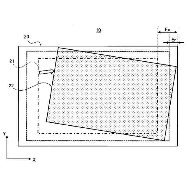
デジタルカメラのあおりによる手ぶれを説明するための図
実施形態1のデジタルカメラにおけるクロップレスのEIS機能を説明するための図
実施形態1のデジタルカメラの手ぶれ補正に関する全体動作を例示するフローチャート
デジタルカメラにおける歪曲補正パラメータの算出処理を説明するための図
デジタルカメラにおけるあおり補正パラメータの算出処理を例示するフローチャート
あおり補正パラメータの算出処理における余剰領域の算出処理を説明するための図
実施形態1の変形例に係るデジタルカメラの動作を例示するフローチャート
実施形態2に係るデジタルカメラの動作を説明するための図
実施形態2に係るデジタルカメラの動作を例示するフローチャート
【発明を実施するための形態】
【0008】
以下、本開示における実施の形態を、図面を適宜参照しながら説明する。ただし、詳細な説明において、従来技術および実質的に同一の構成に関する説明のうち不必要な部分は省略されることもある。これは、説明を簡単にするためである。また、以下の説明および添付の図面は、当業者が本開示を充分に理解できるよう開示されるのであって、特許請求の範囲の主題を限定することを意図されていない。
【0009】
(実施形態1)
実施形態1では、撮像装置の一例として、手ぶれ補正機能を有するデジタルカメラの例を説明する。
【0010】
1.構成
図1は、実施形態1に係るデジタルカメラ1の斜視図である。図2は、デジタルカメラ1の構成を示すブロック図である。デジタルカメラ1は、カメラ本体100とそれに着脱可能な交換レンズ200とから構成される。
(【0011】以降は省略されています)
この特許をJ-PlatPat(特許庁公式サイト)で参照する
関連特許
個人
イヤーピース
1か月前
個人
イヤーマフ
1か月前
個人
監視カメラシステム
1か月前
個人
スイッチシステム
1か月前
キーコム株式会社
光伝送線路
1か月前
サクサ株式会社
中継装置
2か月前
個人
スキャン式車載用撮像装置
1か月前
サクサ株式会社
中継装置
2か月前
WHISMR合同会社
収音装置
2か月前
キヤノン株式会社
撮像装置
4日前
キヤノン株式会社
撮像装置
11日前
キヤノン株式会社
撮像装置
3か月前
キヤノン株式会社
撮像装置
4日前
キヤノン株式会社
撮像装置
4日前
アイホン株式会社
電気機器
2か月前
個人
映像表示装置、及びARグラス
1か月前
キヤノン電子株式会社
画像読取装置
1か月前
株式会社リコー
画像形成装置
3か月前
株式会社リコー
画像形成装置
3か月前
キヤノン電子株式会社
画像読取装置
1か月前
キヤノン電子株式会社
画像読取装置
3か月前
株式会社リコー
画像形成装置
1か月前
ヤマハ株式会社
放音制御装置
1か月前
キヤノン電子株式会社
画像読取装置
1か月前
個人
ワイヤレスイヤホン対応耳掛け
2か月前
サクサ株式会社
無線システム
2か月前
サクサ株式会社
無線通信装置
2か月前
サクサ株式会社
無線通信装置
2か月前
キヤノン株式会社
画像処理装置
1か月前
個人
発信機及び発信方法
2か月前
キヤノン株式会社
情報処理装置
19日前
キヤノン株式会社
撮像システム
2か月前
キヤノン電子株式会社
シート搬送装置
1か月前
日本電気株式会社
海底分岐装置
1か月前
国立大学法人電気通信大学
小型光学装置
3か月前
株式会社NTTドコモ
端末
1か月前
続きを見る
他の特許を見る