TOP
|
特許
|
意匠
|
商標
特許ウォッチ
Twitter
他の特許を見る
公開番号
2025174268
公報種別
公開特許公報(A)
公開日
2025-11-28
出願番号
2024080433
出願日
2024-05-16
発明の名称
情報処理装置、情報処理装置の制御方法、及び情報処理装置の制御プログラム
出願人
株式会社LAILA
代理人
弁理士法人白坂
主分類
G06T
19/00 20110101AFI20251120BHJP(計算;計数)
要約
【課題】仮想空間における、オブジェクトを展示する空間の作成をより簡易に行うこと
【解決手段】仮想空間に複数のオブジェクトが展示された仮想展示空間を提供する情報処理装置は、仮想展示空間の設計指示を入力する複数の作業ユーザそれぞれの通信端末から送信された、仮想展示空間への複数のオブジェクトの配置指示を取得する取得部と、配置指示に応じて、複数のオブジェクトを仮想展示空間に配置する配置部と、配置指示に応じて更新された仮想展示空間を表示する表示用データを生成する生成部と、表示用データを複数の作業ユーザの通信端末に送信する送信部と、を備え、通信端末の表示部には、仮想展示空間に存在する複数のオブジェクトの一覧と、複数のオブジェクトの配置位置を示す仮想展示空間のマップとが表示され、配置指示は、作業ユーザによる、マップ上で複数のオブジェクトの配置位置を移動させる操作に応じて情報処理装置へ送信される。
【選択図】 図2
特許請求の範囲
【請求項1】
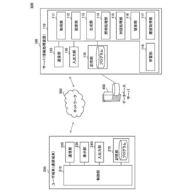
仮想空間に複数のオブジェクトが展示された仮想展示空間を提供する情報処理装置であって、
前記仮想展示空間の設計指示を入力する複数の作業ユーザそれぞれの通信端末から送信された、前記仮想展示空間への前記複数のオブジェクトの配置指示を取得する取得部と、
前記配置指示に応じて、前記複数のオブジェクトを前記仮想展示空間に配置する配置部と、
前記配置指示に応じて更新された前記仮想展示空間を表示する表示用データを生成する生成部と、
前記表示用データを前記複数の作業ユーザの前記通信端末に送信する送信部と、
を備え、
前記通信端末の表示部には、前記仮想展示空間に存在する前記複数のオブジェクトの一覧と、前記複数のオブジェクトの配置位置を示す前記仮想展示空間のマップとが表示され、前記配置指示は、前記作業ユーザによる、前記マップ上で前記複数のオブジェクトの配置位置を移動させる操作に応じて前記情報処理装置へ送信される、情報処理装置。
続きを表示(約 2,000 文字)
【請求項2】
前記オブジェクトが前記仮想展示空間に配置されたことに応じて、前記オブジェクトを照らす照明を自動的に設定する照明処理部をさらに備え、
前記生成部は、前記照明によって照らされた状態の前記オブジェクトを表示させる前記表示用データを生成する、
請求項1に記載の情報処理装置。
【請求項3】
前記送信部は、前記作業ユーザの前記通信端末において、前記仮想展示空間を俯瞰して表示する俯瞰表示、及び、前記仮想展示空間内に前記作業ユーザが位置した場合に前記作業ユーザの視点から前記仮想展示空間を表示するユーザ視点表示の少なくともいずれかを表示させる表示用データを送信する、
請求項1に記載の情報処理装置。
【請求項4】
前記情報処理装置は、前記複数の作業ユーザの通信端末で入力されたテキスト、音声、静止画像、及び動画像の少なくともいずれか1つを含むメッセージによる、前記複数の作業ユーザ間の対話機能を実現する対話部をさらに備える、
請求項1に記載の情報処理装置。
【請求項5】
前記情報処理装置は、前記オブジェクトの属性に応じた配置位置を提案する提案部をさらに備える、
請求項1に記載の情報処理装置。
【請求項6】
前記照明処理部は、前記照明の設定による、前記仮想展示空間の表示にかかる負荷を表示させる情報を前記通信端末に送信する、
請求項2に記載の情報処理装置。
【請求項7】
前記送信部は、設計が完了した前記仮想展示空間を表示させる表示用データを、一般ユーザが用いる通信端末に送信し、
前記情報処理装置は、前記一般ユーザの属性と、前記一般ユーザの前記仮想展示空間における行動履歴とを取得する履歴取得部と、
前記仮想展示空間における前記複数のオブジェクトの配置及び属性を含むオブジェクト情報、前記一般ユーザの属性、及び前記行動履歴を学習した結果に基づいて、所定の一般ユーザに対する前記オブジェクトの展示方法を提案する学習部と、
をさらに備える、請求項1に記載の情報処理装置。
【請求項8】
前記オブジェクトは服飾品であって、
前記生成部は、前記一般ユーザの前記通信端末において、前記仮想展示空間に展示された前記オブジェクトが選択されたことに応じて、前記一般ユーザに設定された所定のアバターが前記服飾品を装着した状態で動作する3次元動画を生成し、前記一般ユーザの前記通信端末へ送信する、
請求項7に記載の情報処理装置。
【請求項9】
仮想空間に複数のオブジェクトが展示された仮想展示空間を提供する情報処理装置の制御方法であって、
情報処理装置が、
前記仮想展示空間の設計指示を入力する複数の作業ユーザそれぞれの通信端末から送信された、前記仮想展示空間への前記複数のオブジェクトの配置指示を取得するステップと、
前記配置指示に応じて、前記複数のオブジェクトを前記仮想展示空間に配置するステップと、
前記配置指示に応じて更新された前記仮想展示空間を表示する表示用データを生成するステップと、
前記表示用データを前記複数の作業ユーザの前記通信端末に送信するステップと、
を実行し、
前記通信端末の表示部には、前記仮想展示空間に存在する前記複数のオブジェクトの一覧と、前記複数のオブジェクトの配置位置を示す前記仮想展示空間のマップとが表示され、前記配置指示は、前記作業ユーザによる、前記マップ上で前記複数のオブジェクトの配置位置を移動させる操作に応じて前記情報処理装置へ送信される、情報処理装置の制御方法。
【請求項10】
仮想空間に複数のオブジェクトが展示された仮想展示空間を提供する情報処理装置の制御プログラムであって、
情報処理装置に、
前記仮想展示空間の設計指示を入力する複数の作業ユーザそれぞれの通信端末から送信された、前記仮想展示空間への前記複数のオブジェクトの配置指示を取得する機能と、
前記配置指示に応じて、前記複数のオブジェクトを前記仮想展示空間に配置する機能と、
前記配置指示に応じて更新された前記仮想展示空間を表示する表示用データを生成する機能と、
前記表示用データを前記複数の作業ユーザの前記通信端末に送信する機能と、
を実現させ、
前記通信端末の表示部には、前記仮想展示空間に存在する前記複数のオブジェクトの一覧と、前記複数のオブジェクトの配置位置を示す前記仮想展示空間のマップとが表示され、前記配置指示は、前記作業ユーザによる、前記マップ上で前記複数のオブジェクトの配置位置を移動させる操作に応じて前記情報処理装置へ送信される、情報処理装置の制御プログラム。
発明の詳細な説明
【技術分野】
【0001】
本発明は、情報処理装置、情報処理装置の制御方法、及び情報処理装置の制御プログラムに関する。
続きを表示(約 1,600 文字)
【背景技術】
【0002】
近年、情報通信技術の発展によって仮想空間に関する技術開発が進み、ファッションの世界でも、仮想空間を活用したサービスが多数提案されている。例えば、ユーザが、現実世界に存在する店舗を仮想空間に再現したバーチャル店舗を訪問して、商品の閲覧や購入が可能であるサービスや、仮想空間を行き来するアバターに着用させる衣服や靴等(バーチャルアイテム)の購入が可能であるサービスが提供されている。また、NFT(Non-Fungible Token:非代替性トークン)の技術によって、バーチャルアイテムの偽造や改ざんを防ぐことが可能であるため、バーチャルアイテム固有の価値を維持しての取引が可能となり、バーチャルアイテムの流通が進んでいる(例えば、非特許文献1)。
【0003】
出願人は、希少性の高いヴィンテージ(vintage)服を多数コレクションしており、それらの衣服の価値ををNFTによって守りつつ細かい部分までデジタル化し、仮想空間で展示するデジタルミュージアム(博物館・美術館)の提供を進めている(例えば、特許文献1)。
【先行技術文献】
【特許文献】
【0004】
特許第7418677号公報
【非特許文献】
【0005】
メタバース総研、“[事例16選]メタバースのアパレル業界での活用方法やメリットとは”、[online]、令和6年5月12日検索、インターネット<URL:https://metaversesouken.com/metaverse/apparel/>
【発明の概要】
【発明が解決しようとする課題】
【0006】
デジタルミュージアムのような、オブジェクトを展示する仮想空間の作成をより簡易に行うことが求められていた。
【課題を解決するための手段】
【0007】
本発明の一実施形態に係る、仮想空間に複数のオブジェクトが展示された仮想展示空間を提供する情報処理装置は、仮想展示空間の設計指示を入力する複数の作業ユーザそれぞれの通信端末から送信された、仮想展示空間への複数のオブジェクトの配置指示を取得する取得部と、配置指示に応じて、複数のオブジェクトを仮想展示空間に配置する配置部と、配置指示に応じて更新された仮想展示空間を表示する表示用データを生成する生成部と、表示用データを複数の作業ユーザの通信端末に送信する送信部と、を備え、通信端末の表示部には、仮想展示空間に存在する複数のオブジェクトの一覧と、複数のオブジェクトの配置位置を示す仮想展示空間のマップとが表示され、配置指示は、作業ユーザによる、マップ上で複数のオブジェクトの配置位置を移動させる操作に応じて情報処理装置へ送信される。
【0008】
本発明の一実施形態に係る情報処理装置は、オブジェクトが仮想展示空間に配置されたことに応じて、オブジェクトを照らす照明を自動的に設定する照明処理部をさらに備え、生成部は、照明によって照らされた状態のオブジェクトを表示させる表示用データを生成してよい。
【0009】
本発明の一実施形態に係る情報処理装置において、送信部は、作業ユーザの通信端末において、仮想展示空間を俯瞰して表示する俯瞰表示、及び、仮想展示空間内に作業ユーザが位置した場合に作業ユーザの視点から仮想展示空間を表示するユーザ視点表示の少なくともいずれかを表示させる表示用データを送信してよい。
【0010】
本発明の一実施形態に係る情報処理装置は、複数の作業ユーザの通信端末で入力されたテキスト、音声、静止画像、及び動画像の少なくともいずれか1つを含むメッセージによる、複数の作業ユーザ間の対話機能を実現する対話部をさらに備えてよい。
(【0011】以降は省略されています)
この特許をJ-PlatPat(特許庁公式サイト)で参照する
関連特許
株式会社LAILA
情報処理装置、情報処理装置の制御方法、及び情報処理装置の制御プログラム
2日前
個人
詐欺保険
1か月前
個人
縁伊達ポイン
1か月前
個人
5掛けポイント
23日前
個人
RFタグシート
1か月前
個人
職業自動販売機
16日前
個人
地球保全システム
2か月前
個人
QRコードの彩色
1か月前
個人
ペルソナ認証方式
1か月前
個人
情報処理装置
26日前
個人
自動調理装置
1か月前
個人
残土処理システム
1か月前
個人
農作物用途分配システム
1か月前
個人
表変換編集支援システム
2か月前
個人
知的財産出願支援システム
1か月前
個人
タッチパネル操作指代替具
1か月前
個人
インターネットの利用構造
1か月前
個人
サービス情報提供システム
18日前
個人
スケジュール調整プログラム
1か月前
個人
行動時間管理システム
2か月前
個人
パスワード管理支援システム
2か月前
個人
携帯端末障害問合せシステム
1か月前
個人
海外支援型農作物活用システム
2か月前
個人
AIキャラクター制御システム
2か月前
個人
食品レシピ生成システム
1か月前
個人
エリアガイドナビAIシステム
1か月前
個人
システム及びプログラム
2か月前
株式会社キーエンス
受発注システム
1か月前
株式会社キーエンス
受発注システム
1か月前
株式会社キーエンス
受発注システム
1か月前
サクサ株式会社
中継装置
2か月前
個人
音声・通知・再配達UX制御構造
1か月前
株式会社ケアコム
項目選択装置
26日前
キヤノン株式会社
表示システム
1か月前
個人
帳票自動生成型SaaSシステム
1か月前
株式会社ワコム
電子ペン
25日前
続きを見る
他の特許を見る