TOP
|
特許
|
意匠
|
商標
特許ウォッチ
Twitter
他の特許を見る
公開番号
2025174154
公報種別
公開特許公報(A)
公開日
2025-11-28
出願番号
2024080257
出願日
2024-05-16
発明の名称
捕集装置、および、捕集装置を備えた洗濯機
出願人
日立グローバルライフソリューションズ株式会社
代理人
ポレール弁理士法人
主分類
D06F
39/10 20060101AFI20251120BHJP(繊維または類似のものの処理;洗濯;他に分類されない可とう性材料)
要約
【課題】マイクロプラスチックのような微小なごみも捕集しつつ、メンテナンスの頻度を抑制できる捕集装置を提供する。
【解決手段】本発明の捕集装置は、洗濯機からの排水が流入する流入口と、前記排水が流出する排出口と、前記流入口と前記排出口の間に設けられるフィルタと、を備え、前記フィルタを、複数の袋状のメッシュ部材で形成し、各袋口を、前記流入口に向けて並設する。また、望ましくは、前記流入口の下流側に、流路を各袋口に向けて分岐させる分岐部材を設け、前記メッシュ部材の上流側端を、前記分岐部材に固定する。
【選択図】図3
特許請求の範囲
【請求項1】
洗濯機からの排水が流入する流入口と、前記排水が流出する排出口と、前記流入口と前記排出口の間に設けられるフィルタと、を備え、
前記フィルタは、複数の袋状のメッシュ部材で形成され、
各袋口が、前記流入口に向けて並設された捕集装置。
続きを表示(約 480 文字)
【請求項2】
請求項1に記載の捕集装置において、
前記流入口の下流側に、流路を各袋口に向けて分岐させる分岐部材が設けられ、
前記メッシュ部材の上流側端が、前記分岐部材に固定された捕集装置。
【請求項3】
請求項1に記載の捕集装置において、
前記フィルタの上流側に、溢水経路が形成された捕集装置。
【請求項4】
請求項1に記載の捕集装置において、
前記フィルタは、一枚のメッシュ部材が波形に複数折り曲げられて形成された捕集装置。
【請求項5】
請求項1に記載の捕集装置において、
隣接する袋状のメッシュ部材のうち少なくとも1つは、流れ方向寸法が異なる捕集装置。
【請求項6】
請求項5に記載の捕集装置において、
流路の内径側にある袋状のメッシュ部材は、流路の外径側にある袋状のメッシュ部材よりも、流れ方向寸法が大きい捕集装置。
【請求項7】
請求項1乃至6のいずれかに記載の捕集装置が、排水ホースに取り付けられた洗濯機。
発明の詳細な説明
【技術分野】
【0001】
本発明は、捕集装置、および、捕集装置を備えた洗濯機に関する。
続きを表示(約 1,500 文字)
【背景技術】
【0002】
近年、海洋プラスチックごみ汚染による環境問題が注目されている。海洋プラスチックごみは大きさで分類され、直径1μm~5mmのプラスチックの破片、粒子または繊維はマイクロプラスチックと呼ばれる。家電分野においても洗濯時に衣類から発生・排出されるマイクロプラスチックに関心が高まってきており、マイクロプラスチックも捕集できるフィルタ装置が提案されている。例えば、特許文献1には、格子状の非メッシュ部と、複数のメッシュ部と、を一体で形成したフィルタ装置を、洗濯機の構成部品として設け、マイクロプラスチックを含む糸くずを捕集する技術が開示されている。
【先行技術文献】
【特許文献】
【0003】
特開2024-21548号公報
【発明の概要】
【発明が解決しようとする課題】
【0004】
特許文献1に記載のフィルタ部は、非メッシュ部とメッシュ部が同一面に形成されており、メッシュ部の総面積が小さいため、メッシュ部の全域がすぐに詰まってしまう恐れがある。その結果、排水不良の頻度、すなわち、メンテナンスの頻度が高くなる可能性がある。
【0005】
本発明の目的は、マイクロプラスチックのような微小なごみも捕集しつつ、メンテナンスの頻度を抑制できる捕集装置、および、捕集装置を備えた洗濯機を提供することにある。
【課題を解決するための手段】
【0006】
上記課題を解決するため、本発明の捕集装置は、洗濯機からの排水が流入する流入口と、前記排水が流出する排出口と、前記流入口と前記排出口の間に設けられるフィルタと、を備え、前記フィルタを、複数の袋状のメッシュ部材で形成し、各袋口を、前記流入口に向けて並設する。
【発明の効果】
【0007】
本発明によれば、マイクロプラスチックのような微小なごみも捕集しつつ、メンテナンスの頻度を抑制できる捕集装置、および、捕集装置を備えた洗濯機を提供することが可能となる。
【図面の簡単な説明】
【0008】
実施形態に係る捕集装置の外観図。
実施例1の捕集装置における、図1のA-A断面図。
実施例1の捕集装置における、図1のB-B断面図。
実施例2の捕集装置における、図1のB-B断面図。
実施例3の捕集装置における、図1のA-A断面図。
実施例3の捕集装置における、図1のB-B断面図。
実施例4の捕集装置における、図1のB-B断面図。
実施例5の捕集装置における、図1のB-B断面図。
【発明を実施するための形態】
【0009】
以下、本発明を実施するための形態(以下「実施形態」という)について、適宜図面を参照しながら詳細に説明する。
【0010】
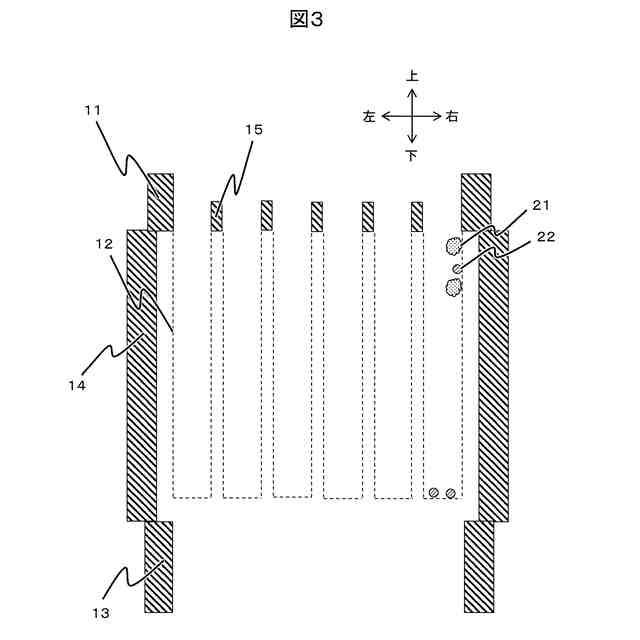
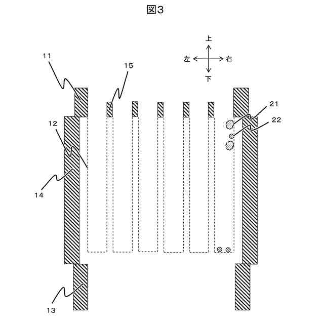
図1は、実施形態に係る捕集装置1の外観図である。図1に示すように、捕集装置1は、洗濯機からの排水が流入する流入口11と、排水が流出する排出口13と、後述するフィルタを支持するケース14と、を備える。また、捕集装置1は、図示しない洗濯機の排水ホースに取り付けられ、流入口11が上方で排出口13が下方に位置するように配置される。この捕集装置1を配置することで、洗濯機本体は、洗濯時に生じた糸くずを捕集するフィルタや、乾燥時に生じた糸くずを捕集するフィルタを不要としても良い。
【実施例】
(【0011】以降は省略されています)
この特許をJ-PlatPat(特許庁公式サイト)で参照する
関連特許
個人
洗濯機
10日前
個人
洗濯装置
3か月前
個人
洗濯物干しハンガー
26日前
セーレン株式会社
複合表皮材
10日前
東レ株式会社
繊維断面の検査方法
1か月前
株式会社青柳
染め加工方法
2か月前
株式会社アライホーム
物干装置
10日前
東レ株式会社
ゴム補強用合成繊維コード
2か月前
東レ株式会社
樹脂含浸繊維束の製造方法
3か月前
東レ株式会社
炭素繊維シートの製造方法
3か月前
株式会社槌屋
加飾用表皮材
1か月前
有限会社高田紙器製作所
紙製洗濯バサミ
3か月前
個人
ポリエステル染色物の製造方法
1か月前
リンナイ株式会社
衣類乾燥機
1か月前
株式会社大阪ソーダ
撥水撥油性繊維処理剤
2か月前
株式会社創和
ボックス状洗濯ネット
2か月前
シャープ株式会社
洗濯機
3か月前
リンテック株式会社
耐水性基材
1か月前
個人
洗濯用洗剤容器の蓋
3か月前
アイリスオーヤマ株式会社
洗濯機
26日前
大阪瓦斯株式会社
衣類乾燥機
3か月前
大阪瓦斯株式会社
衣類乾燥機
3か月前
松本油脂製薬株式会社
繊維用処理剤及びその利用
3か月前
大阪瓦斯株式会社
衣類乾燥機
3か月前
シャープ株式会社
洗濯機
3か月前
個人
開閉角度調整可能な角型折畳みピンチハンガー
3か月前
ダイニック株式会社
ターポリン、及びその製造方法
1か月前
シャープ株式会社
洗濯機
3か月前
東芝ライフスタイル株式会社
洗濯機
2か月前
シャープ株式会社
洗濯機
4か月前
個人
パイプ用係止、固定装置及び洗濯バサミ取り付け具
3か月前
シャープ株式会社
衣類処理システム
3か月前
東レ株式会社
人工皮革およびその製造方法ならびに雑貨
2か月前
東芝ライフスタイル株式会社
洗濯機
2か月前
株式会社wash-plus
ランドリーシステム
26日前
東レ株式会社
抗菌性アクリル系繊維およびその製造方法
2か月前
続きを見る
他の特許を見る