TOP
|
特許
|
意匠
|
商標
特許ウォッチ
Twitter
他の特許を見る
10個以上の画像は省略されています。
公開番号
2025173634
公報種別
公開特許公報(A)
公開日
2025-11-28
出願番号
2024079256
出願日
2024-05-15
発明の名称
パワーステアリング装置
出願人
株式会社ジェイテクト
代理人
個人
主分類
B62D
5/04 20060101AFI20251120BHJP(鉄道以外の路面車両)
要約
【課題】性能が向上されたパワーステアリング装置を提供すること。
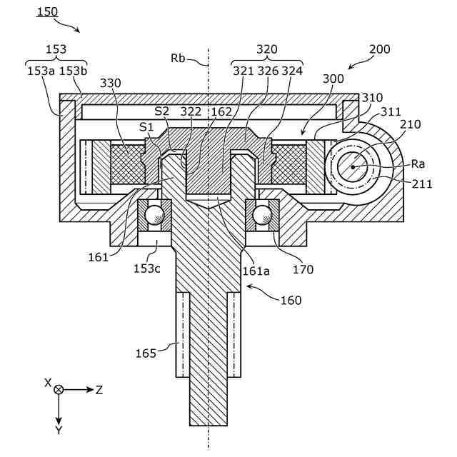
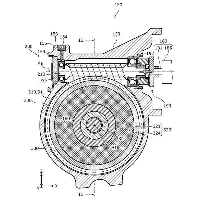
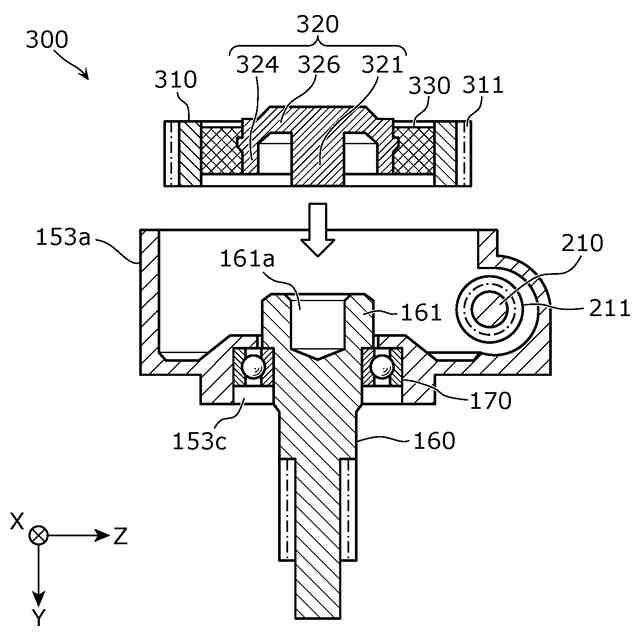
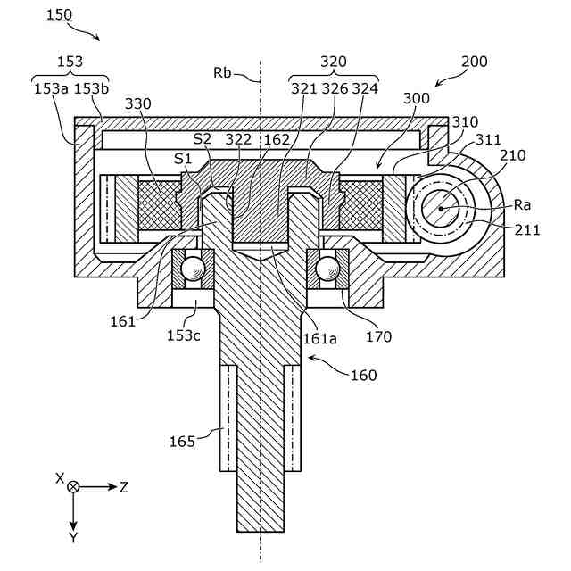
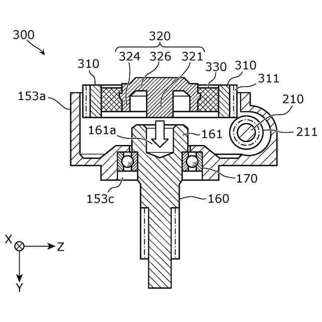
【解決手段】パワーステアリング装置10は、軸方向の一方側に筒状部161を有する出力軸160と、操舵補助用の電動モータ180と、電動モータ180の回転を減速して出力軸160に伝達するウォーム減速機200と、を備える。ウォーム減速機200は、ウォームシャフト210と、ウォームホイール300と、を備える。ウォームホイール300は、出力軸160と接続され、出力軸160と一体的に回転する。ウォームホイール300は、環状に配列された複数の歯311を外周に有する環状歯部310と、環状歯部310の内周に固定される支持体320と、を有する。支持体320は、軸方向に延びる第一軸部321と、第一軸部321と連結され、かつ、環状歯部310が固定された第二軸部324と、を含む。筒状部161の内部(内部空間161a)に第一軸部321が圧入嵌合されている。
【選択図】図3
特許請求の範囲
【請求項1】
軸方向の一方側に筒状部を有する出力軸と、
操舵補助用の電動モータと、
前記電動モータの回転を減速して前記出力軸に伝達するウォーム減速機と、を備え、
前記ウォーム減速機は、
前記電動モータにより回転駆動されるウォームシャフトと、
前記ウォームシャフトに噛み合うウォームホイールであって、前記出力軸と接続され、前記出力軸と一体的に回転するウォームホイールと、を備え、
前記ウォームホイールは、
環状に配列された複数の歯を外周に有する環状歯部と、
前記環状歯部の内周に固定される支持体と、を有し、
前記支持体は、
前記軸方向に延びる第一軸部と、
前記第一軸部と連結され、かつ、前記環状歯部が固定された第二軸部と、を含み、
前記筒状部の内部に前記第一軸部が圧入嵌合されている、
パワーステアリング装置。
続きを表示(約 350 文字)
【請求項2】
前記支持体はさらに、連結部を有し、
前記第二軸部は、前記第一軸部の径方向の外側を囲むように配置された筒状の部位であり、かつ、外周面に前記環状歯部が固定されており、
前記連結部は、前記第一軸部の前記軸方向の前記一方側の端部と、前記第二軸部の前記軸方向の前記一方側の端部とを、前記径方向で離間させた状態で連結し、
前記第二軸部の内周面と、前記出力軸の前記筒状部の外周面との間には、第一隙間が形成されている、
請求項1に記載のパワーステアリング装置。
【請求項3】
前記軸方向における、前記筒状部の前記軸方向の前記一方側の端面と前記支持体との間には、第二隙間が形成されている、
請求項1または2に記載のパワーステアリング装置。
発明の詳細な説明
【技術分野】
【0001】
本発明は、車両に搭載されるパワーステアリング装置に関する。
続きを表示(約 2,200 文字)
【背景技術】
【0002】
特許文献1に開示された電動パワーステアリング装置は、運転者のステアリング操作を補助するアシスト機構を備える。アシスト機構は、コラムシャフトにアシストトルクを付与する電動モータと、電動モータの回転をコラムシャフトに伝達する減速機とを備える。減速機は、電動モータにより回転駆動されるウォームと、ウォームと噛み合うウォームホイールとを含む。ウォームホイールは、コラムシャフトの出力シャフトに一体回転可能に且つ軸方向移動不能に連結されている。
【0003】
特許文献2には、バックラッシュ除去機構が開示されている。バックラッシュ除去機構は、ウォーム軸の一端部を支持する軸受をウォーム軸及びウォームホイールの中心間距離が減少する方向に付勢する。
【先行技術文献】
【特許文献】
【0004】
特開2018-132080号公報
特開2017-36045号公報
【発明の概要】
【発明が解決しようとする課題】
【0005】
特許文献1に記載の上記従来の電動パワーステアリング装置では、ウォームホイールが有する金属製の環状支持体の内周に、出力シャフトの外周を圧入嵌合させることで、ウォームホイールと出力シャフトとが接続される。この場合、環状支持体が径方向外側に膨らみ、その結果、ウォームホイールの外径、すなわち、環状支持体の外周に配置された環状歯部の外径が大きくなる。この外径の増加量はばらつきがあるため、減速機の個体ごとに、ウォームとウォームホイールとの軸間距離が設計値よりも大きいものと小さいものとがある。このことは、回転トルクの増加及び/またはラトル音の発生の要因となる。そこで、例えば特許文献2に開示されたバックラッシュ除去機構を、上記の減速機に搭載することが考えられる。しかしながら、バックラッシュ除去機構が対応可能な、ウォームとウォームホイールとの軸間距離の範囲は限定的である。そのため、バックラッシュ除去機構は、ウォームホイールの外径のばらつきに起因するラトル音の発生等の問題を十分には解消できない可能性がある。
【0006】
本発明は、本願発明者らが上記課題に新たに着目することによってなされたものであり、性能が向上されたパワーステアリング装置を提供することを目的とする。
【課題を解決するための手段】
【0007】
本発明の一態様に係るパワーステアリング装置は、軸方向の一方側に筒状部を有する出力軸と、操舵補助用の電動モータと、前記電動モータの回転を減速して前記出力軸に伝達するウォーム減速機と、を備え、前記ウォーム減速機は、前記電動モータにより回転駆動されるウォームシャフトと、前記ウォームシャフトに噛み合うウォームホイールであって、前記出力軸と接続され、前記出力軸と一体的に回転するウォームホイールと、を備え、前記ウォームホイールは、環状に配列された複数の歯を外周に有する環状歯部と、前記環状歯部の内周に固定される支持体と、を有し、前記支持体は、前記軸方向に延びる第一軸部と、前記第一軸部と連結され、かつ、前記環状歯部が固定された第二軸部と、を含み、前記筒状部の内部に前記第一軸部が圧入嵌合されている、パワーステアリング装置。
【発明の効果】
【0008】
本発明によれば、性能が向上されたパワーステアリング装置を提供できる。
【図面の簡単な説明】
【0009】
図1は、パワーステアリング装置の全体的な構成を概略的に示す図である。
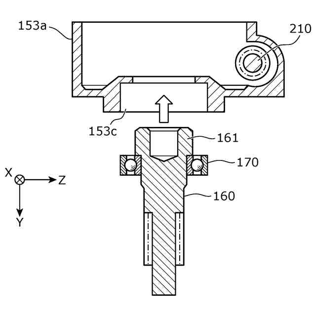
図2は、実施の形態に係る駆動力付与機構の構造を示す第1の断面図である。
図3は、実施の形態に係る駆動力付与機構の構造を示す第2の断面図である。
図4は、実施の形態に係る支持体と筒状部との接続部分を示す拡大断面図である。
図5は、実施の形態に係るウォーム減速機の組み立て工程の一例を示す第1の図である。
図6は、実施の形態に係るウォーム減速機の組み立て工程の一例を示す第2の図である。
図7は、実施の形態に係るウォーム減速機の組み立て工程の一例を示す第3の図である。
図8は、実施の形態に係るウォーム減速機の組み立て工程の一例を示す第4の図である。
図9は、実施の形態の変形例に係る駆動力付与機構の構造を示す断面図である。
【発明を実施するための形態】
【0010】
以下、本発明の実施の形態について、図面を参照しながら具体的に説明する。なお、以下で説明する実施の形態及びその変形例は、いずれも本発明の包括的または具体的な例を示すものである。以下の実施の形態及び変形例で示される数値、形状、材料、構成要素、構成要素の配置位置及び接続形態、ステップ、ステップの順序などは、一例であり、本発明を限定する主旨ではない。また、以下の実施の形態及び変形例における構成要素のうち、最上位概念を示す独立請求項に記載されていない構成要素については、任意の構成要素として説明される。図面は、本発明を示すために適宜強調や省略、比率の調整を行った模式的な図となっており、実際の形状や位置関係、比率とは異なる場合がある。
(【0011】以降は省略されています)
特許ウォッチbot のツイートを見る
この特許をJ-PlatPat(特許庁公式サイト)で参照する
関連特許
個人
カート
5か月前
個人
走行装置
5か月前
個人
三輪バイク
1か月前
個人
台車
21日前
個人
乗り物
7か月前
個人
電動走行車両
5か月前
個人
自転車用歩数計
1か月前
個人
駐輪設備
3か月前
個人
電動モビリティ
9か月前
個人
発音装置
9か月前
個人
閂式ハンドル錠
5か月前
個人
ボギー・フレーム
3か月前
個人
“zen-go.”
4か月前
個人
ルーフ付きトライク
3か月前
個人
ルーフ付きトライク
4か月前
個人
自由方向乗車自転車
9か月前
個人
三輪電動車両
1か月前
個人
自転車前輪固定装置
2日前
個人
車の室内高温防止屋根
1か月前
井関農機株式会社
作業車両
1か月前
個人
パワーアシスト自転車
3か月前
個人
キャンピングトライク
10か月前
個人
ステアリングの操向部材
10か月前
井関農機株式会社
収穫作業車両
7日前
株式会社豊田自動織機
産業車両
6か月前
個人
電動式ルーフ付きトライク
13日前
個人
電動式ルーフ付きトライク
13日前
個人
電動式ルーフ付きトライク
13日前
個人
フロントフットブレーキ。
5か月前
個人
ホイールハブ駆動構造
6か月前
豊田鉄工株式会社
小型車両
5か月前
学校法人千葉工業大学
車両
11か月前
学校法人千葉工業大学
車両
11か月前
学校法人千葉工業大学
車両
11か月前
個人
乗用自動車のディフューザー
2か月前
株式会社アイドゥス企画
老人電動車
22日前
続きを見る
他の特許を見る