TOP
|
特許
|
意匠
|
商標
特許ウォッチ
Twitter
他の特許を見る
10個以上の画像は省略されています。
公開番号
2025173287
公報種別
公開特許公報(A)
公開日
2025-11-27
出願番号
2024078799
出願日
2024-05-14
発明の名称
寄附支援装置及び寄附支援プログラム
出願人
株式会社けんさんぎふと
,
個人
代理人
個人
主分類
G06Q
50/10 20120101AFI20251119BHJP(計算;計数)
要約
【課題】学校応援寄附金制度において、寄附者4及び教育機関の一連の処理の自動化を進めて、寄附者4にとっては寄附する意欲が増し、教育機関にとっては寄附により活動の範囲を拡大し、質を高める。
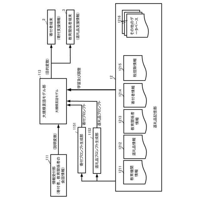
【解決手段】本発明の寄附支援装置1は、寄附支援装置1は、学校応援寄附金制度の寄附対象となる教育機関に関する教育機関情報と、教育機関の教育関係者により作成された返礼品に関する返礼品情報とが対応付けて記憶された返礼品記憶部12と、教育機関に寄附する寄附者4により操作される寄附者端末2との通信が確立される通信部13と、寄附者4が応援したい教育機関に寄附すると、この教育機関の教育関係者により作成された返礼品が寄附者4に提供されるという一連の処理を自動化する制御部11とを有している。
【選択図】図1
特許請求の範囲
【請求項1】
学校応援寄附金制度の寄附対象となる教育機関に関する教育機関情報と、前記教育機関の教育関係者により作成された返礼品に関する返礼品情報とが対応付けて記憶された返礼品記憶部と、
前記教育機関に寄附する寄附者により操作される寄附者端末との通信が確立される通信部と、
制御部と、を有し、
前記制御部は、
前記通信部により通信が確立された前記寄附者端末に対して、前記教育機関情報を選択可能に表示させる教育機関情報表示処理と、
前記教育機関情報表示処理において選択された前記教育機関情報に対応付けられた前記返礼品情報を、前記寄附者端末に選択可能に表示させる返礼品情報表示処理と、
前記教育機関情報表示処理において選択された前記教育機関情報で示された前記教育機関に対する寄附金額の入力を受け付ける寄附金額受付処理と、
前記返礼品情報表示処理において選択された前記返礼品情報が示す前記返礼品を、前記寄附者端末を操作する前記寄附者に提供する提供処理と、を実行する
寄附支援装置。
続きを表示(約 1,100 文字)
【請求項2】
前記寄附金額受付処理は、
地方自治体を介しての前記教育機関への間接的な寄附と、前記教育機関への直接的な寄附との何れかを選択可能である
請求項1に記載の寄附支援装置。
【請求項3】
前記制御部は、
前記教育機関情報及び前記返礼品情報のうち、少なくとも一方を掲載するウェブサイトを所定タイミングごとに確認し、新たな情報が発見された場合に、前記返礼品記憶部を最新の情報に更新する更新処理を実行する
請求項1に記載の寄附支援装置。
【請求項4】
前記教育機関情報表示処理は、
表示条件を受け付け可能にされており、前記表示条件を満足する前記教育機関情報を抽出して表示する
請求項1に記載の寄附支援装置。
【請求項5】
大規模言語モデルを備えた大規模言語モデル部を有し、
前記通信部は、前記教育関係者により操作される教育関係者端末とも通信が確立されるものであり、
前記制御部は、
前記通信部により前記寄附者端末との通信が確立された場合、前記教育機関情報表示処理及び前記返礼品情報表示処理における選択を、前記寄附者端末を操作する前記寄附者が、前記大規模言語モデルとの会話を通じて行う第1会話処理を実行し、
前記通信部により前記教育関係者端末との通信が確立された場合、前記返礼品の作成を、前記教育関係者端末を操作する前記教育関係者が、前記大規模言語モデルとの会話を通じて行う第2会話処理を実行する
請求項1に記載の寄附支援装置。
【請求項6】
学校応援寄附金制度の寄附対象となる教育機関に関する教育機関情報と、前記教育機関の教育関係者により作成された返礼品に関する返礼品情報とが対応付けて記憶された返礼品記憶部と、
前記教育機関に寄附する寄附者により操作される寄附者端末との通信が確立される通信部と、を有した寄附支援装置のコンピュータに、
前記通信部により通信が確立された前記寄附者端末に対して、前記教育機関情報を選択可能に表示させる教育機関情報表示処理と、
前記教育機関情報表示処理において選択された前記教育機関情報に対応付けられた前記返礼品情報を、前記寄附者端末に選択可能に表示させる返礼品情報表示処理と、
前記教育機関情報表示処理において選択された前記教育機関情報で示された前記教育機関に対する寄附金額の入力を受け付ける寄附金額受付処理と、
前記返礼品情報表示処理において選択された前記返礼品情報が示す前記返礼品を、前記寄附者端末を操作する前記寄附者に提供する提供処理と、を実行させる
寄附支援プログラム。
発明の詳細な説明
【技術分野】
【0001】
本発明は、寄附支援装置及び寄附支援プログラムに関する。
続きを表示(約 2,000 文字)
【背景技術】
【0002】
「ふるさと納税」は、納税者自身が選択した自治体に対して寄附を行った場合に、寄附額のうち所定の金額を超える部分について、日本国における所得税及び住民税から控除される制度である。ふるさと納税の寄附を行うと、自治体から寄附に対する返礼品が納税者に対して送付されるシステムである。このような「ふるさと納税」のシステムに対応した各種の技術が開示されている。
【0003】
例えば、特許文献1には、ユーザーを特定可能なユーザー情報を取得可能に構成された第1取得部と、第1取得部によりユーザー情報が取得された場合、ふるさと納税の納税金額を含む納税指示をユーザーから取得可能に構成された第2取得部と、第2受取部により納税指示が取得された場合、納税支援装置が設置されている自治体に対し、納税金額をふるさと納税として納税するための納税処理を実行する納税処理部と、納税処理部により納税処理が実行された場合、納税金額に基づいて返礼品を発行する発行部とを備えることによって、観光地等で気軽にふるさと納税を行う際に、返礼品をスムーズに受け取ることを可能にする技術が開示されている。
【先行技術文献】
【特許文献】
【0004】
特開2021-157764号公報
【発明の概要】
【発明が解決しようとする課題】
【0005】
ところで、特許文献1の技術は、「ふるさと納税」に関する技術であるが、近年においては、「ふるさと納税」のシステムに似たシステムとして、個人や企業が自治体を通じて学校に寄附をすると、教育や学校の改善に活用され、その寄附者は税制上の優遇措置を受けることができる「学校応援寄附金制度」が設立されている。そして、この学校応援寄附金制度においても、「ふるさと納税」と同様に、例えば、制度の運営が自動化されるなどの技術が開発されることが望ましい。
【0006】
本発明はかかる事情に鑑みてなされたものであり、その目的は、学校応援寄附金制度において、寄附者及び学校の一連の処理の自動化を進めて、寄附者にとっては寄附する意欲が増し、学校にとっては寄附により活動の範囲を拡大し、質を高めることができる寄附支援装置及び寄附支援プログラムを提供することである。
【課題を解決するための手段】
【0007】
本発明者らは、上記課題を解決するために鋭意検討した結果、寄附者端末に表示された教育機関情報を選択し、返礼品情報を選択することで、寄附者が応援したい学校を含む教育機関に寄附すると、この教育機関の教育関係者により作成された返礼品が寄附者に提供されることによって、上記の目的を達成できることを見いだした。そして、本発明者らは、本発明を完成させるに至った。具体的に、本発明は以下のものを提供する。
【0008】
本発明は、学校応援寄附金制度の寄附対象となる教育機関に関する教育機関情報と、前記教育機関の教育関係者により作成された返礼品に関する返礼品情報とが対応付けて記憶された返礼品記憶部と、
前記教育機関に寄附する寄附者により操作される寄附者端末との通信が確立される通信部と、
制御部と、を有し、
前記制御部は、
前記通信部により通信が確立された前記寄附者端末に対して、前記教育機関情報を選択可能に表示させる教育機関情報表示処理と、
前記教育機関情報表示処理において選択された前記教育機関情報に対応付けられた前記返礼品情報を、前記寄附者端末に選択可能に表示させる返礼品情報表示処理と、
前記教育機関情報表示処理において選択された前記教育機関情報で示された前記教育機関に対する寄附金額の入力を受け付ける寄附金額受付処理と、
前記返礼品情報表示処理において選択された前記返礼品情報が示す前記返礼品を、前記寄附者端末を操作する前記寄附者に提供する提供処理と、を実行する寄附支援装置である。
【0009】
本発明によれば、寄附者端末に表示された教育機関情報を選択し、返礼品情報を選択することで、寄附者が応援したい教育機関に寄附すると、この教育機関の教育関係者により作成された返礼品が寄附者に提供されるという一連の処理が自動化されることで、寄附者にとっては返礼品の提供により寄附する意欲が増し、教育機関にとっては寄附により活動の範囲を拡大し、質を高めることができる。
【発明の効果】
【0010】
本発明によれば、学校応援寄附金制度において、寄附者及び教育機関の一連の処理の自動化を進めて、寄附者にとっては寄附する意欲が増し、教育機関にとっては寄附により活動の範囲を拡大し、質を高めることができる。
【図面の簡単な説明】
(【0011】以降は省略されています)
この特許をJ-PlatPat(特許庁公式サイト)で参照する
関連特許
株式会社けんさんぎふと
寄附支援装置及び寄附支援プログラム
1日前
個人
詐欺保険
1か月前
個人
縁伊達ポイン
1か月前
個人
5掛けポイント
21日前
個人
RFタグシート
1か月前
個人
職業自動販売機
14日前
個人
地球保全システム
1か月前
個人
QRコードの彩色
1か月前
個人
ペルソナ認証方式
29日前
個人
自動調理装置
1か月前
個人
情報処理装置
24日前
個人
冷凍食品輸出支援構造
2か月前
個人
為替ポイント伊達夢貯
2か月前
個人
残土処理システム
1か月前
個人
表変換編集支援システム
2か月前
個人
農作物用途分配システム
1か月前
個人
知的財産出願支援システム
1か月前
個人
インターネットの利用構造
28日前
個人
サービス情報提供システム
16日前
個人
タッチパネル操作指代替具
1か月前
個人
知財出願支援AIシステム
2か月前
個人
携帯端末障害問合せシステム
1か月前
個人
スケジュール調整プログラム
1か月前
個人
行動時間管理システム
2か月前
個人
パスワード管理支援システム
2か月前
株式会社キーエンス
受発注システム
1か月前
個人
エリアガイドナビAIシステム
29日前
株式会社キーエンス
受発注システム
1か月前
株式会社キーエンス
受発注システム
1か月前
個人
AIキャラクター制御システム
2か月前
個人
システム及びプログラム
2か月前
個人
海外支援型農作物活用システム
2か月前
個人
食品レシピ生成システム
1か月前
株式会社ケアコム
項目選択装置
24日前
エッグス株式会社
情報処理装置
1か月前
個人
音声・通知・再配達UX制御構造
1か月前
続きを見る
他の特許を見る