TOP
|
特許
|
意匠
|
商標
特許ウォッチ
Twitter
他の特許を見る
10個以上の画像は省略されています。
公開番号
2025172962
公報種別
公開特許公報(A)
公開日
2025-11-26
出願番号
2025150839,2025075135
出願日
2025-09-11,2019-04-23
発明の名称
ヒータアッセンブリ及び容器
出願人
日本たばこ産業株式会社
代理人
個人
,
個人
,
個人
,
個人
主分類
A24F
40/46 20200101AFI20251118BHJP(たばこ;葉巻たばこ;紙巻たばこ;喫煙具)
要約
【課題】本発明は、香味吸引器で用いるヒータアッセンブリ及び容器に関する。
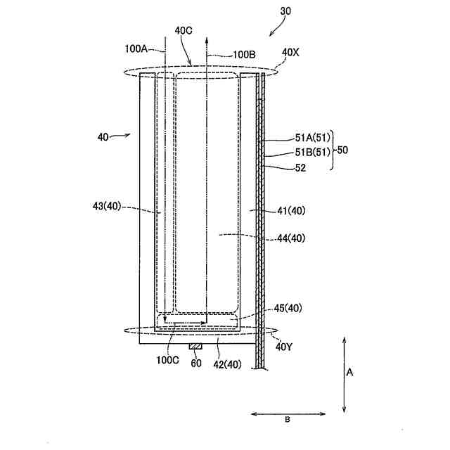
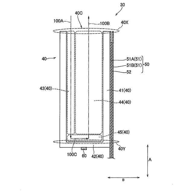
【解決手段】ヒータアッセンブリ30は、香味発生物品を収容するチャンバ40Cを形成する筒状部分41を有する容器40と、前記筒状部分の周面に配置されるヒータ50とを備える。前記容器は、前記筒状部分の長手方向に沿って延在しており、かつ、前記筒状部分の長手方向と交差する方向で前記チャンバに隣接する第1チャネル43と、前記筒状部分の長手方向に沿って前記チャンバ内を通る第2チャネル44とを備える。前記第1チャネルは、前記第2チャネルと連通する。
【選択図】図2
特許請求の範囲
【請求項1】
香味発生物品を収容するチャンバを形成する筒状部分を有する容器と、
前記筒状部分の周面に配置されるヒータとを備え、
前記容器は、前記筒状部分の長手方向に沿って延在しており、かつ、前記筒状部分の長手方向と交差する方向で前記チャンバに隣接する第1チャネルと、前記筒状部分の長手方向に沿って前記チャンバ内を通る第2チャネルとを備え、
前記第1チャネルは、前記2チャネルと連通する、ヒータアッセンブリ。
続きを表示(約 1,200 文字)
【請求項2】
前記ヒータは、前記筒状部分の外周面に接触するように配置される、請求項1に記載のヒータアッセンブリ。
【請求項3】
前記ヒータは、加熱要素と、前記加熱要素を支持する基材とを有し、
前記加熱要素は、前記筒状部分の周面における、前記第1チャネルと隣接する部分以外の配置対象部分に沿って設けられる、請求項1又は請求項2に記載のヒータアッセンブリ。
【請求項4】
前記配置対象部分は、前記筒状部分の周面において、第1配置部分と、前記第1配置部分よりも前記第1チャネルから離れた第2配置部分とを含み、
前記第1配置部分における前記加熱要素のワット密度は、前記第2配置部分における前記加熱要素のワット密度よりも高い、請求項3に記載のヒータアッセンブリ。
【請求項5】
前記ヒータは、加熱要素と、前記加熱要素を支持する基材とを有し、
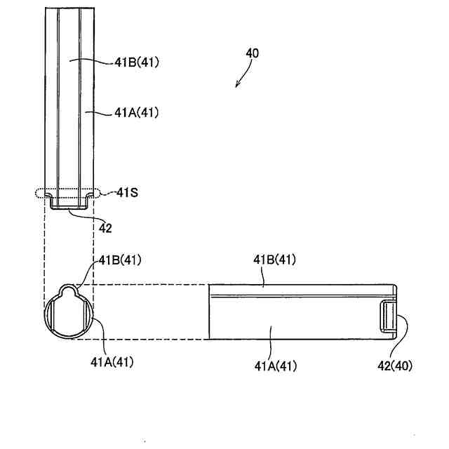
前記筒状部分は、前記香味発生物品を受け入れる第1端部と、前記筒状部分の長手方向において前記第1端部の反対側に設けられる第2端部とを有しており、
前記加熱要素は、前記第2端部から離間するように、前記筒状部分の周面に沿って設けられる、請求項1乃至請求項4のいずれかに記載のヒータアッセンブリ。
【請求項6】
前記容器は、前記第2端部を塞ぐ底板部分を有しており、
前記加熱要素は、前記底板部分に設けられることなく、前記筒状部分の周面に沿って設けられる、請求項5に記載のヒータアッセンブリ。
【請求項7】
前記筒状部分は、前記香味発生物品が前記チャンバに収容されたときに前記香味発生物品の先端部に当接する当接部を有する、請求項1乃至請求項6のいずれかに記載のヒータアッセンブリ。
【請求項8】
前記容器は、底板部分を有しており、
前記容器の前記底板部分に設けられ、前記香味発生物品が前記チャンバに収容されたときに前記香味発生物品の先端部に当接する台座であって、前記台座の周りに前記第1チャネルおよび前記第2チャネルと連通する環状の隙間を形成する台座をさらに備える、請求項1乃至請求項6のいずれかに記載のヒータアッセンブリ。
【請求項9】
前記筒状部分は、熱伝導性部材によって構成される、請求項1乃至請求項8のいずれかに記載のヒータアッセンブリ。
【請求項10】
前記筒状部分は、前記香味発生物品を受け入れる第1端部と、前記筒状部分の長手方向において前記第1端部の反対側に設けられる第2端部とを有しており、
前記容器は、前記第2端部を塞ぐ底板部分を有しており、
前記筒状部分は、前記第1チャネルと前記第2チャネルとを連通させる第3チャネルを有する、請求項1乃至請求項9のいずれかに記載のヒータアッセンブリ。
(【請求項11】以降は省略されています)
発明の詳細な説明
【技術分野】
【0001】
本発明は、香味吸引器で用いるヒータアッセンブリ及び容器に関する。
続きを表示(約 1,200 文字)
【背景技術】
【0002】
従来、燃焼を伴わずに香味発生物品を加熱する香味吸引器が知られている。香味吸引器は、香味発生物品を収容するチャンバと、チャンバに収容される香味発生物品を加熱するヒータとを有する(例えば、特許文献1-3)。
【先行技術文献】
【特許文献】
【0003】
特表2001-521123号公報
特許第5963375号公報
国際公開第2016/207407号パンフレット
【発明の概要】
【0004】
第1の特徴は、ヒータアッセンブリであって、香味発生物品を収容するチャンバを形成する筒状部分を有する容器と、前記筒状部分の周面に配置されるヒータとを備え、前記容器は、前記筒状部分の長手方向に沿って延在しており、かつ、前記筒状部分の長手方向と交差する方向で前記チャンバに隣接する第1チャネルと、前記筒状部分の長手方向に沿って前記チャンバ内を通る第2チャネルとを備え、前記第1チャネルは、前記2チャネルと連通することを要旨とする。
【0005】
第2の特徴は、第1の特徴において、前記ヒータは、前記筒状部分の外周面に接触するように配置されることを要旨とする。
【0006】
第3の特徴は、第1の特徴又は第2の特徴において、前記ヒータは、加熱要素と、前記加熱要素を支持する基材とを有し、前記加熱要素は、前記筒状部分の周面における、前記第1チャネルと隣接する部分以外の配置対象部分に沿って設けられることを要旨とする。
【0007】
第4の特徴は、第3の特徴において、前記配置対象部分は、前記筒状部分の周面において、第1配置部分と、前記第1配置部分よりも前記第1チャネルから離れた第2配置部分とを含み、前記第1配置部分における前記加熱要素のワット密度は、前記第2配置部分における前記加熱要素のワット密度よりも高いことを要旨とする。
【0008】
第5の特徴は、第1の特徴乃至第4の特徴のいずれかにおいて、前記ヒータは、加熱要素と、前記加熱要素を支持する基材とを有し、前記筒状部分は、前記香味発生物品を受け入れる第1端部と、前記筒状部分の長手方向において前記第1端部の反対側に設けられる第2端部とを有しており、前記加熱要素は、前記第2端部から離間するように、前記筒状部分の周面に沿って設けられることを要旨とする。
【0009】
第6の特徴は、第5の特徴において、前記容器は、前記第2端部を塞ぐ底板部分を有しており、前記加熱要素は、前記底板部分に設けられることなく、前記筒状部分の周面に沿って設けられることを要旨とする。
【0010】
第7の特徴は、第1の特徴乃至第6の特徴のいずれかにおいて、前記筒状部分は、前記香味発生物品が前記チャンバに収容されたときに前記香味発生物品の先端部に当接する当接部を有することを要旨とする。
(【0011】以降は省略されています)
この特許をJ-PlatPat(特許庁公式サイト)で参照する
関連特許
日本たばこ産業株式会社
香味吸引物品
今日
日本たばこ産業株式会社
ヒータアッセンブリ及び容器
2日前
日本たばこ産業株式会社
エアロゾル吸引器用の電源ユニット
今日
日本たばこ産業株式会社
縮合三環性化合物及びその医薬用途
今日
日本たばこ産業株式会社
吸引装置、表示方法、及びプログラム
8日前
日本たばこ産業株式会社
エアロゾル生成システム、制御方法、及びプログラム
今日
日本たばこ産業株式会社
エアロゾル生成装置、エアロゾル生成装置の制御方法、及びプログラム
10日前
個人
ヒートスティック除去具
4か月前
日本たばこ産業株式会社
香味吸引物品
2か月前
日本たばこ産業株式会社
香味吸引物品
今日
個人
電子タバコの加熱素子
4か月前
個人
フレーバ用ブースター器具およびシーシャ装置
4か月前
日本たばこ産業株式会社
喫煙システム
3か月前
日本たばこ産業株式会社
口腔用組成物
3か月前
日本たばこ産業株式会社
香味発生物品
2か月前
東莞市佳かい精密金属制品有限公司
充電可能な電子タバコケース
4か月前
Future Technology株式会社
エアロゾル吸引カートリッジ
2か月前
日本たばこ産業株式会社
香味吸引システム
3か月前
日本たばこ産業株式会社
香味吸引システム
3か月前
日本たばこ産業株式会社
低香味原料を含むたばこセグメント
2か月前
Future Technology株式会社
たばこ用組成物、E-リキッド、たばこ製品
29日前
日本たばこ産業株式会社
粒状再生セルロースを含有する口腔用組成物
3か月前
日本たばこ産業株式会社
香味発生物品および香味吸引システム
3か月前
日本たばこ産業株式会社
電子装置
4か月前
Future Technology株式会社
喫煙器具
2か月前
Future Technology株式会社
芳香基材
4か月前
日本たばこ産業株式会社
吸引器
4か月前
日本たばこ産業株式会社
たばこ材料、その製造方法、および非燃焼加熱型喫煙物品
2か月前
Future Technology株式会社
芳香カートリッジ
1か月前
Future Technology株式会社
芳香カートリッジ
4か月前
Future Technology株式会社
芳香カートリッジ
5か月前
Future Technology株式会社
被加熱芳香発生基材
14日前
Future Technology株式会社
タバコ充填物集積体
2か月前
Future Technology株式会社
喫煙具用カートリッジ
4か月前
Future Technology株式会社
喫煙具用カートリッジ
3か月前
Future Technology株式会社
喫煙具用カートリッジ
3か月前
続きを見る
他の特許を見る