TOP
|
特許
|
意匠
|
商標
特許ウォッチ
Twitter
他の特許を見る
10個以上の画像は省略されています。
公開番号
2025172957
公報種別
公開特許公報(A)
公開日
2025-11-26
出願番号
2025149959,2021027033
出願日
2025-09-10,2021-02-24
発明の名称
画像処理装置およびその制御方法、撮像装置、プログラム
出願人
キヤノン株式会社
代理人
個人
,
個人
,
個人
,
個人
主分類
H04N
23/611 20230101AFI20251118BHJP(電気通信技術)
要約
【課題】被写体検出の画像処理において画像内の被写体に係る部位間の指定を可能にする。
【解決手段】撮像装置100は、入力画像に対して被写体の検出を行う被写体検出部161を備える。被写体検出部161は、画像内の少なくとも2箇所の部位を検出し(S402)、検出された部位のうち優先部位を決定する(S403)。被写体検出部161は、決定した優先部位を拡張する領域拡張処理(S404,S405)を行うことで、前記優先部位から、検出されている他の部位の方向へ領域を拡張する。複数の部位の検出において、検出できない部位も、検出部位の拡張領域として扱うことにより、ユーザが領域を誤って指定した場合に、指定された領域が拡張領域に含まれるときには当該領域に対してユーザが指定したと判断することが可能となる。
【選択図】 図4
特許請求の範囲
【請求項1】
画像を取得して被写体の検出を行う画像処理装置であって、
前記画像内の同一被写体に係る顔と胴体の部位をそれぞれ検出する検出手段と、
前記顔と前記胴体の間の領域をユーザが指定した場合、前記顔が指定されたと判断する判断手段と、を備える
ことを特徴とする画像処理装置。
続きを表示(約 1,000 文字)
【請求項2】
前記判断手段は、前記顔が指定されたと判断する場合、前記顔に対応する領域に焦点検出処理を行う
ことを特徴とする請求項1に記載の画像処理装置。
【請求項3】
前記顔と胴体の間の領域は、前記検出手段による非検出領域である
ことを特徴とする請求項1または2に記載の画像処理装置。
【請求項4】
前記判断手段は、前記顔が指定されたと判断する場合、前記顔に対応する領域に基づいたAE処理または画像処理を行う
ことを特徴とする請求項1乃至3のいずれか1項に記載の画像処理装置。
【請求項5】
前記検出手段により検出された顔に対応する領域を前記検出手段により検出された胴体に対応する領域の方向に拡張する拡張手段を備え、
前記判断手段は、前記拡張手段により拡張された領域が指定された場合、前記顔が指定されたと判断する
ことを特徴とする請求項1乃至4のいずれか1項に記載の画像処理装置。
【請求項6】
前記判断手段は、前記検出手段により検出された前記顔の領域に対して周辺の所定範囲の領域をユーザが指定した場合に、前記顔が指定されたと判断し、
前記所定範囲は前記胴体に向かう方向の方が他の方向よりも広い
ことを特徴とする請求項1乃至5のいずれか1項に記載の画像処理装置。
【請求項7】
画像を取得して被写体の検出を行う画像処理装置であって、
前記画像内の同一被写体に係る顔と胴体の部位をそれぞれ検出する検出手段と、
前記顔と前記胴体の間の領域をユーザが指定した場合、表示手段に表示された前記顔に対応する領域に枠を表示する表示制御手段と、を備える
ことを特徴とする画像処理装置。
【請求項8】
前記顔と前記胴体の間の領域をユーザが指定した場合、前記顔が指定されたと判断して前記顔に対応する領域に焦点検出処理を行う判断手段を備える
ことを特徴とする請求項7に記載の画像処理装置。
【請求項9】
前記顔と胴体の間の領域は、前記検出手段による非検出領域である
ことを特徴とする請求項7または8に記載の画像処理装置。
【請求項10】
前記判断手段は、前記顔が指定されたと判断する場合、前記顔に対応する領域に基づいたAE処理または画像処理を行う
ことを特徴とする請求項8に記載の画像処理装置。
(【請求項11】以降は省略されています)
発明の詳細な説明
【技術分野】
【0001】
本発明は、画像内の被写体の検出および決定の技術に関する。
続きを表示(約 1,800 文字)
【背景技術】
【0002】
撮像装置では撮像画像データから画像の特定領域の特徴量を取得し、検出した被写体に対して焦点合わせを行い、明るさや色等を好適な状態で撮影することができる。特許文献1には、被写体の顔の向き等が変化する状況でも顔の位置を推定し続ける技術が開示されている。1つの被写体に対して複数の部位を検出することで、精度よく被写体を検出し続けることができる。また複数の被写体が検出された場合にユーザがタッチ操作を行って、撮りたい被写体を選択することも可能である。
【先行技術文献】
【特許文献】
【0003】
特開2009-81714号公報
【発明の概要】
【発明が解決しようとする課題】
【0004】
従来の技術では、複数の検出部位の間に検出対象外の部位がある場合、ユーザが当該部位に対してタッチ操作等を行って指定してしまうと、所望の被写体を選択できない可能性がある。
本発明の目的は、被写体検出の画像処理において画像内の被写体に係る部位間の指定を可能にすることである。
【課題を解決するための手段】
【0005】
本発明の一実施形態の装置は、画像を取得して被写体の検出を行う画像処理装置であって、前記画像内の同一被写体に係る顔と胴体の部位をそれぞれ検出する検出手段と、前記顔と前記胴体の間の領域をユーザが指定した場合、前記顔が指定されたと判断する判断手段と、を備えることを特徴とする。
【発明の効果】
【0006】
本発明によれば、被写体検出の画像処理において画像内の被写体に係る部位間の指定が可能である。
【図面の簡単な説明】
【0007】
実施形態1の撮像装置の構成を示すブロック図である。
実施形態1の被写体検出部の構成を示すブロック図である。
実施形態1の全体の処理のフローチャートである。
実施形態1の被写体検出のフローチャートである。
実施形態1の領域拡張に関する図である。
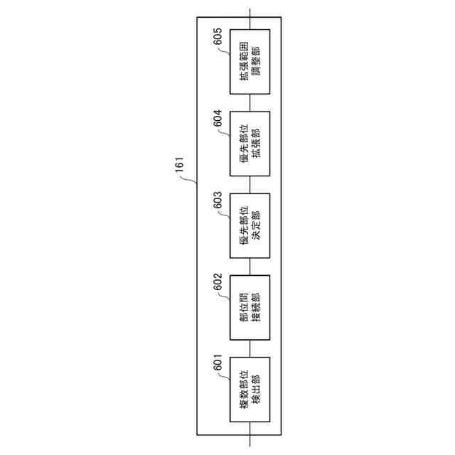
実施形態2の被写体検出部の構成を示すブロック図である。
実施形態2の被写体検出のフローチャートである。
実施形態2の領域拡張に関する図である。
実施形態2の部位間接続処理のフローチャートである。
実施形態2の部位間接続処理に関する図である。
実施形態3の被写体検出のフローチャートである。
実施形態3の領域拡張に関する図である。
実施形態3の変形例の被写体検出のフローチャートである。
実施形態3の変形例の領域拡張に関する図である。
【発明を実施するための形態】
【0008】
以下、本発明の実施形態について図面を参照して詳細に説明する。各実施形態では本発明に係る画像処理装置を適用した撮像装置の例を示す。本発明は被写体検出機能を有するビデオカメラ、デジタルスチルカメラ、撮像手段を有する各種電子機器に適用可能である。
【0009】
[実施形態1]
図1は、本実施形態における撮像装置100の機能構成例を示すブロック図である。撮像装置100は被写体を撮影して動画および静止画のデータを記録媒体に記録可能なデジタルスチルカメラやビデオカメラ等である。撮像装置100内の各ユニットはバス160を介して接続されている。各ユニットは、制御部を構成するCPU(中央演算処理装置)151により制御される。CPUはプログラムを実行することにより、以下に示す処理や制御を行う。
【0010】
撮影レンズ部101は、撮像光学系を構成する固定レンズや可動レンズ等の光学部材を備える。図1では、固定1群レンズ102、ズームレンズ(変倍用レンズ)111、絞り103、固定3群レンズ121、および、フォーカスレンズ(焦点調節用レンズ)131を備えた構成を示す。なお、説明の便宜上、レンズ102、111、121、131を1枚のレンズとして図示しているが、それぞれ複数のレンズで構成されてもよい。また、撮影レンズ部101は着脱可能な交換レンズとして構成されてもよい。
(【0011】以降は省略されています)
この特許をJ-PlatPat(特許庁公式サイト)で参照する
関連特許
個人
イヤーピース
20日前
個人
イヤーマフ
1か月前
個人
監視カメラシステム
1か月前
個人
スイッチシステム
28日前
キーコム株式会社
光伝送線路
1か月前
個人
スキャン式車載用撮像装置
1か月前
サクサ株式会社
中継装置
1か月前
サクサ株式会社
中継装置
1か月前
個人
映像表示装置、及びARグラス
29日前
キヤノン電子株式会社
画像読取装置
28日前
ヤマハ株式会社
放音制御装置
28日前
サクサ株式会社
無線通信装置
1か月前
キヤノン電子株式会社
画像読取装置
20日前
キヤノン電子株式会社
画像読取装置
1か月前
株式会社リコー
画像形成装置
1か月前
サクサ株式会社
無線通信装置
1か月前
サクサ株式会社
無線システム
1か月前
キヤノン株式会社
画像処理装置
23日前
日本電気株式会社
海底分岐装置
1か月前
キヤノン電子株式会社
シート搬送装置
20日前
キヤノン株式会社
情報処理装置
7日前
個人
発信機及び発信方法
1か月前
シャープ株式会社
表示装置
20日前
キヤノン電子株式会社
画像処理システム
1か月前
株式会社NTTドコモ
端末
1か月前
株式会社NTTドコモ
端末
1か月前
有限会社フィデリックス
マイクロフォン
1か月前
シャープ株式会社
表示装置
20日前
株式会社JVCケンウッド
通信システム
1か月前
沖電気工業株式会社
画像形成装置
1か月前
シャープ株式会社
端末装置
1か月前
株式会社NTTドコモ
端末
1か月前
日本セラミック株式会社
超音波送受信器
7日前
株式会社NTTドコモ
端末
1か月前
株式会社NTTドコモ
端末
1か月前
個人
回動アームを構築する関節モジュール
1か月前
続きを見る
他の特許を見る