TOP
|
特許
|
意匠
|
商標
特許ウォッチ
Twitter
他の特許を見る
公開番号
2025172113
公報種別
公開特許公報(A)
公開日
2025-11-20
出願番号
2025144528,2022558271
出願日
2025-09-01,2021-03-26
発明の名称
T細胞受容体
出願人
リジェネロン・ファーマシューティカルズ・インコーポレイテッド
,
REGENERON PHARMACEUTICALS, INC.
代理人
個人
,
個人
主分類
C07K
14/725 20060101AFI20251113BHJP(有機化学)
要約
【課題】改善されたT細胞受容体、ポリヌクレオチド、ポリペプチド、ベクター、細胞、およびそれらの使用方法を提供すること。
【解決手段】本開示の一部は概して、発現、安定性、および機能的アビディティが増加するよう改変された(操作された)単離されたT細胞受容体、そのポリヌクレオチド、組成物、医薬品および使用に関するものである。様々な実施形態において、最小限にマウス化されたTCRα鎖と、最小限にマウス化されたTCRβ鎖を含む単離されたT細胞受容体(TCR)が提供され、この場合において当該TCRα鎖の膜貫通ドメインは、疎水性アミノ酸置換を含む。
【選択図】なし
特許請求の範囲
【請求項1】
本明細書に記載の発明。
発明の詳細な説明
【技術分野】
【0001】
関連出願の相互参照
本出願は、2020年3月27日に出願された米国仮特許出願第63/000,800号の35 U.S.C.§119(e)に基づく優先権を主張し、当該仮特許出願は、参照によりその全体が本明細書に組み込まれる。
続きを表示(約 1,600 文字)
【0002】
配列表に関する記載
本出願に関する配列表は紙媒体の代わりにテキストフォーマットで提出され、参照により本明細書に援用される。配列表を含むテキストファイルの名前は、BLUE-130_PC_ST25.txtである。テキストファイルは70KBであり、2021年3月25日に作成され、本明細書の出願と同時にEFS-Webを介して電子的に提出される。
【0003】
本発明は、発現および機能的アビディティが改善されるように操作されたT細胞受容体(TCR:T cell receptor)に関する。より具体的には、本発明は、発現および機能的アビディティを改善するアミノ酸置換を有するTCR、同TCRをコードするヌクレオチド、ベクター、細胞、組成物、薬剤、およびそれらを使用する方法に関する。
【背景技術】
【0004】
関連分野に関する記載
癌の診断および治療における技術的進歩はあるが、いまだに多くの癌患者は予後不良の状態である。
【0005】
養子細胞療法(ACT:Adoptive cell therapy)は、悪性腫瘍およびウイルス感染の治療に対する有望なアプローチである。抗原特異的T細胞受容体(TCR:antigen-specific T cell receptor)で遺伝子改変されたTリンパ球の養子移入は、患者自身のT細胞の腫瘍除去能力を活用し、増幅させる試みであり、健康な組織を傷つけることなく腫瘍を除去する。理論上、免疫系のT細胞には腫瘍細胞に特異的なタンパク質パターンを認識する能力があり、様々なエフェクター機構を介して腫瘍細胞の破壊を介在する。
【0006】
しかしこのアプローチは腫瘍免疫学の分野にとって新しいものではなく、多くの欠点によって、養子T細胞療法を癌および他の疾患の治療に幅広く使用することができない。TCR遺伝子治療が直面する重大な障害は、TCRのミスペアリングである。TCRのミスペアリングは、導入されたTCRα鎖またはTCRβ鎖と、内因性のTCRβ鎖またはTCRα鎖との間の不正確なペア形成であり、これによって、治療用αβTCRの表面発現が少なくなり、さらには特異性と毒性が不明なT細胞が生成されてしまう可能性がある。TCR遺伝子療法のもう一つの重大な制限事項は、TCRの発現が予測不能なことである。これによって、TCRの不安定性がもたらされ、機能的アビディティが低下する可能性がある。
【発明の概要】
【課題を解決するための手段】
【0007】
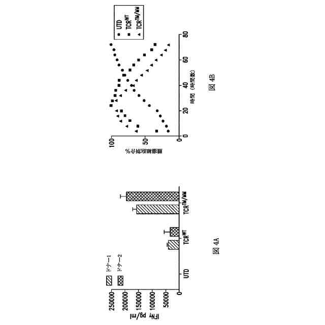
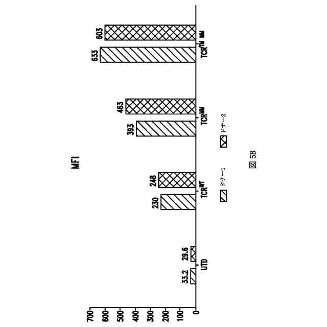
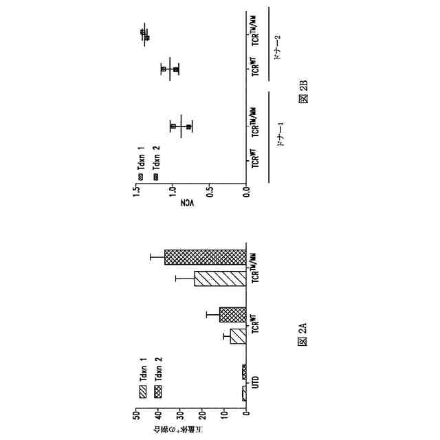
本開示の一部は概して、発現、安定性、および機能的アビディティが増加するよう改変された(操作された)単離されたT細胞受容体、そのポリヌクレオチド、組成物、医薬品および使用に関するものである。
【0008】
様々な実施形態において、最小限にマウス化されたTCRα鎖と、最小限にマウス化されたTCRβ鎖を含む単離されたT細胞受容体(TCR)が提供され、この場合において当該TCRα鎖の膜貫通ドメインは、疎水性アミノ酸置換を含む。
【0009】
様々な実施形態において、最小限にマウス化されたTCRα鎖と、最小限にマウス化されたTCRβ鎖を含む単離されたT細胞受容体(TCR)が提供され、この場合において当該TCRα鎖の膜貫通ドメインは、疎水性アミノ酸置換を含み、当該TCRは、MAGEA4に結合しない。
【0010】
特定の実施形態では、単離されたT細胞受容体(TCR)は、90位、91位、92位、および93位で最小マウス化アミノ酸置換、ならびに115位、118位、および119位で疎水性アミノ酸置換を含む定常ドメインを含むTCRα鎖、ならびに18位、22位、133位、136位、および139位で最小マウス化アミノ酸置換を含む定常ドメインを含むTCRβ鎖、を含む。
(【0011】以降は省略されています)
この特許をJ-PlatPat(特許庁公式サイト)で参照する
関連特許
クミアイ化学工業株式会社
多形
24日前
東ソー株式会社
タンパク質の発現方法
2か月前
東ソー株式会社
炭素-窒素結合形成方法
4か月前
株式会社トクヤマ
四塩化炭素の製造方法
4か月前
株式会社トクヤマ
シロキサン類の回収方法
4か月前
株式会社半導体エネルギー研究所
有機化合物
3か月前
株式会社トクヤマ
ビオチン誘導体の製造方法
4か月前
株式会社半導体エネルギー研究所
有機化合物
24日前
栗田工業株式会社
ギ酸の回収方法
1か月前
株式会社コスモス
液状炭化水素の増産方法
3か月前
株式会社トクヤマ
ベンザゼピン化合物の製造方法
3か月前
株式会社コスモス
液状炭化水素の増産方法
3か月前
株式会社トクヤマ
ホルムアミド化合物の製造方法
3か月前
東ソー株式会社
イソシアネート化合物の製造方法
2か月前
株式会社トクヤマ
チオラクトン誘導体の製造方法
1か月前
artience株式会社
四塩基酸無水物の製造方法
4か月前
信越化学工業株式会社
新規化合物
4か月前
株式会社トクヤマ
チオファニウム塩誘導体の製造方法
26日前
株式会社トクヤマ
チオファニウム塩臭化物の製造方法
3日前
日産化学株式会社
ピラゾール化合物及び有害生物防除剤
4か月前
本田技研工業株式会社
CO2変換方法
1か月前
大阪瓦斯株式会社
メタン製造システム
1か月前
株式会社トクヤマ
サフィナミド若しくはその塩の製造方法
4か月前
三菱ケミカル株式会社
アルコールの製造方法
2か月前
国立大学法人東京農工大学
深共晶溶媒
3か月前
キヤノン株式会社
有機化合物及び有機発光素子
1か月前
JNC株式会社
有機ケイ素化合物およびこれを用いた重合体
2か月前
JNC株式会社
有機ケイ素化合物およびこれを用いた重合体
3か月前
東ソー株式会社
免疫グロブリン結合性タンパク質の保存溶液
4か月前
東ソー株式会社
免疫グロブリン結合性タンパク質の製造方法
2か月前
株式会社トクヤマ
アシル化ベンゼン誘導体の酸塩の製造方法
3か月前
個人
IL-17産生誘導能を有する化合物及びその用途
1か月前
株式会社半導体エネルギー研究所
有機金属錯体、発光デバイス
3か月前
キヤノン株式会社
有機金属錯体及び有機発光素子
1か月前
デンカ株式会社
有機酸又はその塩の製造方法
2か月前
国立大学法人京都大学
抗がん剤
3か月前
続きを見る
他の特許を見る