TOP
|
特許
|
意匠
|
商標
特許ウォッチ
Twitter
他の特許を見る
10個以上の画像は省略されています。
公開番号
2025172006
公報種別
公開特許公報(A)
公開日
2025-11-20
出願番号
2025075993
出願日
2025-05-01
発明の名称
直交符号を用いる周波数領域デュプリケート・モード送信のシステム及び方法
出願人
アバゴ・テクノロジーズ・インターナショナル・セールス・プライベート・リミテッド
,
Avago Technologies International Sales Pte.Limited
代理人
個人
,
個人
,
個人
主分類
H04L
27/26 20060101AFI20251113BHJP(電気通信技術)
要約
【課題】比較的低いピーク対平均電力比を維持しながら、デュプリケート・モード直交周波数分割多元接続送信を行うためのシステムを提供する。
【解決手段】多数のリソース・ユニットを用いて、デュプリケート・シンボル送信を送信することにより、長距離通信を送信するためのシステムにおいて、送信されることになるデータは、多数のリソース・ユニットにデュプリケートされるシンボルに変換される。送信のために時間領域に変換する前に、位相シフトが多数のシンボルに適用される。位相シフトは、信号を送信されたデータに復号する前に、受信機において、取り除かれ得る。
【選択図】なし
特許請求の範囲
【請求項1】
システムであって、
操作を実行するように構成された1つ又は複数の回路を含み、前記操作は、
複数のデータ・シンボルを振幅と位相にマッピングして、複数のシンボルを生成し、
個々の位相シフトの第1の組を前記複数のシンボルに適用して、第1の複数のシフトされたシンボルを生成し、
個々の位相シフトの第2の組を前記複数のシンボルに適用して、第2の複数のシフトされたシンボルを生成し、
前記第1の複数のシフトされたシンボル及び前記第2の複数のシフトされたシンボルに基づいて、時間領域信号を生成し、
前記時間領域信号を送信すること、を含み、
前記第1の複数のシフトされたシンボルは、第1のリソース・ユニットからの第1の複数のサブキャリアに割り当てられ、前記第2の複数のシフトされたシンボルは、第2のリソース・ユニットからの第2の複数のサブキャリアに割り当てられる、システム。
続きを表示(約 1,000 文字)
【請求項2】
前記操作は、
前記複数のシンボルを含む第1の列、及び前記複数のシンボルを含む第2の列を含むシンボル行列を形成し、
分割された列形式で配列された行列を含む行列スタックを生成すること、を更に含み、
前記シンボル行列の列数は、前記複数のシンボルのデュプリケート・シンボル送信を送信するために使用されるリソース・ユニットの数に等しく、
前記シンボル行列の要素は、前記複数のシンボルのそれぞれのシンボルを含み、前記要素は、リソース・ユニットに関連した列、及び前記リソース・ユニットのサブキャリアに関連した行により定義され、
前記個々の位相シフトの第1の組、及び前記個々の位相シフトの第2の組は、前記シンボル行列と前記行列スタックの要素毎の乗算を実行することにより、適用される、請求項1に記載のシステム。
【請求項3】
前記行列の要素は、1の大きさを有する、請求項2に記載のシステム。
【請求項4】
前記行列の行は、直交ベクトルである、請求項3に記載のシステム。
【請求項5】
前記行列は、巡回アダマール行列である、請求項4に記載のシステム。
【請求項6】
パイロット・サブキャリアに対応する前記シンボル行列の個々の要素を乗算する前記行列スタックの要素が、1にされる、請求項2に記載のシステム。
【請求項7】
前記行列スタックの第1の列の複素共役の乗算を用いて、前記行列スタックの各列に対して要素毎の乗算を実行する、請求項2に記載のシステム。
【請求項8】
前記シンボル行列の個々の要素によって表される前記リソース・ユニットのそれぞれにおけるサブキャリアの数は、前記行列の行数で割り切れず、
前記行列は、前記リソース・ユニットのそれぞれにおけるサブキャリアの数よりも大きいスタックされた行数を備える行列スタックを形成するために繰り返され、
前記行列スタックの複数の最後の行は、行列スタックから削除される、請求項2に記載のシステム。
【請求項9】
前記行列は、前記シンボル行列の列数よりも多い列を有し、
前記行列スタックの複数の最後の列は前記行列スタックから削除される、請求項2に記載のシステム。
【請求項10】
位相シフトは、パイロット・サブキャリアに割り当てられたシンボルに適用されない、請求項1に記載のシステム。
(【請求項11】以降は省略されています)
発明の詳細な説明
【技術分野】
【0001】
関連出願に対する相互参照
本出願は、2024年5月8日に出願された米国仮特許出願第63/644,190号の利益を主張しており、また、本出願は、2024年7月9日に出願された米国仮特許出願第63/669,053号の利益も主張しており、双方の内容全体は、参照により本明細書に援用される。
続きを表示(約 1,400 文字)
【0002】
背景
本開示は、直交周波数分割多元接続(Orthogonal Frequency-Domain Multiple Access:OFDMA)信号の異なるリソース・ユニットでのデータのデュプリケート(duplicate:重複、複製、二重)送信を送ることにより、(例えば、長距離通信における)通信信頼度を向上させることに関する。
【0003】
特定の応用形態において、OFDMA通信ネットワークにおいて受信される信号は、チャネル障害(例えば、ノイズ)又は長い移動距離に起因して劣化する可能性がある。データ損失および/または再送信の必要性を和らげるために、同じデータ又はシンボルを、OFDMA信号スペクトルの複数のリソース・ユニット(RU)で送信することができる。例えば、OFDMAフレーム(例えば、Wi-Fiネットワークに使用され得る)のRU52サブチャネルは、4回デュプリケートされることができ、又はOFDMAフレームのRU26サブチャネルは8回デュプリケートされ得る。送信用にシンボルをデュプリケートすることは、時間領域シンボルのクレストが構造的に追加されることにより、信号特性に悪影響を与える可能性があり、それによりピーク対平均電力比(Peak-to-Average Power Ratio:PAPR)の増加をもたらす。PAPRが大きいほど、信号ピークに対してより大きな電力バックオフが必要になり、ひいては送信の最大電力が制限される可能性がある。
【0004】
本開示の様々な目的、態様、特徴および利点は、添付図面に関連してなされる詳細な説明を参照することによって、より明らかになり且つより理解されるであろう。添付図面において、同様の参照符号は、全体にわたって、対応する要素を識別する。当該図面において、同様の参照符号は概して、同一の要素、機能的に類似する要素、及び/又は構造的に類似する要素を示す。
【図面の簡単な説明】
【0005】
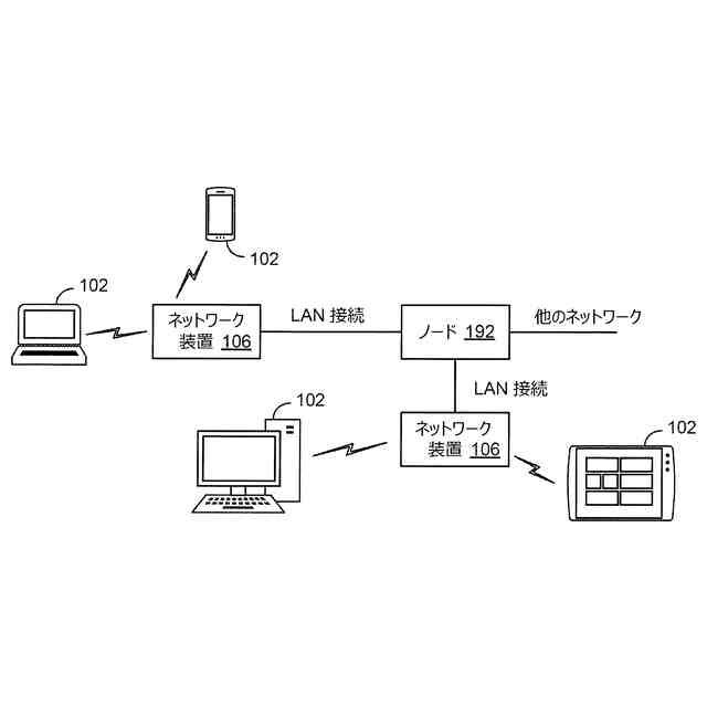
幾つかの実施形態による、1つ又は複数の装置またはステーションと通信する1つ又は複数のアクセス・ポイントを含むネットワーク環境を示すブロック図である。
【0006】
幾つかの実施形態による、本明細書で説明される方法およびシステムに関連して有用なコンピューティング装置を示すブロック図である。
【0007】
幾つかの実施形態による、本明細書で説明される方法およびシステムに関連して有用なコンピューティング装置を示す別のブロック図である。
【0008】
幾つかの実施形態による、異なるリソース・ユニット割り当てを用いる送信のピーク対平均電力比の累積分布関数のプロットである。
【0009】
幾つかの実施形態による、デュプリケーション(複写、複製)モード位相シフト回路を用いる直交周波数分割多元接続(Orthogonal frequency-division multiple access)信号を送信するためのシステムのブロック図である。
【0010】
幾つかの実施形態による、デュプリケーション・モード位相シフト回路を用いる直交周波数分割多元接続信号を受信するためのシステムのブロック図である。
(【0011】以降は省略されています)
この特許をJ-PlatPat(特許庁公式サイト)で参照する
関連特許
個人
イヤーピース
17日前
個人
イヤーマフ
1か月前
個人
監視カメラシステム
1か月前
個人
スイッチシステム
25日前
キーコム株式会社
光伝送線路
1か月前
サクサ株式会社
中継装置
1か月前
サクサ株式会社
中継装置
1か月前
個人
スキャン式車載用撮像装置
1か月前
WHISMR合同会社
収音装置
2か月前
アイホン株式会社
電気機器
2か月前
キヤノン株式会社
撮像装置
2か月前
キヤノン電子株式会社
画像読取装置
25日前
株式会社リコー
画像形成装置
2か月前
個人
映像表示装置、及びARグラス
26日前
キヤノン電子株式会社
画像読取装置
1か月前
個人
ワイヤレスイヤホン対応耳掛け
2か月前
サクサ株式会社
無線システム
1か月前
キヤノン電子株式会社
画像読取装置
2か月前
ヤマハ株式会社
放音制御装置
25日前
株式会社リコー
画像形成装置
2か月前
キヤノン電子株式会社
画像読取装置
17日前
サクサ株式会社
無線通信装置
1か月前
サクサ株式会社
無線通信装置
1か月前
株式会社リコー
画像形成装置
1か月前
キヤノン株式会社
情報処理装置
4日前
キヤノン株式会社
画像処理装置
20日前
個人
発信機及び発信方法
1か月前
キヤノン電子株式会社
シート搬送装置
17日前
日本電気株式会社
海底分岐装置
1か月前
キヤノン株式会社
撮像システム
2か月前
株式会社松平商会
携帯機器カバー
2か月前
沖電気工業株式会社
画像形成装置
1か月前
株式会社NTTドコモ
端末
1か月前
株式会社NTTドコモ
端末
1か月前
沖電気工業株式会社
画像形成装置
1か月前
シャープ株式会社
表示装置
17日前
続きを見る
他の特許を見る