TOP
|
特許
|
意匠
|
商標
特許ウォッチ
Twitter
他の特許を見る
10個以上の画像は省略されています。
公開番号
2025171761
公報種別
公開特許公報(A)
公開日
2025-11-20
出願番号
2024077409
出願日
2024-05-10
発明の名称
通信制御装置、通信制御方法および通信制御プログラム
出願人
NECプラットフォームズ株式会社
代理人
個人
,
個人
主分類
H04W
16/14 20090101AFI20251113BHJP(電気通信技術)
要約
【課題】他の用途の信号が受信される可能性がある通信周波数帯域における通信が切断される期間を短くする。
【解決手段】1以上のプロセッサを備え、通信用の電波信号以外の他の電波信号を受信しうる複数の第1の通信チャネルと、複数の第1の通信チャネルそれぞれに含まれる1以上の第2の通信チャネルとを用いたデータ通信の通信制御を行う通信制御装置であって、1以上のプロセッサは、データ通信が行われる以前の全ての第2の通信チャネルにおいて並行して、他の電波信号が受信されるか否かを確認し、確認の対象となっている第2の通信チャネル以外の全ての第2の通信チャネルにおいて並行して、他の電波信号が受信されるか否かを監視し、確認および監視の結果に基づいて、第1の通信チャネルそれぞれおよび第2の通信チャネルそれぞれに対する通信制御を行うように構成される。
【選択図】図6B
特許請求の範囲
【請求項1】
1以上のプロセッサを備え、データ通信用の電波信号以外の他の電波信号を受信しうる複数の第1の通信チャネルと、前記複数の第1の通信チャネルそれぞれに含まれる1以上の第2の通信チャネルとを用いたデータ通信の通信制御を行う通信制御装置であって、前記1以上のプロセッサは、
データ通信が行われる以前の全ての前記第2の通信チャネルにおいて並行して、前記他の電波信号が受信されるか否かを確認し、
前記確認の対象となっている前記第2の通信チャネル以外の全ての前記第2の通信チャネルにおいて並行して、前記他の電波信号が受信されるか否かを監視し、
前記確認および前記監視の結果に基づいて、前記第1の通信チャネルそれぞれおよび前記第2の通信チャネルそれぞれに対する通信制御を行う
ように構成される通信制御装置。
続きを表示(約 1,800 文字)
【請求項2】
前記複数の第1の通信チャネルそれぞれにおいて、前記第2の通信チャネルは通信制御に用いられるプライマリチャネルを少なくとも含み、
前記監視により、前記プライマリチャネルにおいて前記他の電波信号が受信されたときに、前記他の電波信号が受信されたプライマリチャネルを含む第1の通信チャネルにおけるデータ通信を、他の前記第1の通信チャネルにおけるデータ通信に移行させる
請求項1に記載の通信制御装置。
【請求項3】
前記確認が行われている前記第2の通信チャネルおよび前記監視により前記他の電波信号が受信されている前記第2の通信チャネルを最も少なく含む前記第1の通信チャネルが、他の前記第1の通信チャネルとされる
請求項2に記載の通信制御装置。
【請求項4】
前記複数の第1の通信チャネルそれぞれにおいて、前記第2の通信チャネルは通信制御に用いられるプライマリチャネルを少なくとも含み、
前記監視により、前記プライマリチャネルにおいて前記他の電波信号が受信されたときに、前記他の電波信号が受信されたプライマリチャネルを含む第1の通信チャネルにおけるデータ通信のための通信制御を、前記他の電波信号が受信されたプライマリチャネル以外の前記第2の通信チャネルを用いて行う
請求項1に記載の通信制御装置。
【請求項5】
データ通信に用いられている前記第2の通信チャネルにおいて前記他の電波信号が受信されたときに、前記確認により、前記他の電波信号が受信されていた前記第2の通信チャネルにおいて前記他の電波信号が受信されたとき以外に、前記他の電波信号が受信されていた前記第2の通信チャネルを用いたデータ通信を可能とする
請求項1に記載の通信制御装置。
【請求項6】
前記確認および前記監視は複数の通信装置により行われ、前記確認は、前記複数の通信装置のうちの1以上を用いて行われる
請求項5に記載の通信制御装置。
【請求項7】
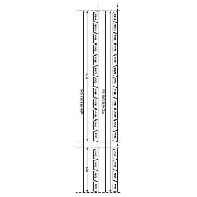
前記第2の通信チャネルは、IEEE802.11規格の5GHzのW53バンドおよびW56バンドの少なくとも一方に含まれる通信チャネルである
請求項1に記載の通信制御装置。
【請求項8】
前記確認はCACにより行われ、
前記監視はISMにより行われる
請求項7に記載の通信制御装置。
【請求項9】
データ通信用の電波信号以外の他の電波信号を受信しうる複数の第1の通信チャネルと、前記複数の第1の通信チャネルそれぞれに含まれる1以上の第2の通信チャネルとを用いたデータ通信の通信制御を行う通信制御装置における通信制御方法であって、
データ通信が行われる以前の全ての前記第2の通信チャネルにおいて並行して、前記他の電波信号が受信されるか否かを確認する確認ステップと、
前記確認の対象となっている前記第2の通信チャネル以外の全ての前記第2の通信チャネルにおいて並行して、前記他の電波信号が受信されるか否かを監視する監視ステップと、
前記確認および前記監視の結果に基づいて、前記第1の通信チャネルそれぞれおよび前記第2の通信チャネルそれぞれに対する通信制御を行う通信制御ステップと
を含む通信制御方法。
【請求項10】
1以上のプロセッサを備え、データ通信用の電波信号以外の他の電波信号を受信しうる複数の第1の通信チャネルと、前記複数の第1の通信チャネルそれぞれに含まれる1以上の第2の通信チャネルとを用いたデータ通信の通信制御を行う通信制御プログラムであって、
データ通信が行われる以前の全ての前記第2の通信チャネルにおいて並行して、前記他の電波信号が受信されるか否かを確認する確認プロセスと、
前記確認の対象となっている前記第2の通信チャネル以外の全ての前記第2の通信チャネルにおいて並行して、前記他の電波信号が受信されるか否かを監視する監視プロセスと、
前記確認および前記監視の結果に基づいて、前記第1の通信チャネルそれぞれおよび前記第2の通信チャネルそれぞれに対する通信制御を行う通信制御プロセスと
をさらに前記1以上のプロセッサに実行させる通信制御プログラム。
発明の詳細な説明
【技術分野】
【0001】
本発明は、通信制御装置、通信制御方法および通信制御プログラムに関する。
続きを表示(約 2,500 文字)
【背景技術】
【0002】
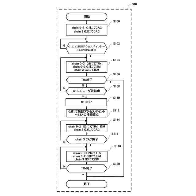
現在、IEEE(Institute of Electrical and Electronics Engineers)802.11規格準拠のWi-Fi(Wireless Fidelity)通信によりデータを通信する通信機器およびコンピュータなどが広く用いられている。Wi-Fi通信において用いられるデータ通信用の電波信号のうち、5GHzのW53バンドおよびW56バンドに含まれる通信チャネル(52ch~64ch,100ch~144ch;「ch」は「チャネル」)は、データ通信用以外の他の電波信号としてレーダー等の特定優先電波の影響を受ける可能性がある。従って、このような通信周波数帯域を使用するデータ通信のためには、動的周波数選択(DFS;Dynamic Frequency Selection)の機能を有することが義務づけられ、様々な規則が設けられている。
【0003】
この規則はNOP(Non-Occupancy Period)、CAC(Channel Availability Check)、ISM(In-Service Monitoring)およびCMT(Channel Move Time)などの事項を含む。NOPは、レーダ信号が受信された通信チャネルの使用を30分以上、禁止することである。CACは、通信チャネルを用いたデータ通信を開始する前にレーダ信号がないことを60秒以上、確認することである。ISMは、通信チャネルにおけるデータ通信中に常にレーダ信号が受信されるかを監視することである。例えば、特許文献1は、5GHzのW52バンドに含まれる通信チャネルにおけるデータ通信を、W53バンドおよびW56バンドに含まれる通信チャネルにおけるデータ通信に切り替える方法を開示する。
【先行技術文献】
【特許文献】
【0004】
特願2022-159672号公報
【発明の概要】
【発明が解決しようとする課題】
【0005】
なお、上記先行技術文献の各開示は、引用によりこの書類に組み込まれる。以下の分析は、本発明者らによってなされた。
【0006】
例えば、5GHzのW53バンドおよびW56バンドの通信チャネルにおいてデータ通信およびISMを行っているときに、使用中の通信チャネルにおいて、データ通信用の電波信号以外のレーダ信号が電波信号として受信されてしまうことがある。このようなときであっても、素早くデータ通信に用いられる通信チャネルを変更し、データ通信が接続される期間を短くしたいという要望がある。
【0007】
本発明の目的は、上記課題に鑑み、他の用途の信号が受信される可能性がある通信周波数帯域におけるデータ通信を行っているときに、データ通信が切断される期間を短くすることに寄与することである。
【課題を解決するための手段】
【0008】
本発明の第1の視点では、1以上のプロセッサを備え、データ通信用の電波信号以外の他の電波信号を受信しうる複数の第1の通信チャネルと、前記複数の第1の通信チャネルそれぞれに含まれる1以上の第2の通信チャネルとを用いたデータ通信の通信制御を行う通信制御装置であって、前記1以上のプロセッサは、データ通信が行われる以前の全ての前記第2の通信チャネルにおいて並行して、前記他の電波信号が受信されるか否かを確認し、前記確認の対象となっている前記第2の通信チャネル以外の全ての前記第2の通信チャネルにおいて並行して、前記他の電波信号が受信されるか否かを監視し、前記確認および前記監視の結果に基づいて、前記第1の通信チャネルそれぞれおよび前記第2の通信チャネルそれぞれに対する通信制御を行うように構成される通信制御装置が提供される。
【0009】
本発明の第2の視点では、データ通信用の電波信号以外の他の電波信号を受信しうる複数の第1の通信チャネルと、前記複数の第1の通信チャネルそれぞれに含まれる1以上の第2の通信チャネルとを用いたデータ通信の通信制御を行う通信制御装置における通信制御方法であって、データ通信が行われる以前の全ての前記第2の通信チャネルにおいて並行して、前記他の電波信号が受信されるか否かを確認する確認ステップと、前記確認の対象となっている前記第2の通信チャネル以外の全ての前記第2の通信チャネルにおいて並行して、前記他の電波信号が受信されるか否かを監視する監視ステップと、前記確認および前記監視の結果に基づいて、前記第1の通信チャネルそれぞれおよび前記第2の通信チャネルそれぞれに対する通信制御を行う通信制御ステップとを含む通信制御方法が提供される。
【0010】
本発明の第3の視点では、1以上のプロセッサを備え、データ通信用の電波信号以外の他の電波信号を受信しうる複数の第1の通信チャネルと、前記複数の第1の通信チャネルそれぞれに含まれる1以上の第2の通信チャネルとを用いたデータ通信の通信制御を行う通信制御プログラムであって、データ通信が行われる以前の全ての前記第2の通信チャネルにおいて並行して、前記他の電波信号が受信されるか否かを確認する確認プロセスと、前記確認の対象となっている前記第2の通信チャネル以外の全ての前記第2の通信チャネルにおいて並行して、前記他の電波信号が受信されるか否かを監視する監視プロセスと、前記確認および前記監視の結果に基づいて、前記第1の通信チャネルそれぞれおよび前記第2の通信チャネルそれぞれに対する通信制御を行う通信制御プロセスとを前記1以上のプロセッサに実行させる通信制御プログラムが提供される。
なお、このプログラムは、コンピュータが読み取り可能な記憶媒体に記録することができる。記憶媒体は、半導体メモリ、ハードディスク、磁気記録媒体、光記録媒体等の非トランジトリ(non-transitory)でありうる。本発明は、コンピュータプログラム製品として具現されうる。
【発明の効果】
(【0011】以降は省略されています)
この特許をJ-PlatPat(特許庁公式サイト)で参照する
関連特許
個人
イヤーピース
16日前
個人
イヤーマフ
1か月前
個人
監視カメラシステム
1か月前
キーコム株式会社
光伝送線路
1か月前
個人
スイッチシステム
24日前
サクサ株式会社
中継装置
1か月前
個人
スキャン式車載用撮像装置
1か月前
サクサ株式会社
中継装置
1か月前
株式会社リコー
画像形成装置
1か月前
個人
映像表示装置、及びARグラス
25日前
サクサ株式会社
無線通信装置
1か月前
サクサ株式会社
無線通信装置
1か月前
キヤノン電子株式会社
画像読取装置
24日前
サクサ株式会社
無線システム
1か月前
キヤノン電子株式会社
画像読取装置
16日前
キヤノン電子株式会社
画像読取装置
1か月前
ヤマハ株式会社
放音制御装置
24日前
キヤノン株式会社
画像処理装置
19日前
キヤノン電子株式会社
シート搬送装置
16日前
個人
発信機及び発信方法
1か月前
キヤノン株式会社
情報処理装置
3日前
日本電気株式会社
海底分岐装置
1か月前
株式会社NTTドコモ
端末
1か月前
シャープ株式会社
表示装置
16日前
シャープ株式会社
表示装置
16日前
株式会社NTTドコモ
端末
1か月前
株式会社NTTドコモ
端末
1か月前
沖電気工業株式会社
画像形成装置
1か月前
株式会社NTTドコモ
端末
1か月前
シャープ株式会社
端末装置
1か月前
株式会社JVCケンウッド
通信システム
1か月前
日本セラミック株式会社
超音波送受信器
3日前
沖電気工業株式会社
画像形成装置
1か月前
キヤノン電子株式会社
画像処理システム
1か月前
有限会社フィデリックス
マイクロフォン
1か月前
株式会社NTTドコモ
端末
1か月前
続きを見る
他の特許を見る