TOP
|
特許
|
意匠
|
商標
特許ウォッチ
Twitter
他の特許を見る
公開番号
2025171667
公報種別
公開特許公報(A)
公開日
2025-11-20
出願番号
2024077247
出願日
2024-05-10
発明の名称
電話番号検知装置、電話番号検知方法
出願人
株式会社ジンテック
代理人
弁理士法人一色国際特許事務所
主分類
H04M
1/56 20060101AFI20251113BHJP(電気通信技術)
要約
【課題】IP網に接続された固定電話の移転先番号を自動的に取得する。
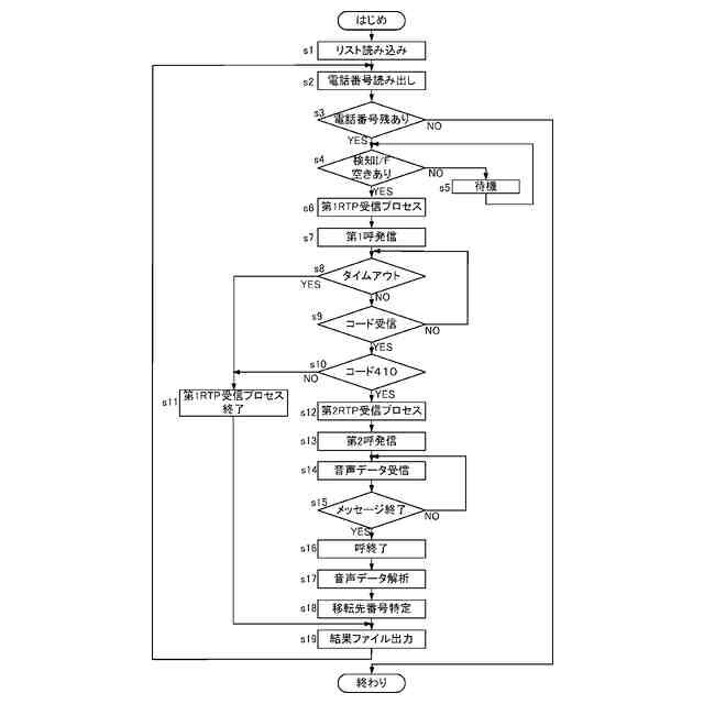
【解決手段】コンピュータシステムにより構成され、制御部11と電話番号を記憶する記憶部12と制御部とIP網100とのデータ通信を仲介する通信インタフェース13bとを備えた電話番号検知装置1であって、制御部は、調査対象の電話番号を宛先番号とした着信させない呼をSIPサーバー103に発信した際にSIPサーバーから宛先番号の移転に対応するコードが送信されてくると、宛先番号に対して音声通話のための呼をSIPサーバーに向けて発信することでIP網内から送信されてくる移転ガイダンスの音声データを受信して記録し、記録した音声データを解析して移転ガイダンスに含まれる移転先番号を特定するとともに、移転先番号を記憶部に記憶する。
【選択図】図3
特許請求の範囲
【請求項1】
IP網に接続してVoIPの手順でデータ通信を行うコンピュータシステムにより構成され、
制御部と、記憶部と、通信インタフェースとを備え、
前記記憶部は、調査対象となる電話番号を記憶し、
前記通信インタフェースは、前記制御部と前記IP網とのデータ通信を仲介し、
前記制御部は、
前記記憶部に記憶されている調査対象の前記電話番号を宛先番号とするとともに、当該宛先番号の電話機に着信させない呼を前記IP網内に設置されたSIPサーバーに向けて発信する第1呼発信ステップと、
前記第1呼発信ステップに対する前記SIPサーバーからの応答として、前記宛先番号の移転に対応するコードが送信されてくると、前記宛先番号に対して音声通話のための呼を前記SIPサーバーに向けて発信する第2呼発信ステップと、
前記第2呼発信ステップに対して、前記IP網内から送信されてくる移転ガイダンスの音声データを受信する音声受信ステップと、
前記移転ガイダンスの音声データを記録するガイダンス記録ステップと、
前記記録した前記音声データを解析して、前記移転ガイダンスに含まれる移転先番号を特定する移転先特定ステップと、
特定した前記移転先番号を前記記憶部に記憶する移転先番号記憶ステップと、
を実行する、
電話番号検知装置。
続きを表示(約 970 文字)
【請求項2】
前記第1呼発信ステップに対する前記SIPサーバーからの応答として、前記宛先番号が、前記IP網外において有効又は無効な電話番号のいずれかを示すコードが返送されてくると、その旨を宛先番号に対応付けして前記記憶部に記憶する、請求項1に記載の電話番号検知装置。
【請求項3】
前記第1呼発信ステップに対する前記SIPサーバーからの応答として、前記宛先番号が、前記IP網外において、有効又は無効な電話番号のいずれかを示すコードが返送されてくると、前記IP網外への通信を指定するとともに、当該宛先番号の電話機に着信させない呼を前記SIPサーバーに発信し、
当該呼に対して前記IP網から返送されてくるコードが有効、無効、及び他の通信事業者の管轄であることを示すコードであれば、前記宛先番号に、前記コードに応じて、前記IP網と同じ通信事業者の管轄にあるメタル回線に接続された電話機である旨、前記宛先番号が無効である旨、及び他の通信事業者が管轄する電話機として有効である旨を前記宛先番号に対応付けして記憶する、
請求項2に記載の電話番号検知装置。
【請求項4】
前記記憶部には、前記記録した前記移転ガイダンスの音声データと比較されるサンプルデータが記憶され、
前記サンプルデータは、複数種類の前記移転ガイダンスのメッセージ文の夫々における、先頭部分、中間部分、及び末尾部分の文言の夫々と、前記移転ガイダンスにおいて電話番号を告知する0~9の各数字の夫々について、前記移転ガイダンスにおいて発声の開始から所定のデータ量分の振幅値の時系列変化を記述し、
前記ガイダンス記録ステップでは、前記音声受信ステップによって受信中の音声データが前記末尾部分のサンプルデータと一致すると前記音声データの記録を停止し、
前記移転先特定ステップでは、ガイダンス記録ステップにより記録された音声データの振幅値の推移と前記サンプルデータとの比較に基づいて、前記移転ガイダンスに含まれる移転先番号を特定する、
請求項1に記載の電話番号検知装置。
【請求項5】
請求項1~4のいずれかに記載の電話番号検知装置を用いて調査対象の電話番号の移転先番号を特定する、電話番号検知方法。
発明の詳細な説明
【技術分野】
【0001】
本発明は、電話番号検知装置、及び電話番号の検知方法に関する。
続きを表示(約 3,000 文字)
【背景技術】
【0002】
電話を利用した各種の業務においては顧客の電話番号リストはきわめて重要な情報であり、不必要になった電話番号をリストから削除するなど、情報の価値を低下させないような管理を随時行う必要がある。例えば、リストに登録されている電話番号がある時点で使用されなくなったり、別の新たな電話番号に変更になったりして、無効になっている場合、このような無効な電話番号を、リストから削除したり、変更したりする必要がある。
【0003】
なお、以下の特許文献1には、ISDNに接続した番号調査用コンピュータによりクリーニング対象電話番号リスト中の有効な電話番号を区別する電話番号リストのクリーニング方法について記載され、以下の特許文献2には、ISDNに接続されたコンピュータにより構成され、電話番号リストから読み取った電話番号を着番号として網に送出した「呼設定」メッセージに対して網から転送されてきた前記理由表示の内容が「相手加入者番号変更」であった場合、その理由表示に付帯した診断情報フィールドに記入されている新しい電話番号をピックアップする電話番号リストのクリーニング装置について記載されている。また、以下の非特許文献1には、本発明に関連して、SIP(Session Initiation Protocol)の仕様についての解説が記載され、以下の非特許文献2には、SDP(Session Description Protocol)の仕様について記載されている。
【先行技術文献】
【特許文献】
【0004】
特許第3462196号公報
特許第3140967号公報
【非特許文献】
【0005】
一般社団法人情報通信技術委員会、” Session Initiation Protocol (SIP) に関する技術レポート”、[online]、[令和6年4月22日検索]、インターネット<URL:https://www.ttc.or.jp/download_file/3941/301>
tex2e/rfc-translater、” RFC 8866 - SDP: Session Description Protocol 日本語訳”、[online]、[令和6年4月22日検索]、インターネット<URL:https://tex2e.github.io/rfc-translater/html/rfc8866.html>
【発明の概要】
【発明が解決しようとする課題】
【0006】
上記特許文献1と特許文献2に記載の電話番号のクリーニング装置は、いずれも、通信事業者である日本電信電話株式会社(NTT)が提供するISDNを介した総合ディジタル通信サービスを用いることを前提としている。しかし、周知のごとく、2024年1月1日より、NTTが提供する固定電話サービス用の網が、IP(Internet Protocol)化され、ISDNを含めた公衆交換電話網(PSTN: Public Switched Telephone Network)が全面的にIP網に移行された。すなわち、固定電話サービスは、従来の電話交換機からIPで音声を中継する周知のVoIP(Voice Over Internet Protocol)の仕組みに切り替えられた。したがって、上記特許文献1や特許文献2に記載の電話番号のクリーニング装置等のように、コンピュータを用いて電話番号リストに掲載されている個々の電話番号の死活状態や移転の有無の判別、及び移転先番号の特定等を行って、電話番号リストを最新の状態に保っておくためには、IP網に対応した新規なシステムが必要となる。しかし、電話番号の移転に関しては、IP網から移転先の電話番号のデータを直接取得することができない。すなわち、特許文献2に記載された移転先番号の取得手法を単純にIP網に転用することが原理的に不可能となっている。したがって、IP網を介して移転先番号を取得するためには、従来のISDNを対象とした移転先番号の取得手法とは全く異なる手法が求められる。
【0007】
そこで本発明は、IP網に接続された固定電話の移転先番号を自動的に取得できる電話番号検知装置、及び電話番号検知方法を提供することを目的としている。
【課題を解決するための手段】
【0008】
上記目的を達成するための本発明の第1の態様は、
IP網に接続してVoIPの手順でデータ通信を行うコンピュータシステムにより構成され、
制御部と、記憶部と、通信インタフェースとを備え、
前記記憶部は、調査対象となる電話番号を記憶し、
前記通信インタフェースは、前記制御部と前記IP網とのデータ通信を仲介し、
前記制御部は、
前記記憶部に記憶されている調査対象の前記電話番号を宛先番号とするとともに、当該宛先番号の電話機に着信させない呼を前記IP網内に設置されたSIPサーバーに向けて発信する第1呼発信ステップと、
前記第1呼発信ステップに対する前記SIPサーバーからの応答として、前記宛先番号の移転に対応するコードが送信されてくると、前記宛先番号に対して音声通話のための呼を前記SIPサーバーに向けて発信する第2呼発信ステップと、
前記第2呼発信ステップに対して、前記IP網内から送信されてくる移転ガイダンスの音声データを受信する音声受信ステップと、
前記移転ガイダンスの音声データを記録するガイダンス記録ステップと、
前記記録した前記音声データを解析して、前記移転ガイダンスに含まれる移転先番号を特定する移転先特定ステップと、
特定した前記移転先番号を前記記憶部に記憶する移転先番号記憶ステップと、
を実行する、
電話番号検知装置である。
【0009】
前記第1呼発信ステップに対する前記SIPサーバーからの応答として、前記宛先番号が、前記IP網外において有効又は無効な電話番号のいずれかを示すコードが返送されてくると、その旨を宛先番号に対応付けして前記記憶部に記憶する、電話番号検知装置としもよい。
【0010】
前記第1呼発信ステップに対する前記SIPサーバーからの応答として、前記宛先番号が、前記IP網外において有効又は無効な電話番号のいずれかを示すコードが返送されてくると、前記IP網外への通信を指定するとともに、当該宛先番号の電話機に着信させない呼を前記SIPサーバーに発信し、
当該呼に対して前記IP網から返送されてくるコードが有効、無効、及び他の通信事業者の管轄であることを示すコードであれば、前記宛先番号に、前記コードに応じて、前記IP網と同じ通信事業者の管轄にあるメタル回線に接続された電話機である旨、前記宛先番号が無効である旨、及び他の通信事業者が管轄する電話機として有効である旨を前記宛先番号に対応付けして記憶する、
電話番号検知装置とすることもできる。
(【0011】以降は省略されています)
この特許をJ-PlatPat(特許庁公式サイト)で参照する
関連特許
個人
イヤーピース
16日前
個人
イヤーマフ
1か月前
個人
監視カメラシステム
1か月前
個人
スイッチシステム
24日前
キーコム株式会社
光伝送線路
1か月前
サクサ株式会社
中継装置
1か月前
サクサ株式会社
中継装置
1か月前
個人
スキャン式車載用撮像装置
1か月前
キヤノン電子株式会社
画像読取装置
16日前
サクサ株式会社
無線通信装置
1か月前
サクサ株式会社
無線通信装置
1か月前
キヤノン電子株式会社
画像読取装置
1か月前
個人
映像表示装置、及びARグラス
25日前
サクサ株式会社
無線システム
1か月前
キヤノン電子株式会社
画像読取装置
24日前
ヤマハ株式会社
放音制御装置
24日前
株式会社リコー
画像形成装置
1か月前
キヤノン株式会社
情報処理装置
3日前
キヤノン株式会社
画像処理装置
19日前
個人
発信機及び発信方法
1か月前
日本電気株式会社
海底分岐装置
1か月前
キヤノン電子株式会社
シート搬送装置
16日前
日本セラミック株式会社
超音波送受信器
3日前
株式会社NTTドコモ
端末
1か月前
株式会社NTTドコモ
端末
1か月前
シャープ株式会社
端末装置
1か月前
沖電気工業株式会社
画像形成装置
1か月前
キヤノン電子株式会社
画像処理システム
1か月前
株式会社NTTドコモ
端末
1か月前
株式会社NTTドコモ
端末
1か月前
株式会社JVCケンウッド
通信システム
1か月前
株式会社NTTドコモ
端末
1か月前
有限会社フィデリックス
マイクロフォン
1か月前
シャープ株式会社
表示装置
16日前
シャープ株式会社
表示装置
16日前
ダイハツ工業株式会社
人流取得装置
1か月前
続きを見る
他の特許を見る