TOP
|
特許
|
意匠
|
商標
特許ウォッチ
Twitter
他の特許を見る
公開番号
2025171510
公報種別
公開特許公報(A)
公開日
2025-11-20
出願番号
2024076936
出願日
2024-05-10
発明の名称
転がり軸受
出願人
FYH株式会社
代理人
個人
,
個人
,
個人
,
個人
,
個人
,
個人
主分類
F16C
33/78 20060101AFI20251113BHJP(機械要素または単位;機械または装置の効果的機能を生じ維持するための一般的手段)
要約
【課題】軸受内部に塵埃・水等が侵入するおそれの少ない、防塵・防水・密封性能が高い転がり軸受、特に、インサート軸受に適した転がり軸受を提供する。
【解決手段】内輪2および外輪3と、これら内輪2および外輪3の間に介在する複数の転動体4とを有する転がり軸受1において、内輪2および外輪3の間に形成される環状空間Sを密封するシール部材5を備えている。シール部材5は、外輪3の内周面に装着されることにより、軸方向に4重に配置された第1から第4のリップ部8d~8gがそれぞれ内輪2の外周面と接触して環状空間Sを密封する。
【選択図】図1
特許請求の範囲
【請求項1】
内輪および外輪と、これら内輪および外輪の間に介在する複数の転動体とを有し、前記内輪および外輪の間に形成される環状空間を密封するシール部材を備えた転がり軸受であって、
前記シール部材は、前記外輪の内周面に装着され、前記内輪の外周面にそれぞれ接触する第1から第4のリップ部が軸方向に4重に配置されている
ことを特徴とする転がり軸受。
続きを表示(約 380 文字)
【請求項2】
前記シール部材は、環状の金属製芯材を有し、この金属製芯材に弾性体からなる前記第1から第4のリップ部が一体成形されている
ことを特徴とする請求項1に記載の転がり軸受。
【請求項3】
前記金属製芯材は、少なくともその外周端部の背面側に弾性体を一体成形してなる
ことを特徴とする請求項2に記載の転がり軸受。
【請求項4】
前記第1から第4のリップ部のうち前記環状空間に対面する第1のリップ部は、その先端が軸方向内側に向かって斜めに形成されている
ことを特徴とする請求項1から3のいずれかに記載の転がり軸受。
【請求項5】
前記シール部材によって密封された前記環状空間内に潤滑剤が充填封入されている
ことを特徴とする請求項1から3のいずれかに記載の転がり軸受。
発明の詳細な説明
【技術分野】
【0001】
この発明は転がり軸受に関し、より詳細には、インサート軸受に適用される転がり軸受のシール構造に関する。
続きを表示(約 1,400 文字)
【背景技術】
【0002】
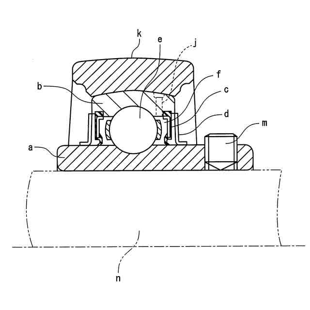
従来、転がり軸受において、軸受内部への塵埃・水などの侵入を防止するシール構造を備えたものが知られている。この種の転がり軸受のシール構造は、図3に示すように、軸受外輪bに取り付けられたシール材cと、軸受内輪aの外周に取付けられたスリンガdとで構成されるのが一般的であるが、塵埃・水などの影響を強く受ける場所に使用される転がり軸受(例えば、インサート軸受に適用される転がり軸受など)においては、一般的な転がり軸受に比べて、防塵、防水、密封性能の高いシール構造が望まれる。
【0003】
図4は、インサート軸受用として、防塵、防水および密封性能の向上が図られたタイプの転がり軸受の一例を示している(例えば、特許文献1参照)。図示の転がり軸受は、内輪aと外輪bとの間に複数の転動体e,e,…を備えるとともに、内外輪間の環状空間fを密封するシール構造として、径方向の端部が外輪bに装着された環状のシールドgと、先端が内輪aの外周面に接触する3枚のシールリップiを備えたシール材hとを有しており、これらシールドgおよび3枚のシールリップiによって環状空間fを密封するように構成している。
【0004】
なお、図4において、符号jは環状空間fへの潤滑剤供給路を、符号kはインサート軸受の軸受箱をそれぞれ示している。また、符号mは回転体nに内輪aを固定するための固定用ねじを示している。
【先行技術文献】
【特許文献】
【0005】
特開2022-169216号公報の図9参照
【発明の概要】
【発明が解決しようとする課題】
【0006】
しかしながら、このような従来のシール構造には以下のような問題がありその改善が望まれていた。
【0007】
すなわち、図4に示すシール構造は、図3に示すシール構造に比して高い防塵、防水、密封性能を発揮するが、かかる構成であっても塵埃・水などの影響を強く受ける場所で使用すると、軸受内部に塵埃や水などが侵入することがあった。
【0008】
本発明は、このような問題点に鑑みてなされたものであって、その目的とするところは、軸受内部に塵埃・水等が侵入するおそれの少ない、防塵・防水・密封性能が高い転がり軸受、特に、インサート軸受に適した転がり軸受を提供することにある。
【課題を解決するための手段】
【0009】
上記目的を達成するため、本発明に係る転がり軸受は、内輪および外輪と、これら内輪および外輪の間に介在する複数の転動体とを有し、上記内輪および外輪の間に形成される環状空間を密封するシール部材を備えた転がり軸受であって、上記シール部材は、上記外輪の内周面に装着され、上記内輪の外周面にそれぞれ接触する第1から第4のリップ部が軸方向に4重に配置されていることを特徴とする。
【0010】
この転がり軸受では、シール部材が外輪の内周面に装着されることによって軸方向に4重に配置された第1から第4のリップ部がそれぞれ内輪の外周面と接触してシール構造を形成するので、塵埃・水などの軸受内部への侵入がこれら4枚のシールリップによって効果的に防止される。
(【0011】以降は省略されています)
この特許をJ-PlatPat(特許庁公式サイト)で参照する
関連特許
FYH株式会社
転がり軸受
21日前
FYH株式会社
転がり軸受
21日前
FYH株式会社
防水試験装置
6日前
個人
留め具
1か月前
個人
鍋虫ねじ
3か月前
個人
紛体用仕切弁
3か月前
個人
波動歯車装置
今日
個人
回転伝達機構
4か月前
個人
差動歯車用歯形
5か月前
個人
給排気装置
2か月前
個人
ジョイント
2か月前
株式会社不二工機
電磁弁
5か月前
個人
ナット
2か月前
個人
ナット
1か月前
個人
地震の揺れ回避装置
4か月前
個人
ゲート弁バルブ
21日前
個人
吐出量監視装置
3か月前
カヤバ株式会社
緩衝器
5か月前
兼工業株式会社
バルブ
1か月前
カヤバ株式会社
ダンパ
5か月前
カヤバ株式会社
ダンパ
5か月前
柿沼金属精機株式会社
分岐管
3か月前
カヤバ株式会社
緩衝器
2か月前
カヤバ株式会社
緩衝器
5か月前
株式会社ニフコ
クリップ
21日前
株式会社奥村組
制振機構
2か月前
株式会社タカギ
水栓装置
4か月前
株式会社奥村組
制振機構
2か月前
個人
固着具と固着具の固定方法
6か月前
株式会社ノーリツ
分配弁
2か月前
株式会社フジキン
ボールバルブ
6か月前
株式会社三五
ドライブシャフト
1か月前
アズビル株式会社
回転弁
2か月前
株式会社不二工機
電磁弁
3か月前
株式会社ニフコ
クリップ
2か月前
個人
固着具と固着具の固定方法
6か月前
続きを見る
他の特許を見る