TOP
|
特許
|
意匠
|
商標
特許ウォッチ
Twitter
他の特許を見る
公開番号
2025177394
公報種別
公開特許公報(A)
公開日
2025-12-05
出願番号
2024084194
出願日
2024-05-23
発明の名称
防水試験装置
出願人
FYH株式会社
代理人
個人
,
個人
,
個人
,
個人
,
個人
,
個人
主分類
G01M
3/02 20060101AFI20251128BHJP(測定;試験)
要約
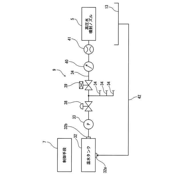
【課題】運転状態で転がり軸受の防水試験を実施できる防水試験装置を提供する。
【解決手段】密封型の転がり軸受Bの防水性能を試験するための防水試験装置であって、転がり軸受Bが装置される回転テーブル4と、回転テーブル4を回転駆動させるテーブル駆動手段8と、回転テーブル4に装置された転がり軸受Bに臨んで配置される複数の高圧水噴射ノズル5と、高圧水噴射ノズル5に高圧水を供給する高圧水供給手段9と、回転テーブル4に装置され、転がり軸受Bを運転状態にする軸受駆動手段6と、制御手段7と、を備える。制御手段は、テーブル駆動手段8を作動させて回転テーブル4を回転させるとともに、軸受駆動手段6を作動させて転がり軸受Bを運転状態とし、さらに高圧水供給手段9を作動させて高圧水噴射ノズル5から転がり軸受Bに向けて高圧水を噴射させることで、転がり軸受Bを高圧水噴射環境下に晒して防水試験を実施する。
【選択図】図1
特許請求の範囲
【請求項1】
密封型転がり軸受の防水性能を試験するための防水試験装置であって、
被検体となる転がり軸受が装置される回転テーブルと、
前記回転テーブルを回転駆動させるテーブル駆動手段と、
前記回転テーブルに装置された前記被検体に臨んで配置される複数の高圧水噴射ノズルと、
前記高圧水噴射ノズルに高圧水を供給する高圧水供給手段と、
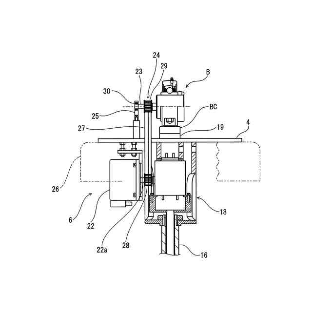
前記回転テーブルに装置され、前記転がり軸受を運転状態にする軸受駆動手段と、
制御手段と、を備え、
前記制御手段は、前記テーブル駆動手段を作動させて前記回転テーブルを回転させるとともに、前記軸受駆動手段を作動させて前記転がり軸受を運転状態とし、さらに前記高圧水供給手段を作動させて前記高圧水噴射ノズルから前記被検体に向けて高圧水を噴射させることで、前記被検体を高圧水噴射環境下に晒す制御構成を有している
ことを特徴とする防水試験装置。
続きを表示(約 610 文字)
【請求項2】
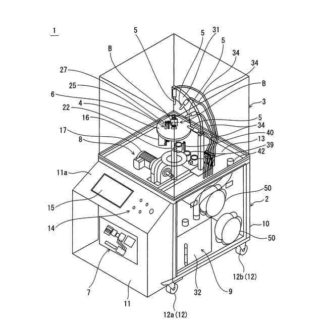
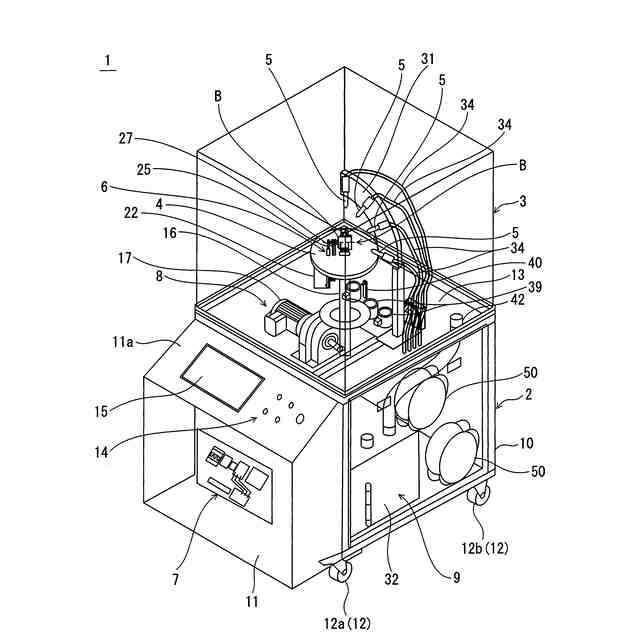
装置筐体と、防水カバーとを有し、
前記装置筐体は、前記テーブル駆動手段、前記高圧水供給手段および前記制御手段を収容するとともに、使用済みの上記高圧水を回収する回収トレーを有する上面パネルの上方に前記回転テーブルおよび前記高圧水噴射ノズルを配置してなり、
前記防水カバーは、前記装置筐体の上方に配置されて、前記回転テーブルおよび前記高圧水噴射ノズルの周囲を覆う容器状の形態とされている
ことを特徴とする請求項1に記載の防水試験装置。
【請求項3】
前記装置筐体は、その底部に旋回機構を備えた車輪と制動機構を備えた車輪とを有している
ことを特徴とする請求項2に記載の防水試験装置。
【請求項4】
前記高圧水供給手段は、温水を貯留する温水タンクと、吸込側が前記温水タンクに接続され吐出側が電磁弁を介して前記高圧水噴射ノズルに接続される高圧ポンプとを有し、
前記温水タンクは、前記高圧水噴射ノズルから噴射された使用済みの高圧水を前記回収トレーを介して回収して補水する補水機構を有する
ことを特徴とする請求項2または3に記載の防水試験装置。
【請求項5】
前記軸受駆動手段は、前記被検体となる転がり軸受の内輪を回転駆動させる回転軸を有する
ことを特徴とする請求項2または3に記載の防水試験装置。
発明の詳細な説明
【技術分野】
【0001】
この発明は防水試験装置に関し、より詳細には、密封型転がり軸受の防水性能の試験に用いる防水試験装置に関する。
続きを表示(約 1,100 文字)
【背景技術】
【0002】
従来、転がり軸受の分野では、外部からの異物(ごみ、水分など)の侵入を防止しつつ、内部に保有する潤滑剤が外部に漏出するのを防止する軸受として、密封型の転がり軸受が提案されている。密封型の転がり軸受の中には、周知のとおり、内輪と外輪との間に形成される環状空間の軸方向の両端にスリンガ、ラビリンス、オイルシールなどの密封構造を備えているものがある。
【0003】
密封構造を備えた転がり軸受の性能(防水性能)は、例えば、日本産業規格の「電気機械器具の外郭による保護等級(JIS0920)」や、国際標準化機構(ISO)の「IP(International Protection)コード」などによって評価されることがある。
【0004】
例えば、IPコードに規定されたIPX9Kの取得条件は、指定形状のノズル(IPX9Kノズル)を使用し、このノズルから80℃の温水を、8MPa~10MPaの水圧、14~16リットル/分の水量で試験対象(被検体)に噴射・放水する。被検体とノズルの間隔は10~15cm、放水の角度(方位)は0度、30度、60度、90度で、各方位につき30秒ずつ被検体を水平面上で回転させながら放水し、水の侵入がないこととされている。
【0005】
そのため、この種の評価にあたっては、上述した条件で被検体に高圧の温水を噴射することができる防水試験装置(例えば、特許文献1参照)が用いられている。
【先行技術文献】
【特許文献】
【0006】
特開2017-102018号公報
【発明の概要】
【発明が解決しようとする課題】
【0007】
しかしながら、従来の防水試験装置には以下のような問題があり、その改善が望まれていた。
【0008】
すなわち、従来の防水試験装置は、被検体を水平面上で回転させる構造を備えているが、被検体である転がり軸受を運転状態にする手段を備えていない。そのため、水平面上で回転する転がり軸受は、内輪および外輪の双方が静的状態である運転停止状態で防水性能が評価される。
【0009】
しかし、いうまでもなく転がり軸受は内輪または外輪の少なくとも一方が回転する運転状態で使用されるものであり、運転状態で防水試験を実施しなければ、転がり軸受としての実用的な防水性能を評価することができない。
【0010】
本発明は、このような問題点に鑑みてなされたものであって、その目的とするところは、運転状態で転がり軸受の防水試験を実施できる防水試験装置を提供することにある。
【課題を解決するための手段】
(【0011】以降は省略されています)
特許ウォッチbot のツイートを見る
この特許をJ-PlatPat(特許庁公式サイト)で参照する
関連特許
FYH株式会社
転がり軸受
20日前
FYH株式会社
転がり軸受
20日前
FYH株式会社
防水試験装置
5日前
個人
視触覚センサ
5日前
日本精機株式会社
検出装置
1か月前
個人
採尿及び採便具
1か月前
個人
計量機能付き容器
1か月前
愛知電機株式会社
外観検査方法
1日前
愛知電機株式会社
外観検査装置
1日前
日本精機株式会社
発光表示装置
13日前
甲神電機株式会社
電流検出装置
1か月前
株式会社カクマル
境界杭
20日前
株式会社ミツトヨ
測定器
1か月前
ユニパルス株式会社
トルク変換器
5日前
ユニパルス株式会社
トルク変換器
5日前
ユニパルス株式会社
トルク変換器
5日前
株式会社トプコン
測量装置
12日前
アズビル株式会社
電磁流量計
1か月前
大成建設株式会社
風洞実験装置
1か月前
愛知時計電機株式会社
ガスメータ
1か月前
個人
システム、装置及び実験方法
1か月前
日本特殊陶業株式会社
ガスセンサ
28日前
日本特殊陶業株式会社
ガスセンサ
12日前
個人
非接触による電磁パルスの測定方法
1か月前
日本信号株式会社
距離画像センサ
1か月前
日本特殊陶業株式会社
ガスセンサ
6日前
個人
計量具及び計量機能付き容器
1か月前
大和製衡株式会社
組合せ計量装置
1か月前
日本特殊陶業株式会社
ガスセンサ
5日前
大和製衡株式会社
組合せ計量装置
1か月前
愛知電機株式会社
軸部材の外観検査装置
1か月前
双庸電子株式会社
誤配線検査装置
1か月前
株式会社不二越
X線測定装置
1か月前
個人
液位検視及び品質監視システム
28日前
日置電機株式会社
絶縁抵抗測定装置
5日前
本陣水越株式会社
車載式計測標的物
7日前
続きを見る
他の特許を見る