TOP
|
特許
|
意匠
|
商標
特許ウォッチ
Twitter
他の特許を見る
公開番号
2025171509
公報種別
公開特許公報(A)
公開日
2025-11-20
出願番号
2024076935
出願日
2024-05-10
発明の名称
転がり軸受
出願人
FYH株式会社
代理人
個人
,
個人
,
個人
,
個人
,
個人
,
個人
主分類
F16C
33/78 20060101AFI20251113BHJP(機械要素または単位;機械または装置の効果的機能を生じ維持するための一般的手段)
要約
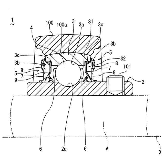
【課題】防塵・防水・密封性能が高く、しかも内輪との摩擦による回転性能の低下が少ない転がり軸受、特に、インサート軸受に適した転がり軸受を提供する。
【解決手段】内輪2および外輪3と、これら内輪2および外輪3の間に介在する複数の転動体4とを有し、内輪2および外輪3の間に形成される環状空間S1を密封するシール構造5を備えている。シール構造5は、環状空間S1の軸方向端部を密封する第1シール部材7と、第1シール部材7の軸方向外側に配置されるスリンガ9を有する第2シール部材8とから構成される。第1シール部材7は、外輪3の内周面に装着され、内輪2の外周面に接触する第1および第2リップ部11b,11cと、スリンガ9の内側面に接触する第3リップ部11dとを有し、第2シール部材8は、スリンガ9の外周端部に備えられ、外輪3の軸方向端部に接触する第4リップ部12aを有している。
【選択図】図1
特許請求の範囲
【請求項1】
内輪および外輪と、これら内輪および外輪の間に介在する複数の転動体とを有し、前記内輪および外輪の間に形成される環状空間を密封するシール構造を備えた転がり軸受であって、
前記シール構造は、前記環状空間の軸方向端部を密封する第1シール部材と、前記第1シール部材の軸方向外側に配置されるスリンガを有する第2シール部材とからなり、
前記第1シール部材は、前記外輪の内周面に装着され、前記内輪の外周面に接触する第1および第2リップ部と、前記スリンガの内側面に接触する第3リップ部とを有し、
前記第2シール部材は、前記スリンガの外周端部に備えられ、前記外輪の軸方向端部に接触する第4リップ部を有する
ことを特徴とする転がり軸受。
続きを表示(約 440 文字)
【請求項2】
前記第1シール部材は、環状の金属製芯材を有し、この金属製芯材に弾性体からなる前記第1、第2および第3リップ部が形成されている
ことを特徴とする請求項1に記載の転がり軸受。
【請求項3】
前記第1リップ部は、前記金属製芯材の内周端部から軸方向内側に向かって延設されて前記内輪の外周面と接触し、
前記第2リップ部は、前記金属製芯材の内周端部から軸方向外側に向かって延設されて前記内輪の外周面に接触する
ことを特徴とする請求項2に記載の転がり軸受。
【請求項4】
前記第1シール部材によって密封された前記環状空間内に潤滑剤が充填封入されている
ことを特徴とする請求項1から3のいずれかに記載の転がり軸受。
【請求項5】
前記第1シール部材と前記第2シール部材との間に形成された密閉空間内に潤滑剤が充填封入されている
ことを特徴とする請求項1から3のいずれかに記載の転がり軸受。
発明の詳細な説明
【技術分野】
【0001】
この発明は転がり軸受に関し、より詳細には、インサート軸受に適用される転がり軸受のシール構造に関する。
続きを表示(約 1,500 文字)
【背景技術】
【0002】
従来、転がり軸受において、軸受内部への塵埃・水などの侵入を防止するシール構造を備えたものが知られている。この種の転がり軸受のシール構造は、軸受外輪に取り付けられたシール材と、軸受内輪の外周に取付けられたスリンガとで構成されるのが一般的であるが、塵埃・水などの影響を強く受ける場所に使用される転がり軸受(例えば、インサート軸受に適用される転がり軸受など)においては、一般的な転がり軸受に比べて、防塵、防水、密封性能の高いシール構造が望まれる。
【0003】
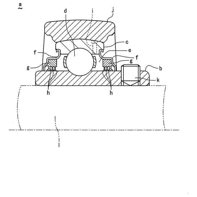
図4は、インサート軸受用として、防塵、防水および密封性能の向上が図られたタイプの転がり軸受の一例を示している(例えば、特許文献1参照)。図示の転がり軸受aは、内輪bと外輪cとの間に複数の転動体d,d,…を備えるとともに、内外輪間の環状空間eを密封するシール構造として、径方向の端部が外輪cに装着された環状のシールドfと、先端が内輪bの外周面に接触する3枚のシールリップhを備えたシール材gとを有しており、これらシールドfおよび3枚のシールリップhによって環状空間eを密封するように構成している。
【0004】
なお、図4において、符号iは環状空間eへの潤滑剤供給路を、符号jはインサート軸受の軸受箱をそれぞれ示している。また、符号kは回転体lに内輪bを固定するための固定用ねじを示している。
【先行技術文献】
【特許文献】
【0005】
特開2022-169216号公報の図9参照
【発明の概要】
【発明が解決しようとする課題】
【0006】
しかしながら、このような従来のシール構造には以下のような問題がありその改善が望まれていた。
【0007】
図4に示すシール構造は、シールリップhの数を増やすことにより環状空間eの防塵、防水、密封性能の向上を図るものであるが、単純にシールリップhの数を増やすだけでは、軸受内部への塵埃・水などの侵入を完全に防ぐことができない。
【0008】
また、シールリップhは内輪bの外周面と物理的に接触するため、シールリップhの数を増加させると内輪bとの摩擦抵抗が大きくなり、一般的なシール構造に比べ摩擦抵抗および摩擦による発熱が大きくなって回転性能に悪影響を及ぼすといった問題があった。
【0009】
本発明は、このような問題点に鑑みてなされたものであって、その目的とするところは、防塵・防水・密封性能が高く、しかも内輪との摩擦による回転性能の低下が少ない転がり軸受、特に、インサート軸受に適した転がり軸受を提供することにある。
【課題を解決するための手段】
【0010】
上記目的を達成するため、本発明に係る転がり軸受は、内輪および外輪と、これら内輪および外輪の間に介在する複数の転動体とを有し、上記内輪および外輪の間に形成される環状空間を密封するシール構造を備えた転がり軸受であって、上記シール構造は、上記環状空間の軸方向端部をシールする第1シール部材と、上記第1シール部材の軸方向外側に配置されるスリンガを有する第2シール部材とからなり、上記第1シール部材は、上記外輪の内周面に装着され、上記内輪の外周面に接触する第1および第2リップ部と、上記スリンガの内側面に接触する第3リップ部とを有し、上記第2シール部材は、上記スリンガの外周端部に備えられ、上記外輪の軸方向端部に接触する第4リップ部を有することを特徴とする。
(【0011】以降は省略されています)
この特許をJ-PlatPat(特許庁公式サイト)で参照する
関連特許
個人
留め具
1か月前
個人
鍋虫ねじ
3か月前
個人
回転伝達機構
4か月前
個人
紛体用仕切弁
3か月前
個人
波動歯車装置
1日前
個人
差動歯車用歯形
5か月前
個人
ジョイント
2か月前
個人
給排気装置
2か月前
個人
地震の揺れ回避装置
4か月前
個人
ナット
1か月前
株式会社不二工機
電磁弁
5か月前
個人
ナット
2か月前
個人
ゲート弁バルブ
22日前
個人
吐出量監視装置
3か月前
カヤバ株式会社
ダンパ
5か月前
カヤバ株式会社
緩衝器
5か月前
カヤバ株式会社
緩衝器
5か月前
兼工業株式会社
バルブ
1か月前
カヤバ株式会社
緩衝器
2か月前
柿沼金属精機株式会社
分岐管
3か月前
カヤバ株式会社
ダンパ
5か月前
株式会社ニフコ
クリップ
2か月前
株式会社ノーリツ
分配弁
2か月前
株式会社ニフコ
クリップ
22日前
株式会社三五
ドライブシャフト
1か月前
株式会社フジキン
ボールバルブ
6か月前
アズビル株式会社
回転弁
2か月前
株式会社不二工機
電動弁
2か月前
竹内工業株式会社
ラッチ
7日前
株式会社タカギ
水栓装置
4か月前
株式会社奥村組
制振機構
2か月前
株式会社不二工機
電磁弁
3か月前
株式会社奥村組
制振機構
2か月前
アズビル株式会社
連結装置
3日前
株式会社ノナガセ
免震装置
1か月前
アズビル株式会社
連結装置
3日前
続きを見る
他の特許を見る