TOP
|
特許
|
意匠
|
商標
特許ウォッチ
Twitter
他の特許を見る
10個以上の画像は省略されています。
公開番号
2025171393
公報種別
公開特許公報(A)
公開日
2025-11-20
出願番号
2024076691
出願日
2024-05-09
発明の名称
成形方法、成形装置、および物品製造方法
出願人
キヤノン株式会社
代理人
弁理士法人大塚国際特許事務所
主分類
H01L
21/027 20060101AFI20251113BHJP(基本的電気素子)
要約
【課題】型を用いて基板上の組成物を成形する処理において当該組成物に生じる欠陥を低減するために有利な技術を提供する。
【解決手段】型を用いて基板上の組成物を成形する処理を、前記基板における複数の領域の各々に対して行う成形方法は、前記処理は、前記型と前記基板上の組成物とを接触させた状態で当該組成物を光照射により硬化させる硬化工程と、硬化後の組成物から前記型を分離させる離型工程と、を含み、前記複数の領域は、前記基板の外縁部分を有する第1領域を含み、前記第1領域に対する前記硬化工程において、前記外縁部分への単位面積当たりの照射光量が前記外縁部分以外の部分よりも小さくなるように前記光照射を行うとともに、前記第1領域に対する前記離型工程の後において前記第1領域に光を追加的に照射する。
【選択図】図1
特許請求の範囲
【請求項1】
型を用いて基板上の組成物を成形する処理を、前記基板における複数の領域の各々に対して行う成形方法であって、
前記処理は、前記型と前記基板上の組成物とを接触させた状態で当該組成物を光照射により硬化させる硬化工程と、硬化後の組成物から前記型を分離させる離型工程と、を含み、
前記複数の領域は、前記基板の外縁部分を有する第1領域を含み、
前記第1領域に対する前記硬化工程において、前記外縁部分への単位面積当たりの照射光量が前記外縁部分以外の部分よりも小さくなるように前記光照射を行うとともに、前記第1領域に対する前記離型工程の後において前記第1領域に光を追加的に照射する、ことを特徴とする成形方法。
続きを表示(約 970 文字)
【請求項2】
前記外縁部分は、前記外縁部分以外の部分よりも表面の高さが低い、ことを特徴とする請求項1に記載の成形方法。
【請求項3】
前記複数の領域の各々に対する前記処理が終了した後において前記複数の領域に一括して光を照射することにより、前記第1領域に光を追加的に照射する、ことを特徴とする請求項1に記載の成形方法。
【請求項4】
前記複数の領域は、前記第1領域とは異なる第2領域を含み、
前記第2領域に対する前記硬化工程において前記第1領域と前記第2領域とを含む範囲に一括して前記光照射を行うことにより、前記第1領域に光を追加的に照射する、ことを特徴とする請求項1に記載の成形方法。
【請求項5】
前記複数の領域は、前記第1領域とは異なる第2領域を含み、
前記第1領域および前記第2領域の各々に対する前記処理が終了した後において前記第1領域と前記第2領域とを含む範囲に一括して光を照射することにより、前記第1領域に光を追加的に照射する、ことを特徴とする請求項1に記載の成形方法。
【請求項6】
前記第2領域は、前記複数の領域のうち前記第1領域に隣り合う領域である、ことを特徴とする請求項4又は5に記載の成形方法。
【請求項7】
前記第2領域は、前記複数の領域のうち前記外縁部分を含まない領域である、ことを特徴とする請求項4又は5に記載の成形方法。
【請求項8】
前記第1領域に対する前記離型工程の後において、前記第1領域の全体に光を追加的に照射する、ことを特徴とする請求項1に記載の成形方法。
【請求項9】
前記第1領域に対する前記離型工程の後において、前記第1領域上の組成物の硬度を増加させるように前記第1領域に光を追加的に照射する、ことを特徴とする請求項1に記載の成形方法。
【請求項10】
前記基板上の組成物は、酸素によって硬化を阻害される性質を有し、
前記処理は、前記型と前記基板上の組成物とを接触させる前に、空気よりも酸素濃度が低い気体を前記型と前記基板との間に供給する気体供給工程を更に含む、ことを特徴とする請求項1に記載の成形方法。
(【請求項11】以降は省略されています)
発明の詳細な説明
【技術分野】
【0001】
本発明は、成形方法、成形装置、および物品製造方法に関する。
続きを表示(約 2,000 文字)
【背景技術】
【0002】
半導体デバイスの微細化の要求が進み、従来のフォトリソグラフィ技術に加えて、インプリント技術が注目されている(例えば特許文献1)。インプリント技術は、型を用いて基板上のインプリント材(組成物)を成形するインプリント処理を行うことにより、インプリント材のパターンを基板上に形成する微細加工技術である。例えば、インプリント処理におけるインプリント材の硬化法の1つとして光硬化法がある。光硬化法を用いたインプリント処理では、型と基板上のインプリント材とを接触させた状態で当該インプリント材を光照射によって硬化させ、硬化したインプリント材から型を分離させることで、インプリント材のパターンを基板上に形成することができる。このようなインプリント技術を用いることにより、基板上に数ナノメートルオーダーの微細の構造体を形成することができる。
【先行技術文献】
【特許文献】
【0003】
特表2007-509769号公報
【発明の概要】
【発明が解決しようとする課題】
【0004】
インプリント処理は、基板における複数のショット領域の各々に対して行われる。近年では、基板から得られる製品チップの収率を向上させるため、基板の外縁部分を含むショット領域(所謂、部分ショット領域)に対してもインプリント処理を行うことが求められている。基板の外縁部分には反りや段差が生じていることがあるが、このような外縁部分にも、型と基板とが直接接触することを防止するためにインプリント材が液滴として供給されうる。しかしながら、反りや段差が生じている基板の外縁部分に供給されたインプリント材の液滴は、型の接触(押印)が不十分であるため、基板上で拡がらずに、インプリント処理を経た後に当該液滴の一部が型に付着したままになることがある。型に付着しているインプリント材は、硬化状態であると、後続のショット領域に対するインプリント処理においてパターン欠陥を発生させる要因になりうる。
【0005】
そこで、本発明は、型を用いて基板上の組成物を成形する処理において当該組成物に生じる欠陥を低減するために有利な技術を提供することを目的とする。
【課題を解決するための手段】
【0006】
上記目的を達成するために、本発明の一側面としての成形方法は、型を用いて基板上の組成物を成形する処理を、前記基板における複数の領域の各々に対して行う成形方法であって、前記処理は、前記型と前記基板上の組成物とを接触させた状態で当該組成物を光照射により硬化させる硬化工程と、硬化後の組成物から前記型を分離させる離型工程と、を含み、前記複数の領域は、前記基板の外縁部分を有する第1領域を含み、前記第1領域に対する前記硬化工程において、前記外縁部分への単位面積当たりの照射光量が前記外縁部分以外の部分よりも小さくなるように前記光照射を行うとともに、前記第1領域に対する前記離型工程の後において前記第1領域に光を追加的に照射する、ことを特徴とする。
【0007】
本発明の更なる目的又はその他の側面は、以下、添付図面を参照して説明される好ましい実施形態によって明らかにされるであろう。
【発明の効果】
【0008】
本発明によれば、例えば、型を用いて基板上の組成物を成形する処理において当該組成物に生じる欠陥を低減するために有利な技術を提供することができる。
【図面の簡単な説明】
【0009】
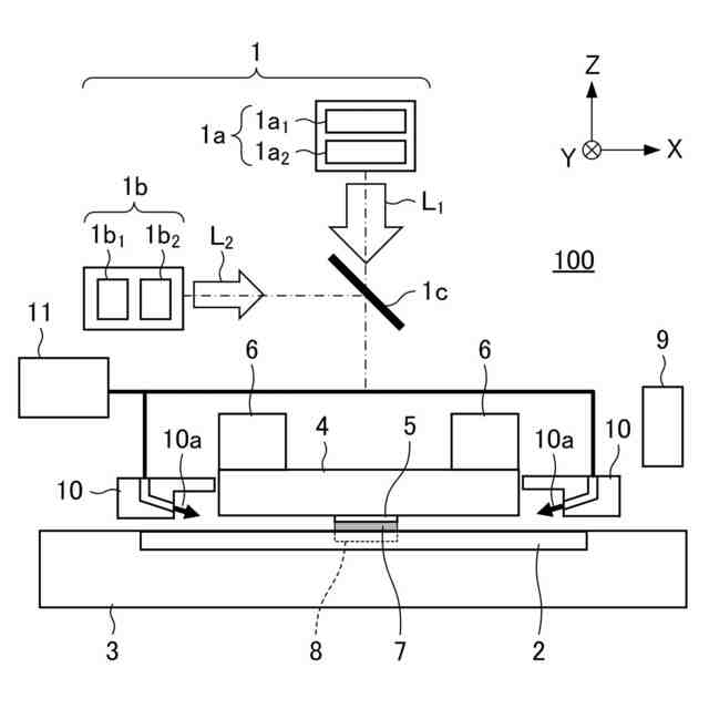
第1実施形態のインプリント装置の構成例を示す概略図
基板における複数のショット領域の配置例を示す図
第1実施形態のインプリント処理を示すフローチャート
従来のインプリント処理を説明するための図
従来のインプリント処理を説明するための図
第1実施形態のインプリント処理を説明するための図
第1実施形態のインプリント処理を説明するための図
第3光照射部を用いて光の追加照射を行っている例を示す図
第2実施形態の硬化工程での光照射を示す図
第3実施形態において部分ショット領域に対する光の追加照射を説明するための図
物品製造方法を説明するための図
【発明を実施するための形態】
【0010】
以下、添付図面を参照して実施形態を詳しく説明する。なお、以下の実施形態は特許請求の範囲に係る発明を限定するものではない。実施形態には複数の特徴が記載されているが、これらの複数の特徴の全てが発明に必須のものとは限らず、また、複数の特徴は任意に組み合わせられてもよい。さらに、添付図面においては、同一若しくは同様の構成に同一の参照番号を付し、重複した説明は省略する。
(【0011】以降は省略されています)
この特許をJ-PlatPat(特許庁公式サイト)で参照する
関連特許
キヤノン株式会社
容器
28日前
キヤノン株式会社
容器
22日前
キヤノン株式会社
トナー
1か月前
キヤノン株式会社
トナー
1か月前
キヤノン株式会社
トナー
1か月前
キヤノン株式会社
トナー
14日前
キヤノン株式会社
トナー
1か月前
キヤノン株式会社
トナー
1か月前
キヤノン株式会社
撮像装置
14日前
キヤノン株式会社
撮像装置
1か月前
キヤノン株式会社
記録装置
14日前
キヤノン株式会社
電子機器
14日前
キヤノン株式会社
記録装置
14日前
キヤノン株式会社
撮像装置
1日前
キヤノン株式会社
撮像装置
1日前
キヤノン株式会社
定着装置
1日前
キヤノン株式会社
記録装置
28日前
キヤノン株式会社
撮像装置
28日前
キヤノン株式会社
撮像装置
1か月前
キヤノン株式会社
撮像装置
28日前
キヤノン株式会社
撮像装置
28日前
キヤノン株式会社
電子機器
14日前
キヤノン株式会社
電子機器
9日前
キヤノン株式会社
定着装置
1か月前
キヤノン株式会社
現像装置
1か月前
キヤノン株式会社
雲台装置
14日前
キヤノン株式会社
撮像装置
9日前
キヤノン株式会社
定着装置
7日前
キヤノン株式会社
測距装置
1か月前
キヤノン株式会社
表示装置
22日前
キヤノン株式会社
定着装置
7日前
キヤノン株式会社
現像容器
1か月前
キヤノン株式会社
記録装置
7日前
キヤノン株式会社
現像装置
1か月前
キヤノン株式会社
定着装置
1日前
キヤノン株式会社
撮像装置
22日前
続きを見る
他の特許を見る