TOP
|
特許
|
意匠
|
商標
特許ウォッチ
Twitter
他の特許を見る
公開番号
2025171230
公報種別
公開特許公報(A)
公開日
2025-11-20
出願番号
2024076349
出願日
2024-05-09
発明の名称
換気装置
出願人
パナソニックIPマネジメント株式会社
代理人
弁理士法人クシブチ国際特許事務所
主分類
F24F
7/08 20060101AFI20251113BHJP(加熱;レンジ;換気)
要約
【課題】筐体の内部でドレン水が飛散することを抑制できる換気装置を提供する。
【解決手段】換気装置は、第1空間から第2空間に空気を流す第1流路と、第2空間から第1空間に空気を流す第2流路と、内部が第1流路と第2流路に区画された筐体と、第1流路に配置される上部熱交換器と、第2流路に配置される下部熱交換器と、上部熱交換器の下方に配置され、上部熱交換器で生じたドレン水を受ける上部ドレンパンと、下部熱交換器の下方に配置され、下部熱交換器で生じたドレン水を受ける下部ドレンパンと、上部ドレンパンに貯水されたドレン水を下部ドレンパンに流す輸送部と、を備える。
【選択図】図5
特許請求の範囲
【請求項1】
第1空間から第2空間に空気を流す第1流路と、
前記第2空間から第1空間に空気を流す第2流路と、
内部が前記第1流路と前記第2流路に区画された筐体と、
前記第1流路に配置される上部熱交換器と、
前記第2流路に配置される下部熱交換器と、
前記上部熱交換器の下方に配置され、前記上部熱交換器で生じたドレン水を受ける上部ドレンパンと、
前記下部熱交換器の下方に配置され、前記下部熱交換器で生じたドレン水を受ける下部ドレンパンと、
前記上部ドレンパンに貯水されたドレン水を前記下部ドレンパンに流す輸送部と、
を備える
換気装置。
続きを表示(約 890 文字)
【請求項2】
前記下部熱交換器は、
前記下部熱交換器と前記空気とが熱交換する熱交換部と、
前記熱交換部から延びる配管と、
を備え、
前記輸送部は、前記第2流路において、前記下部熱交換器の下流側、且つ空気流れの方向において前記熱交換部に重ならない位置に、前記配管と共に配置される
請求項1に記載の換気装置。
【請求項3】
前記下部ドレンパンには、前記第2流路において、前記下部熱交換器の下流側、且つ空気流れの方向において前記熱交換部に重ならない位置に、前記下部ドレンパンの他の箇所よりも下方に窪む貯水部が設けられ、
前記貯水部は、前記筐体の外部にドレン水を排出する排水部に隣接する位置に配置される
請求項2に記載の換気装置。
【請求項4】
前記下部ドレンパンは、前記上部ドレンパンよりも大きく形成される
請求項1から請求項3のいずれか一項に記載の換気装置。
【請求項5】
前記第1流路において、前記上部熱交換器の下流側に配置されると共に、前記第2流路において、前記下部熱交換器との下流側に配置され、前記第1流路を流れる空気と、前記第2流路を流れる空気と、の各々に対して、吸着除湿と再生加湿とを交互に行う調湿部を備え、
前記第2空間を加湿する場合には、前記上部熱交換器が蒸発器として機能し、前記下部熱交換器が凝縮器として機能する
請求項1から請求項3のいずれか一項に記載の換気装置。
【請求項6】
前記第1流路において、前記上部熱交換器の下流側に配置されると共に、前記第2流路において、前記下部熱交換器との下流側に配置され、前記第1流路を流れる空気と、前記第2流路を流れる空気と、の各々に対して、吸着除湿と再生加湿とを交互に行う調湿部を備え、
前記第2空間を除湿する場合には、前記上部熱交換器が凝縮器として機能し、前記下部熱交換器が蒸発器として機能する
請求項1から請求項3のいずれか一項に記載の換気装置。
発明の詳細な説明
【技術分野】
【0001】
本開示は、換気装置に関する。
続きを表示(約 1,800 文字)
【背景技術】
【0002】
特許文献1は、高い除湿能力を備え、低温環境での除湿を行うことのできると共に、装置構造が簡素な空気調和装置を開示する。
当該空気調和装置において、第一熱交換器を通過した空気は、第二熱交換器の下側を覆うように設けられた補助ドレンパンと第一熱交換器との間に形成される風路によりデシカントブロックに導かれ、デシカントブロックの下流側の空気は、デシカントブロックの空気流れ下流側の面を、隙間を介して覆うように設けられた風路形成板とデシカントブロックとの間に形成される風路により第二熱交換器に導かれるように構成されており、冷凍サイクルは、除湿運転において、第一熱交換器が凝縮器として機能し、かつ第二熱交換器が蒸発器として機能する第一運転モードと、第一熱交換器が蒸発器として機能し、かつ第二熱交換器が凝縮器として機能する第二運転モードとを交互に行う。
【先行技術文献】
【特許文献】
【0003】
特開2013-228152号公報
【発明の概要】
【発明が解決しようとする課題】
【0004】
本開示は、筐体の内部でドレン水が拡散ることを抑制できる換気装置を提供する。
【課題を解決するための手段】
【0005】
本開示は、第1空間から第2空間に空気を流す第1流路と、前記第2空間から第1空間に空気を流す第2流路と、内部が前記第1流路と前記第2流路に区画された筐体と、前記第1流路に配置される上部熱交換器と、前記第2流路に配置される下部熱交換器と、前記上部熱交換器の下方に配置され、前記上部熱交換器で生じたドレン水を受ける上部ドレンパンと、前記下部熱交換器の下方に配置され、前記下部熱交換器で生じたドレン水を受ける下部ドレンパンと、前記上部ドレンパンに貯水されたドレン水を前記下部ドレンパンに流す輸送部と、を備える換気装置である。
【発明の効果】
【0006】
本開示によれば、筐体の内部でドレン水が飛散することを抑制できる。
【図面の簡単な説明】
【0007】
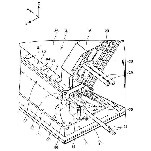
本開示の実施の形態1に係る調湿換気装置の斜視図
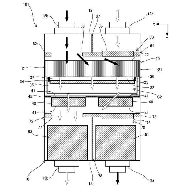
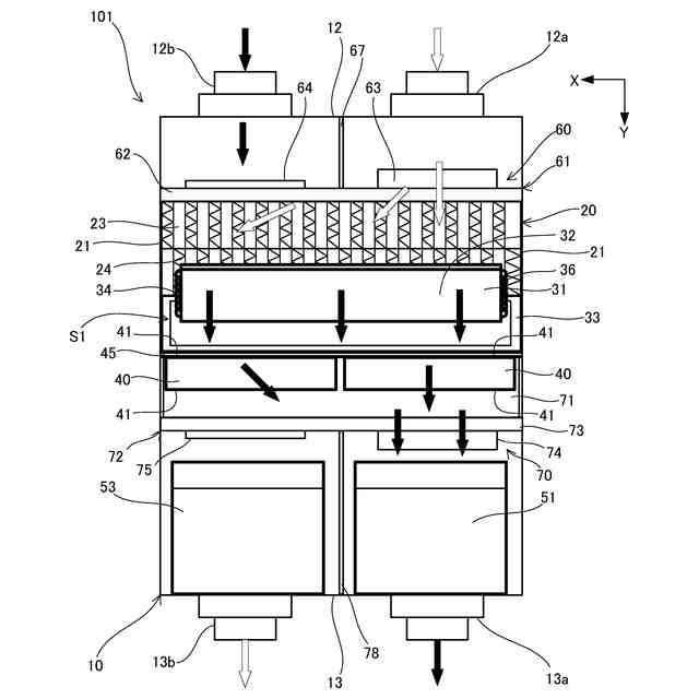
図1のII断面を左方から視た断面視図
調湿換気装置の平面図
図2のIV-IV断面を模式的に示す図
上部顕熱交換器31と、下部顕熱交換器37との左端部を示す斜視図
上部顕熱交換器31と、下部顕熱交換器37との左端部を示す斜視図
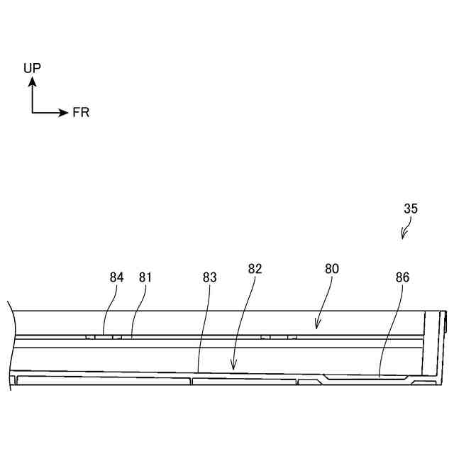
下部ドレンパンを長手方向の略中央で切断した縦断面図
下部ドレンパンを長手方向に平行な平面で切断した縦断面図
【発明を実施するための形態】
【0008】
(本開示の基礎となった知見等)
発明者らが本開示に想到するに至った当時、所定の空間の空気調和を行うことが可能な空気調和装置があった。この空気調和装置は、筐体と、筐体内に配置される第一熱交換器と、第一熱交換器の上方に配置される第二熱交換器と、第一熱交換器のドレン水を受けるドレンパンと、第二熱交換器のドレン水を受ける補助ドレンパンとを備える。当該空気調和装置では、補助ドレンパンに設けられたドレン穴を介して、補助ドレンパンに貯水されるドレン水がドレンパンに滴下する。
【0009】
しかしながら、このような構成では、補助ドレンパンからドレンパンにドレン水が滴下する際場合に、第一熱交換器を通過する空気によってドレン水が飛散し、筐体の内部の他の部材等に付着する虞があると言う課題を発明者らは、発見し、その課題を解決するために、本開示の主題を構成するに至った。
そこで本開示は、筐体の内部でドレン水が飛散することを抑制できる換気装置を提供する。
【0010】
以下、図面を参照しながら、実施の形態を詳細に説明する。但し、必要以上に詳細な説明は、省略する場合がある。例えば、既によく知られた事項の詳細説明、または、実質的に同一の構成に対する重複説明を省略する場合がある。これは、以下の説明が必要以上に冗長になるのを避け、当業者の理解を容易にするためである。
なお、添付図面及び以下の説明は、当業者が本開示を十分に理解するために提供されるのであって、これらにより特許請求の範囲に記載の主題を限定することを意図していない。
(【0011】以降は省略されています)
この特許をJ-PlatPat(特許庁公式サイト)で参照する
関連特許
個人
空気調和機
5か月前
個人
集熱器具
19日前
個人
エアコン室内機
5か月前
株式会社トヨトミ
五徳
1か月前
株式会社コロナ
加湿装置
2か月前
個人
油ハネ防止カーテン
22日前
株式会社コロナ
空調装置
1か月前
株式会社コロナ
空調装置
3か月前
株式会社コロナ
空調装置
2か月前
株式会社コロナ
空調装置
4か月前
個人
UFO型空気清浄機
7日前
株式会社コロナ
加湿装置
6か月前
株式会社コロナ
給湯装置
3か月前
株式会社コロナ
空調装置
1か月前
株式会社コロナ
空調装置
1か月前
株式会社コロナ
空調装置
1か月前
株式会社コロナ
空気調和機
3か月前
個人
太陽光パネル傾斜装置
1か月前
株式会社コロナ
空気調和機
3か月前
株式会社コロナ
風呂給湯機
2か月前
個人
住宅換気空調システム
3か月前
個人
シンプルクーラー
1か月前
株式会社コロナ
暖房システム
1か月前
株式会社コロナ
直圧式給湯機
4か月前
株式会社コロナ
温水暖房装置
1か月前
株式会社コロナ
貯湯式給湯機
5か月前
株式会社コロナ
貯湯式給湯機
1か月前
株式会社コロナ
貯湯式給湯機
2か月前
ホーコス株式会社
排気フード
3か月前
株式会社パロマ
給湯器
4か月前
株式会社コロナ
直圧式給湯機
3か月前
株式会社コロナ
貯湯式給湯装置
4か月前
三菱電機株式会社
換気扇
1か月前
三菱電機株式会社
換気扇
1か月前
三菱電機株式会社
換気扇
1か月前
ホーコス株式会社
換気扇取付枠
2か月前
続きを見る
他の特許を見る