TOP
|
特許
|
意匠
|
商標
特許ウォッチ
Twitter
他の特許を見る
10個以上の画像は省略されています。
公開番号
2025171166
公報種別
公開特許公報(A)
公開日
2025-11-20
出願番号
2024076212
出願日
2024-05-09
発明の名称
表示システム、表示装置、携帯端末装置及び制御方法
出願人
シャープ株式会社
代理人
個人
,
個人
主分類
H04N
21/485 20110101AFI20251113BHJP(電気通信技術)
要約
【課題】表示装置と携帯端末装置を連携させることによって、視力に応じた表示制御を実現する表示システム、表示装置、携帯端末装置及び制御方法等の提供。
【解決手段】 表示システムは、表示部を有する表示装置と、表示装置と通信を行う通信部と、撮像部と、を有する携帯端末装置と、を含み、携帯端末装置は、撮像部により、携帯端末装置のユーザーの顔を含む領域を撮像した撮像画像を取得し、表示装置は、表示装置に対応づけられた携帯端末装置が取得した撮像画像に基づいて判定されたユーザーの視力補正器具の装着状態に応じて、表示部に表示するフォントの表示態様を決定する。
【選択図】図1
特許請求の範囲
【請求項1】
表示部を有する表示装置と、
前記表示装置と通信を行う通信部と、撮像部と、を有する携帯端末装置と、
を含み、
前記携帯端末装置は、
前記撮像部により、前記携帯端末装置のユーザーの顔を含む領域を撮像した撮像画像を取得し、
前記表示装置は、
前記表示装置に対応づけられた前記携帯端末装置が取得した前記撮像画像に基づいて判定された前記ユーザーの視力補正器具の装着状態に応じて、前記表示部に表示するフォントの表示態様を決定する、
表示システム。
続きを表示(約 1,500 文字)
【請求項2】
請求項1において、
前記携帯端末装置は、第2表示部を有し、
前記表示装置または前記携帯端末装置は、
前記撮像画像において、前記ユーザーの顔が識別可能であるかを判定し、
前記携帯端末装置は、
前記ユーザーの顔が識別可能でないと判定された場合、前記第2表示部の輝度を高くする制御を行う表示システム。
【請求項3】
請求項2において、
前記表示装置または前記携帯端末装置は、
前記第2表示部の輝度を高くする制御を行った後の前記撮像画像において、前記ユーザーの顔が識別可能であるかを判定し、
前記表示装置は、
前記ユーザーの顔が識別可能でないと判定された場合、過去の撮像画像に基づく前記装着状態の判定結果に基づいて、前記フォントの前記表示態様を決定する表示システム。
【請求項4】
請求項1において、
前記表示装置または前記携帯端末装置は、
前記撮像画像に基づいて、前記ユーザーの顔が識別可能であるかを判定し、
前記表示装置は、
前記ユーザーの顔が識別可能でないと判定された場合、過去の撮像画像に基づく前記装着状態の判定結果に基づいて、前記フォントの前記表示態様を決定する表示システム。
【請求項5】
請求項1乃至4のいずれか一項において、
前記表示装置は、
前記ユーザーの前記視力補正器具の装着習慣の有無を表す情報を取得し、前記ユーザーに前記装着習慣があると判定された場合に、前記撮像画像に基づいて判定された前記ユーザーの前記視力補正器具の前記装着状態に応じて、前記フォントの前記表示態様を決定する表示システム。
【請求項6】
請求項5において、
前記携帯端末装置は、
前記携帯端末装置の一方側の領域を撮像するフロントカメラである前記撮像部と、前記撮像部とは反対側の領域を撮像するリアカメラである第2撮像部と、前記撮像部及び前記第2撮像部で撮像された画像を記憶する記憶部と、を有し、
前記記憶部に記憶された前記画像のうち、前記撮像部によって撮像された前記画像に基づいて前記装着習慣の有無を表す情報を取得する表示システム。
【請求項7】
請求項5において、
前記表示装置または前記携帯端末装置は、
前記ユーザーを撮像した画像と、前記視力補正器具の装着有無を対応づけた学習用データを取得し、
前記視力補正器具が未装着であることを表す前記学習用データが所定数以上取得された場合、前記ユーザーは前記装着習慣がないと判定する表示システム。
【請求項8】
請求項1乃至4のいずれか一項において、
前記表示装置は、
前記携帯端末装置に通知を送信し、
前記携帯端末装置は、
前記通知を受信した場合に、前記撮像部により前記撮像画像を取得する表示システム。
【請求項9】
請求項8において、
前記表示装置は、
前記携帯端末装置の前記ユーザーが前記表示装置を用いてコンテンツを視聴する蓋然性が高いと判定した場合に、前記通知を送信する表示システム。
【請求項10】
請求項1乃至4のいずれか一項において、
前記携帯端末装置は、
前記表示装置の前に前記ユーザーがいることが検出された場合に、前記撮像部により前記撮像画像を取得する表示システム。
(【請求項11】以降は省略されています)
発明の詳細な説明
【技術分野】
【0001】
本発明は、表示システム、表示装置、携帯端末装置及び制御方法等に関する。
続きを表示(約 1,700 文字)
【背景技術】
【0002】
従来、ユーザーの視力を考慮した表示を行う表示装置が知られている。例えば特許文献1には、ユーザーを撮像したユーザー画像に基づいて視力情報を取得し、当該視力情報に基づいてオブジェクトの表示態様を制御する映像表示装置が開示されている。
【先行技術文献】
【特許文献】
【0003】
国際公開第2018/008128号
【発明の概要】
【発明が解決しようとする課題】
【0004】
特許文献1では、表示装置に設けられるカメラを用いてユーザー画像が取得される。従って、ユーザーが表示装置から離れた位置で視聴している場合、ユーザーが眼鏡またはコンタクトレンズを装着しているかを適切に判定することが容易でない。
【0005】
本開示のいくつかの態様によれば、表示装置と携帯端末装置を連携させることによって、視力に応じた表示制御を実現する表示システム、表示装置、携帯端末装置及び制御方法等を提供できる。
【課題を解決するための手段】
【0006】
本開示の一態様は、表示部を有する表示装置と、前記表示装置と通信を行う通信部と、撮像部と、を有する携帯端末装置と、を含み、前記携帯端末装置は、前記撮像部により、前記携帯端末装置のユーザーの顔を含む領域を撮像した撮像画像を取得し、前記表示装置は、前記表示装置に対応づけられた前記携帯端末装置が取得した前記撮像画像に基づいて判定された前記ユーザーの視力補正器具の装着状態に応じて、前記表示部に表示するフォントの表示態様を決定する、表示システムに関係する。
【0007】
本開示の他の態様は、表示部と、前記表示部の表示制御を行う処理部と、を含み、前記処理部は、表示装置に対応づけられた携帯端末装置の撮像部がユーザーの顔を含む領域を撮像した撮像画像に基づく、前記ユーザーの視力補正器具の装着状態の判定結果を取得し、前記判定結果に応じて、前記表示部に表示するフォントの表示態様を決定する処理を行う、表示装置に関係する。
【0008】
本開示のさらに他の態様は、ユーザーの顔を含む領域を撮像した撮像画像を取得する撮像部と、前記撮像画像に基づいて、前記ユーザーの視力補正器具の装着状態を判定する処理部と、前記視力補正器具の前記装着状態の判定結果を、携帯端末装置に対応づけられた表示装置に送信する通信部と、を含む携帯端末装置に関係する。
【0009】
本開示のさらに他の態様は、表示部を有する表示装置と、前記表示装置と通信を行う通信部と撮像部とを有する携帯端末装置と、を含む表示システムの制御方法であって、前記携帯端末装置の前記撮像部によりユーザーの顔を含む領域を撮像した撮像画像を取得し、前記撮像画像に基づいて、前記ユーザーの視力補正器具の装着状態を判定し、前記視力補正器具の前記装着状態に応じて、前記表示装置の前記表示部に表示するフォントの表示態様を決定する、制御方法に関係する。
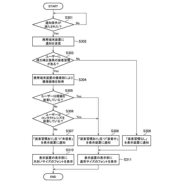
【図面の簡単な説明】
【0010】
表示システムの構成例である。
表示装置の構成例である。
携帯端末装置の構成例である。
表示システムの処理を説明するフローチャートである。
装着習慣の取得処理を説明するフローチャートである。
連携処理を説明するフローチャートである。
通常サイズのフォントを表示する画面例である。
大きなサイズのフォントを表示する画面例である。
連携処理を説明するフローチャートである。
連携処理を説明するフローチャートである。
表示システムの構成例である。
表示システムの構成例である。
表示システムの構成例である。
フロントカメラ及びリアカメラの撮像範囲を例示する図である。
【発明を実施するための形態】
(【0011】以降は省略されています)
この特許をJ-PlatPat(特許庁公式サイト)で参照する
関連特許
個人
イヤーピース
13日前
個人
イヤーマフ
27日前
個人
監視カメラシステム
1か月前
個人
スイッチシステム
21日前
キーコム株式会社
光伝送線路
1か月前
個人
スキャン式車載用撮像装置
1か月前
サクサ株式会社
中継装置
1か月前
株式会社リコー
画像形成装置
29日前
サクサ株式会社
無線システム
1か月前
キヤノン電子株式会社
画像読取装置
13日前
キヤノン電子株式会社
画像読取装置
1か月前
ヤマハ株式会社
放音制御装置
21日前
キヤノン電子株式会社
画像読取装置
21日前
サクサ株式会社
無線通信装置
1か月前
個人
映像表示装置、及びARグラス
22日前
サクサ株式会社
無線通信装置
1か月前
日本電気株式会社
海底分岐装置
1か月前
キヤノン電子株式会社
シート搬送装置
13日前
キヤノン株式会社
画像処理装置
16日前
キヤノン株式会社
情報処理装置
今日
個人
発信機及び発信方法
1か月前
株式会社NTTドコモ
端末
1か月前
シャープ株式会社
表示装置
13日前
シャープ株式会社
表示装置
13日前
日本セラミック株式会社
超音波送受信器
今日
株式会社NTTドコモ
端末
1か月前
株式会社NTTドコモ
端末
1か月前
株式会社NTTドコモ
端末
1か月前
キヤノン電子株式会社
画像処理システム
1か月前
株式会社NTTドコモ
端末
1か月前
シャープ株式会社
端末装置
1か月前
ダイハツ工業株式会社
人流取得装置
1か月前
技術開発合同会社
電子拡大鏡
22日前
株式会社デンソー
車載システム
1か月前
株式会社村田製作所
高周波回路
1か月前
17LIVE株式会社
サーバ及び方法
21日前
続きを見る
他の特許を見る