TOP
|
特許
|
意匠
|
商標
特許ウォッチ
Twitter
他の特許を見る
公開番号
2025170389
公報種別
公開特許公報(A)
公開日
2025-11-18
出願番号
2025144608,2024532230
出願日
2025-09-01,2022-12-07
発明の名称
可溶性中間体を利用するPt(PF3)4の合成のための低圧プロセス、及び、得られたPt(PF3)4の保管
出願人
レール・リキード-ソシエテ・アノニム・プール・レテュード・エ・レクスプロワタシオン・デ・プロセデ・ジョルジュ・クロード
代理人
個人
,
個人
,
個人
,
個人
主分類
C01B
25/08 20060101AFI20251111BHJP(無機化学)
要約
【課題】フィルム形成組成物の前駆体として用いられるPt(PF
3
)
4
の合成方法を提供する。
【解決手段】Pt(PF
3
)
4
の合成方法であって:白金前駆体Pt(Hal)
2
(式中、Hal=F、Cl、Br又はI)及び金属粉末の溶剤中の懸濁液を形成するステップ;過剰量のPF
3
を、Pt(Hal)
2
及び前記金属粉末の前記懸濁液に導入するステップ;反応条件下におけるPF
3
及びPt(Hal)
2
(式中、Hal=F、Cl、Br又はI;x=1、2)の反応で、前記溶剤中に可溶性反応中間体Pt(Hal)
2
(PF
3
)
x
を形成するステップ;及び前記溶剤中におけるPt(Hal)
2
(PF
3
)x、前記金属粉末及び前記過剰量のPF
3
の反応によりPt(PF
3
)
4
を形成するステップを含む方法である。
【選択図】図2a
特許請求の範囲
【請求項1】
Pt(PF
3
)
4
(CAS番号19529-53-4)の合成方法であって:
白金前駆体Pt(Hal)
2
(式中、Hal=F、Cl、Br又はI)及び金属粉末の溶剤中の懸濁液を形成するステップ;
過剰量のPF
3
を、Pt(Hal)
2
及び前記金属粉末の前記懸濁液に導入するステップ;
反応条件下におけるPF
3
及びPt(Hal)
2
(式中、Hal=F、Cl、Br又はI;x=1、2)の反応で、前記溶剤中に可溶性反応中間体Pt(Hal)
2
(PF
3
)
x
を形成するステップ;及び
前記溶剤中におけるPt(Hal)
2
(PF
3
)
x
、前記金属粉末及び前記過剰量のPF
3
の反応によりPt(PF
3
)
4
を形成するステップ
を含む方法。
続きを表示(約 970 文字)
【請求項2】
前記可溶性反応中間体Pt(Hal)
2
(PF
3
)
x
(Hal=F、Cl、Br又はI;x=1、2)を合成するステップをさらに含み、前記合成するステップは:
前記白金前駆体Pt(Hal)
2
を前記溶剤に分散させて、Pt(Hal)
2
(式中、Hal=F、Cl、Br又はI)の懸濁液を形成するステップ;
PF
3
をPt(Hal)
2
の前記懸濁液に導入するステップ;並びに
前記可溶性反応中間体Pt(Hal)
2
(PF
3
)
x
(Hal=F、Cl、Br又はI;x=1、2)の前記溶剤中の溶液を、PF
3
及びPt(Hal)
2
の反応を介して形成するステップを含む、請求項1に記載の方法。
【請求項3】
前記白金前駆体Pt(Hal)
2
は無水である、請求項1に記載の方法。
【請求項4】
前記可溶性反応中間体Pt(Hal)
2
(PF
3
)
x
(Hal=F、Cl、Br又はI、x=1、2)は無水である、請求項1に記載の方法。
【請求項5】
前記反応条件は、およそ200℃未満の反応温度を含む、請求項1~4のいずれか一項に記載の方法。
【請求項6】
前記反応条件は、およそ300psig未満の反応圧力を含む、請求項1~4のいずれか一項に記載の方法。
【請求項7】
前記金属粉末は、銅、亜鉛又はアルミニウム粉末である、請求項1~4のいずれか一項に記載の方法。
【請求項8】
前記金属粉末は、200~900マイクロメートルの範囲の粒径を有する、請求項1~4のいずれか一項に記載の方法。
【請求項9】
前記溶剤は無水溶剤である、請求項1~4のいずれか一項に記載の方法。
【請求項10】
前記溶剤は、150℃超の沸点を有する、請求項1~4のいずれか一項に記載の方法。
(【請求項11】以降は省略されています)
発明の詳細な説明
【技術分野】
【0001】
関連出願の相互参照
本出願は、2021年12月9日に出願された米国特許出願第17/546,169号明細書に対する米国特許法119条(a)及び(b)の優先権による利益を主張するものであり、その内容のすべてが参照により本明細書において援用されている。
続きを表示(約 3,900 文字)
【0002】
本発明は、フィルム形成組成物の前駆体として用いられるPt(PF
3
)
4
の合成及び保管に関する。Pt(PF
3
)
4
は、Pt(Hal)
2
(Hal=F、Cl、Br又はI)又はPt(Hal)
2
(PF
3
)
x
(Hal=F、Cl、Br又はI;x=1、2)から選択される白金化合物、金属粉末及びPF
3
から、低圧で、反応中間体Pt(Hal)
2
(PF
3
)を溶解可能である無水溶剤中で合成され、ここで、Pt(Hal)
2
(PF
3
)
x
は、Pt(Hal)
2
及びPF
3
から形成され得る。次いで、得られたPt(PF
3
)
4
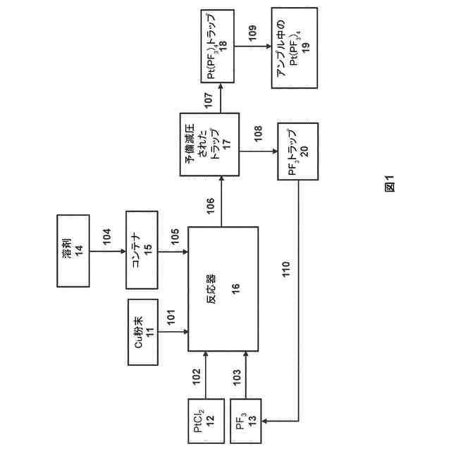
は、空気及び水分を含まない条件下に、室温で、ステンレス鋼などの金属で作製され、好ましくは、不動態化又は電解研磨された内表面を有する装置及びアンプル中で保管される。
【背景技術】
【0003】
化学蒸着(CVD)及び原子層堆積(ALD)法が、工業規模での触媒及び電池の作製において大きな関心を集めている。高スループットの工業プロセスに適した前駆体は、理想的には室温で高い蒸気圧を有し、最短時間及び前駆体の安定性が損なわれない温度で最大の適用量が確保されているべきである。白金は触媒として広く利用されており、現在では、支持体上に白金を含有する広く多様な材料が入手可能である。それにもかかわらず、適切な白金前駆体がないために、気相からの白金の蒸着を利用するプロセスはまれである。
【0004】
例えば、室温で固体であるが室温で揮発性である六フッ化白金(PtF
6
、CAS番号13693-05-5)は、酸化性が非常に強く、それに応じてエッチング特性も非常に強いために、蒸着前駆体として適用されることはまれである。蒸着プロセスについて広く引用される(MeCp)PtMe
3
(CAS番号94442-22-5)は69℃で1Torrの蒸気圧を有するが、50℃で徐々に分解し始め(Journal of Vacuum Science&Technology,B:Microelectronics and Nanometer Structures(1990),8(6),1826-9)、高スループットプロセスでのこの化合物の利用が妨げられてしまう。
【0005】
錯体Pt(PF
3
)
4
(CAS番号19529-53-4)は室温で揮発性の液体であると共に室温で36Torrの蒸気圧を有し(R.D.Sanner et al.,Report(1989),(UCRL-53937;Order No.DE90000902))、気相からのPt蒸着のためのほぼ理想的な潜在的前駆体である。しかしながら、この化合物は商業的な入手可能性が非常に限定されている。規模の拡張性の欠如に対する理由は、気相からのPt蒸着のためのほぼ理想的な潜在的前駆体であるPt(PF
3
)
4
の合成に付随する技術的困難性であり得る。しかしながら、この化合物は商業的な入手可能性が非常に限定されており(日本国内においては1社の供給業者のみ[Japan
Advanced Chemicalsからグラム単位)、この化学物質を使用する好適なALDプロセスはこれまで報告されていない。規模の拡張性の欠如に対する理由は、グラム単位でのPt(PF
3
)
4
の合成に付随する技術的困難性であり得、許容可能な収率及び現実的な運転条件で工業的に規模が拡張され得る態様においてさらに困難であり得
る。
【0006】
グラム単位であると共に70~80%の収率であったPt(PF
3
)
4
の元々の合成は、反応(1)により、100~150atm.PF
3
及び100℃で、「微細で及び酸化物を含まない銅粉末」を適用して行った(Angew.Chem.Int.Ed.1965,4,521)。この合成に係る製法は文献及び同一の方法を採用する後述の文献において一文のみで記載されており、反応及び器具に関するいかなる詳細もない。この反応は2種の固形分(PtCl
2
及びCu粉末)の混合物に対する高圧下でのPF
3
ガスの適用が必要であり、当業者である化学者にとっても規模の拡張はほとんど可能ではない。
PtCl
2
+2Cu+PF
3
(過剰量)→Pt(PF
3
)
4
+2CuCl (1)
【0007】
60~80℃及び開示されていない圧力下でのPtCl
2
とPF
3
との反応(2)では、Pt(PF
3
)
4
は1%の収率でのみ得られることに注目すべきである(Inorg.Nucl.Chem.Letters,Vol.4,pp.275-278,1968)。このような低い収率のために、このアプローチは工業用途に実装することが不可能となっている。
PtCl
2
+PF
3
(過剰量)→Pt(PF
3
)
4
+他の生成物 (2)
【0008】
開示されていない圧力下における同一の出発化合物からのフロー反応(3)では、ドナー-アクセプター付加物のみが生成された(Inorg.Nucl.Chem.Letters,Vol.4,pp.275-278,1968)。
3PtCl
2
+PF
3
(過剰量)→PtCl
2
(PF
3
)
2
+[PtCl
2
(PF
3
)]
2
(3)
【0009】
化合物PtCl
2
(PF
3
)
2
及び[PtCl
2
(PF
3
)]
2
を固体PtCl
2
及びPF
3
ガスから合成した(J.Chatt,A.A.Williams,J.Chem.Soc.[London]1951,3061)。Zeitschrift fur Anorganische und Allgemeine Chemie,Band 364,1969,p192-208の第200ページにおける一文に従って、固体化合物は開示されていない「より高い」圧力下でPF
3
と反応してPt(PF
3
)
4
が形成され得る。この「より高い圧力」は、Zeitschrift fur Anorganische und Allgemeine Chemie,Band 364,1969,p192-208において、Pt(PF
3
)
4
の合成について報告されている範囲であるため、40~150atmであると推測され得る。化合物PtCl
2
(PF
3
)
2
は極性溶剤であるCDCl
3
に可溶性であり、そのNMRがJ.Chem.Res.,Syn.,1981,2,38により報告された。J.Chem.Soc.[London]1951,3061によれば、ベンゼン中におけるPtCl
2
(PF
3
)
2
の溶解度は「低い」と報告されており、モル濃度は0.005~0.01Mであったところ、PtCl
2
(PF
3
)
2
の融点は118.3℃である。PtCl
2
(PF
3
)
2
のFTIRスペクトルがJournal of Chemical Research,Synopses(1981),(2),37に開示されている。
【0010】
或いは、Pt(PF
3
)
4
の調製が、入手が困難である回転式オートクレーブにおいてグラム単位で、反応(4)により、40atmのPF
3
雰囲気下で、95%の収率で達成されている(Zeitschrift fur Anorganische und Allgemeine Chemie.Band 364.1969,192-208)。PtCl
4
+4Cu+4PF
3
→Pt(PF
3
)
4
+4CuCl(4)
(【0011】以降は省略されています)
この特許をJ-PlatPat(特許庁公式サイト)で参照する
関連特許
個人
一酸化炭素の製造方法
20日前
株式会社タクマ
固体炭素化設備
1か月前
東洋アルミニウム株式会社
水素発生材料
6日前
東洋アルミニウム株式会社
水素発生材料
6日前
三菱重工業株式会社
加熱装置
1か月前
東ソー株式会社
CHA型ゼオライトの製造方法
1か月前
東ソー株式会社
CHA型ゼオライトの製造方法
1か月前
株式会社トクヤマ
酸性次亜塩素酸水の製造方法
28日前
日揮触媒化成株式会社
珪酸液およびその製造方法
1か月前
デンカ株式会社
窒化ケイ素粉末
1か月前
デンカ株式会社
窒化ケイ素粉末
1か月前
株式会社三井E&S
アンモニア改質装置
1か月前
住友化学株式会社
無機アルミニウム化合物粉末
27日前
デンカ株式会社
窒化ケイ素粉末の製造方法
1か月前
三菱ケミカル株式会社
槽の洗浄方法及びシリカ粒子の製造方法
1か月前
浅田化学工業株式会社
アルミナ水分散液の製造方法
19日前
デンカ株式会社
アルミナ粉末、無機粉末および樹脂組成物
14日前
大阪瓦斯株式会社
酸化物複合体
1か月前
デンカ株式会社
アルミナ粉末、無機粉末および樹脂組成物
14日前
デンカ株式会社
アルミナ粉末、無機粉末および樹脂組成物
14日前
デンカ株式会社
セラミックス粉末の製造方法
1か月前
JFEエンジニアリング株式会社
ドライアイス製造システム
28日前
アサヒプリテック株式会社
濃縮方法
1か月前
アサヒプリテック株式会社
濃縮方法
1か月前
トヨタ自動車株式会社
光触媒を用いた水素ガス製造装置
1か月前
トヨタ自動車株式会社
光触媒を用いた水素ガス製造装置
1か月前
大阪瓦斯株式会社
水素製造装置及びその運転方法
1か月前
トヨタ自動車株式会社
光触媒を用いた水素ガス製造装置
1か月前
デンカ株式会社
窒化ホウ素粉末の製造方法
1か月前
トヨタ自動車株式会社
光触媒を用いた水素ガス製造装置
1か月前
株式会社レゾナック
球状アルミナ粉末
1か月前
日揮触媒化成株式会社
粉体及びその製造方法、並びに樹脂組成物
1か月前
日本電気株式会社
繊維状カーボンナノホーン集合体の接着分離方法
1か月前
東ソー株式会社
アルカリ金属の除去方法
1か月前
マイクロ波化学株式会社
水素の製造方法
12日前
日揮触媒化成株式会社
シリカ微粒子分散液およびその製造方法
1か月前
続きを見る
他の特許を見る