TOP
|
特許
|
意匠
|
商標
特許ウォッチ
Twitter
他の特許を見る
10個以上の画像は省略されています。
公開番号
2025170028
公報種別
公開特許公報(A)
公開日
2025-11-14
出願番号
2025141907,2022517689
出願日
2025-08-28,2021-04-22
発明の名称
情報処理方法、情報処理プログラム及び情報処理装置
出願人
ソニーグループ株式会社
代理人
弁理士法人酒井国際特許事務所
主分類
G06Q
50/10 20120101AFI20251107BHJP(計算;計数)
要約
【課題】利用者によって創作された創作物データの品質を担保すること。
【解決手段】本願に係る情報処理方法は、コンピュータが、公開されている既存の1次創作物データと、前記1次創作物データの利用者によって創作された2次創作物データとに基づいて、前記1次創作物データと前記2次創作物データの類似性を判定する。
【選択図】図2
特許請求の範囲
【請求項1】
コンピュータが、
公開されている既存の1次創作物データと、前記1次創作物データの利用者によって創作された2次創作物データとに基づいて、前記1次創作物データと前記2次創作物データの類似性を判定する、
情報処理方法。
続きを表示(約 1,200 文字)
【請求項2】
前記1次創作物データに基づき学習された機械学習モデルに、前記2次創作物データが入力されることにより、前記1次創作物データと前記2次創作物データの類似性を判定する、
請求項1に記載の情報処理方法。
【請求項3】
前記1次創作物データの配信地域における社会通念上の習慣、慣例、倫理観、宗教観、歴史観、法律、または政令に関する情報である前記1次創作物データに基づいて、前記1次創作物データと前記2次創作物データとの類似性をさらに判定する、
請求項2に記載の情報処理方法。
【請求項4】
既存の映像作品に関する情報である前記1次創作物データに基づいて、前記既存の映像作品である前記1次創作物データと前記既存の映像作品に基づいて創作された前記2次創作物データとの類似性を判定する、
請求項2に記載の情報処理方法。
【請求項5】
前記既存の映像作品に関する情報として、前記既存の映像作品および前記既存の映像作品を含むシリーズ物の映像作品、前記既存の映像作品から派生した映像作品、または前記既存の映像作品の原作となった作品に関する情報である前記1次創作物データに基づいて、前記既存の映像作品である前記1次創作物データと前記既存の映像作品に基づいて創作された前記2次創作物データとの類似性を判定する、
請求項4に記載の情報処理方法。
【請求項6】
既存のキャラクターに関する情報である前記1次創作物データに基づいて、前記既存のキャラクターである前記1次創作物データと前記既存のキャラクターに基づいて創作された前記2次創作物データとの類似性を判定する、
請求項2に記載の情報処理方法。
【請求項7】
前記既存のキャラクターに関する情報として、前記既存のキャラクターのプロフィールまたは前記既存のキャラクターと他の既存のキャラクターとの関係性に関する情報である前記1次創作物データに基づいて、前記既存のキャラクターである前記1次創作物データと前記既存のキャラクターに基づいて創作された前記2次創作物データとの類似性を判定する、
請求項6に記載の情報処理方法。
【請求項8】
映像制作の各工程で創作された前記2次創作物データそれぞれと前記1次創作物データとの類似性を判定する、
請求項2に記載の情報処理方法。
【請求項9】
前記映像制作の所定の工程で創作された前記2次創作物データと前記所定の工程よりも前の工程で創作された創作物データである前記1次創作物データとの類似性を判定する、
請求項8に記載の情報処理方法。
【請求項10】
前記利用者によって創作されたコンテンツまたはアセットである前記2次創作物データと前記1次創作物データとの類似性を判定する、
請求項2に記載の情報処理方法。
(【請求項11】以降は省略されています)
発明の詳細な説明
【技術分野】
【0001】
本発明は、情報処理方法、情報処理プログラム及び情報処理装置に関する。
続きを表示(約 1,700 文字)
【背景技術】
【0002】
近年、3次元画像を作成するCG(コンピュータグラフィックス)ソフトが一般的に普及している。このようなCGソフトを利用することで、従来と比べて、経験が十分でないアマチュアクリエイター等であっても、キャラクターなどの画像データを容易に創作することができるようになった。
【0003】
また近年、クリエイターが創作した創作物データを世に送り出す機会を与えるとともに、創作物データを所望する顧客に販売する技術が知られている。例えば、クリエイターによって創作された創作物データが編集され、商品データが生成され、生成された商品データを顧客に提示する技術が知られている。
【先行技術文献】
【特許文献】
【0004】
特開2002-169970号公報
【発明の概要】
【発明が解決しようとする課題】
【0005】
しかしながら、上記の従来技術では、利用者によって創作された創作物データの品質を担保することができるとは限らない。例えば、上記の従来技術では、クリエイターによって創作された創作物データが編集され、商品データが生成され、生成された商品データを顧客に提示するにすぎず、利用者によって創作された創作物データの品質を担保することができるとは限らない。
【0006】
そこで、本開示では、利用者によって創作された創作物データの品質を担保することができる情報処理方法、情報処理プログラム及び情報処理装置を提案する。
【0007】
上記の課題を解決するために、本開示に係る一形態の情報処理方法は、コンピュータが、公開されている既存の1次創作物データと、前記1次創作物データの利用者によって創作された2次創作物データとに基づいて、前記1次創作物データと前記2次創作物データの類似性を判定する。
【図面の簡単な説明】
【0008】
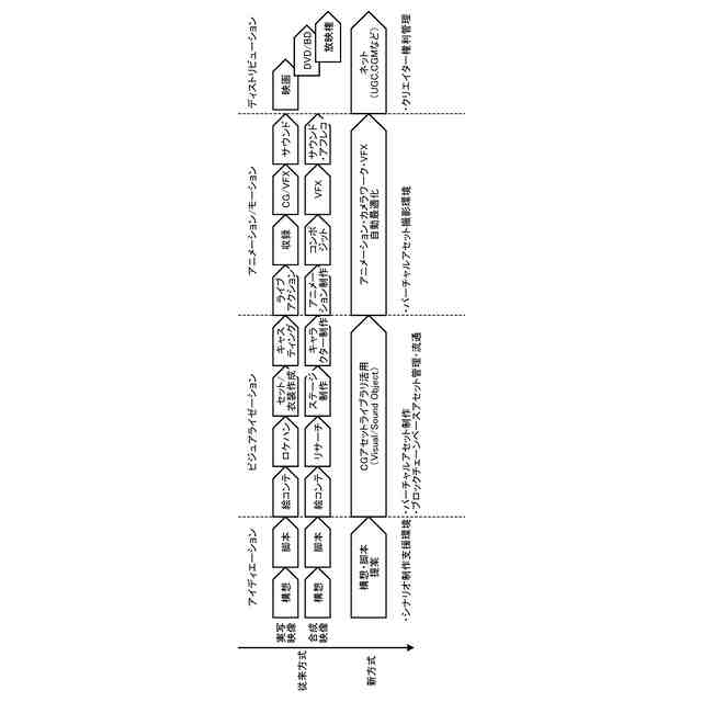
本開示の実施形態に係る映像コンテンツの制作工程について説明するための図である。
同実施形態に係る映像制作プラットフォームの一例を示す図である。
同実施形態に係る情報処理システムの構成例を示す図である。
同実施形態に係る情報処理装置の構成を示すブロック図である。
同実施形態に係る情報処理の一例を示すフローチャートである。
同実施形態に係る情報処理の一例を示すフローチャートである。
映像コンテンツの種類が多様化する例について説明するための図である。
同実施形態に係るアセットの例について説明するための図である。
リアルタイムレンダリングによる映像コンテンツの個人化について説明するための図である。
同実施形態に係る映像制作プラットフォームを利用して映像コンテンツの派生版が生成される仕組みについて説明するための図である。
同実施形態に係る映像制作プラットフォームに関するステークホルダーとマネタイズの仕組みを示す図である。
同実施形態に係る映像制作プラットフォームにおける創造物データの管理方法を示す図である。
同実施形態に係る映像制作プラットフォームによってもたらされる効果を示す図である。
情報処理装置の機能を実現するコンピュータの一例を示すハードウェア構成図である。
【発明を実施するための形態】
【0009】
以下に、本開示の実施形態について図面に基づいて詳細に説明する。なお、以下の各実施形態において、同一の部位には同一の符号を付することにより重複する説明を省略する。
【0010】
以下に示す項目順序に従って本開示を説明する。
1.はじめに
2.実施形態
2-1.映像コンテンツの制作工程
2-2.映像制作プラットフォームの構成例
2-3.情報処理システムの構成例
2-4.情報処理装置の構成例
2-5.情報処理の一例
2-6.その他
3.本開示に係る効果
4.ハードウェア構成
(【0011】以降は省略されています)
この特許をJ-PlatPat(特許庁公式サイト)で参照する
関連特許
ソニーグループ株式会社
表示装置
18日前
ソニーグループ株式会社
情報処理装置および制御方法
3日前
ソニーグループ株式会社
情報処理方法、情報処理プログラム及び情報処理装置
3日前
ソニーグループ株式会社
情報処理装置、情報処理方法、情報処理システム及びプログラム
12日前
ソニーグループ株式会社
第1の無線通信装置、第2の無線通信装置、及び無線通信システム
3日前
個人
詐欺保険
1か月前
個人
縁伊達ポイン
1か月前
個人
RFタグシート
21日前
個人
職業自動販売機
3日前
個人
5掛けポイント
10日前
個人
QRコードの彩色
1か月前
個人
地球保全システム
1か月前
個人
ペルソナ認証方式
18日前
個人
情報処理装置
13日前
個人
自動調理装置
20日前
個人
冷凍食品輸出支援構造
2か月前
個人
為替ポイント伊達夢貯
2か月前
個人
表変換編集支援システム
2か月前
個人
残土処理システム
1か月前
個人
農作物用途分配システム
1か月前
個人
サービス情報提供システム
5日前
個人
タッチパネル操作指代替具
27日前
個人
知的財産出願支援システム
1か月前
個人
インターネットの利用構造
17日前
個人
知財出願支援AIシステム
2か月前
個人
携帯端末障害問合せシステム
26日前
個人
スケジュール調整プログラム
26日前
個人
パスワード管理支援システム
2か月前
個人
行動時間管理システム
2か月前
個人
AIによる情報の売買の仲介
2か月前
日本精機株式会社
施工管理システム
2か月前
個人
パスポートレス入出国システム
2か月前
株式会社アジラ
進入判定装置
2か月前
個人
エリアガイドナビAIシステム
18日前
株式会社キーエンス
受発注システム
1か月前
個人
システム及びプログラム
2か月前
続きを見る
他の特許を見る