TOP
|
特許
|
意匠
|
商標
特許ウォッチ
Twitter
他の特許を見る
10個以上の画像は省略されています。
公開番号
2025170027
公報種別
公開特許公報(A)
公開日
2025-11-14
出願番号
2025141885,2023502125
出願日
2025-08-28,2021-12-28
発明の名称
第1の無線通信装置、第2の無線通信装置、及び無線通信システム
出願人
ソニーグループ株式会社
代理人
個人
,
個人
,
個人
,
個人
,
弁理士法人大同特許事務所
主分類
H04W
72/20 20230101AFI20251107BHJP(電気通信技術)
要約
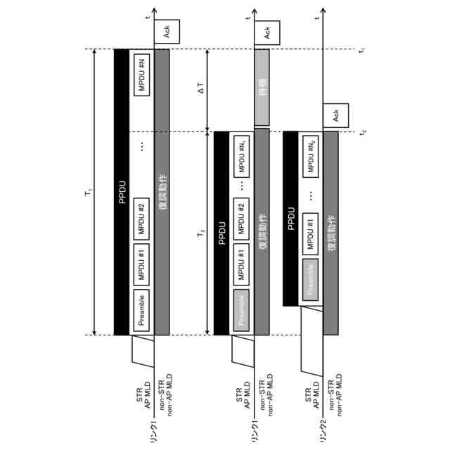
【課題】複数のリンクを用いて伝送効率を向上する通信装置を提供する。
【解決手段】複数のリンクを用いて無線通信を行う通信装置は、第1のリンクを用いた伝送期間中に、さらに第2のリンクを用いて伝送を行うことによる前記第1のリンクにおける伝送期間の変更分に関する情報を通知する。通信装置は、前記第1のリンクで、前記第2のリンクにおいて送信権の獲得を試みているか否かを示す情報を通知し、前記第2のリンクで、前記第1のリンクで伝送するフレーム中に記載された少なくとも伝送期間に関する情報が変更したか否かを示す情報と、前記第1のリンクにおける伝送期間の変更分に関する前記情報を通知する。
【選択図】 図8
特許請求の範囲
【請求項1】
複数のリンクを用いて無線通信を行う通信装置であって、
第1のリンクを用いた伝送期間中に、さらに第2のリンクを用いて伝送を行うことによる前記第1のリンクにおける伝送期間の変更分に関する情報を通知する、
通信装置。
続きを表示(約 990 文字)
【請求項2】
前記第2のリンクを使って、伝送相手に前記情報を通知する、
請求項1に記載の通信装置。
【請求項3】
前記第2のリンクを使って伝送するデータフレームを構成する伝送単位毎に前記情報を記載する、
請求項1に記載の通信装置。
【請求項4】
前記第1のリンクを使って伝送するデータフレームを構成する伝送単位毎に、前記第2のリンクにおいて送信権の獲得を試みているか否かを示す情報を記載する、
請求項1に記載の通信装置。
【請求項5】
前記第2のリンクを使って伝送するデータフレームを構成する伝送単位毎に、前記第1のリンクで伝送するフレーム中に記載された少なくとも伝送期間に関する情報が変更したか否かを示す情報と、前記第1のリンクにおける伝送期間の変更分に関する前記情報を記載する、
請求項1に記載の通信装置。
【請求項6】
前記第1のリンクにおける元の伝送期間内で、前記第1のリンク及び前記第2のリンクのうち少なくとも一方を用いた別の伝送を実施する、
請求項1に記載の通信装置。
【請求項7】
前記複数のリンクを用いた通信相手に対して、前記第1のリンクにおける元の伝送期間内で前記第1のリンク及び前記第2のリンクのうち少なくとも一方を用いた伝送を許可する、
請求項6に記載の通信装置。
【請求項8】
他の端末に対して、前記第1のリンクにおける元の伝送期間内で前記第2のリンクの開放を通知する、
請求項6に記載の通信装置。
【請求項9】
前記通知は、前記第2のリンクで送信を禁止する端末を識別する情報及び送信禁止期間を示す情報を含む、
請求項8に記載の通信装置。
【請求項10】
複数のリンクを用いて無線通信を行う通信方法であって、
第1のリンクで伝送を開始するステップと、
前記第1のリンクを用いた伝送期間中に、さらに第2のリンクを用いて伝送を開始するステップと、
前記第2のリンクを用いて伝送を行うことによる前記第1のリンクにおける伝送期間の変更分に関する情報を通知するステップと、
を有する通信方法。
(【請求項11】以降は省略されています)
発明の詳細な説明
【技術分野】
【0001】
本明細書で開示する技術(以下、「本開示」とする)は、無線通信を行う通信装置及び通信方法に関する。
続きを表示(約 1,500 文字)
【背景技術】
【0002】
無線LAN(Local Area Network)では、アンライセンス帯において、1つのベーシックサービスセット(BSS)内でアクセスポイント(AP又はBS)とユーザ端末(STA又はUE(User Equipment))が自律的にBSS内の送信権を獲得して通信を行っている。
【0003】
近年では、AR(Augmented Reality)やVR(Virtual Reality)、4K/8Kなどの高精細映像伝送では扱うデータ量が非常に大きく、無線伝送においてさらなる伝送容量が必要なため、伝送に用いる周波数帯域幅の拡大が求められている。
【0004】
ところが、アンライセンス帯の周波数帯域には限りがあり、広い周波数帯域幅を確保することは困難であるという問題がある。このため、IEEE 802.11 TG(Task Group) beでは、5GHz帯、6GHz帯といった複数の周波数帯を同時に用いることで、実質的により広い周波数帯域幅による伝送方法が検討されている。
【先行技術文献】
【非特許文献】
【0005】
Yongho Seok,et al.,"Proposed Draft Text for MLO Multi-Link Channel Access: PPDU End Time Alignment," IEEE802.11-20/1271r8,Sep.9,2020
Zhou Lan,et al., "MLO a-synchronize and synchronize operation discussions," IEEE 802.11-20/291r1 Jan.20,2020
【発明の概要】
【発明が解決しようとする課題】
【0006】
本開示の目的は、複数の周波数帯を用いて無線通信を行う通信装置及び通信方法を提供することにある。
【課題を解決するための手段】
【0007】
本開示は、上記課題を参酌してなされたものであり、その第1の側面は、複数のリンクを用いて無線通信を行う通信装置であって、
第1のリンクを用いた伝送期間中に、さらに第2のリンクを用いて伝送を行うことによる前記第1のリンクにおける伝送期間の変更分に関する情報を通知する、
通信装置である。
【0008】
第1の側面に係る通信装置は、前記第2のリンクを使って、伝送相手に前記情報を通知する。具体的には、第1の側面に係る通信装置は、前記第1のリンクを使って伝送するデータフレームを構成する伝送単位毎に、前記第2のリンクにおいて送信権の獲得を試みているか否かを示す情報を記載する一方、前記第2のリンクを使って伝送するデータフレームを構成する伝送単位毎に、前記第1のリンクで伝送するフレーム中に記載された少なくとも伝送期間に関する情報が変更したか否かを示す情報と、前記第1のリンクにおける伝送期間の変更分に関する前記情報を記載する。
【0009】
第1の側面に係る通信装置は、前記第1のリンクにおける元の伝送期間内で、前記第1のリンク及び前記第2のリンクのうち少なくとも一方を用いた別の伝送を実施することができる。
【0010】
あるいは、第1の側面に係る通信装置は、他の端末に対して、前記第1のリンクにおける元の伝送期間内で前記第2のリンクの開放を通知することができる。
(【0011】以降は省略されています)
この特許をJ-PlatPat(特許庁公式サイト)で参照する
関連特許
個人
イヤーピース
10日前
個人
イヤーマフ
24日前
個人
監視カメラシステム
1か月前
キーコム株式会社
光伝送線路
1か月前
個人
スイッチシステム
18日前
WHISMR合同会社
収音装置
2か月前
サクサ株式会社
中継装置
1か月前
サクサ株式会社
中継装置
1か月前
個人
スキャン式車載用撮像装置
1か月前
アイホン株式会社
電気機器
2か月前
キヤノン株式会社
撮像装置
2か月前
株式会社リコー
画像形成装置
2か月前
個人
映像表示装置、及びARグラス
19日前
株式会社リコー
画像形成装置
2か月前
サクサ株式会社
無線システム
1か月前
キヤノン電子株式会社
画像読取装置
10日前
株式会社リコー
画像形成装置
26日前
キヤノン電子株式会社
画像読取装置
2か月前
キヤノン電子株式会社
画像読取装置
18日前
キヤノン電子株式会社
画像読取装置
1か月前
サクサ株式会社
無線通信装置
1か月前
サクサ株式会社
無線通信装置
1か月前
株式会社リコー
画像形成装置
3か月前
個人
ワイヤレスイヤホン対応耳掛け
1か月前
ヤマハ株式会社
放音制御装置
18日前
日本電気株式会社
海底分岐装置
1か月前
ブラザー工業株式会社
読取装置
3か月前
キヤノン株式会社
画像処理装置
13日前
キヤノン株式会社
撮像システム
2か月前
キヤノン電子株式会社
シート搬送装置
10日前
個人
発信機及び発信方法
1か月前
株式会社ニコン
撮像装置
3か月前
有限会社フィデリックス
マイクロフォン
1か月前
株式会社NTTドコモ
端末
1か月前
キヤノン電子株式会社
画像処理システム
1か月前
株式会社NTTドコモ
端末
1か月前
続きを見る
他の特許を見る