TOP
|
特許
|
意匠
|
商標
特許ウォッチ
Twitter
他の特許を見る
公開番号
2025169959
公報種別
公開特許公報(A)
公開日
2025-11-14
出願番号
2025138174,2023571723
出願日
2025-08-21,2022-05-20
発明の名称
着用可能な薬物送達機器のための小型容積式ポンプ
出願人
インスレット コーポレイション
代理人
個人
,
個人
,
個人
,
個人
,
個人
主分類
A61M
5/142 20060101AFI20251107BHJP(医学または獣医学;衛生学)
要約
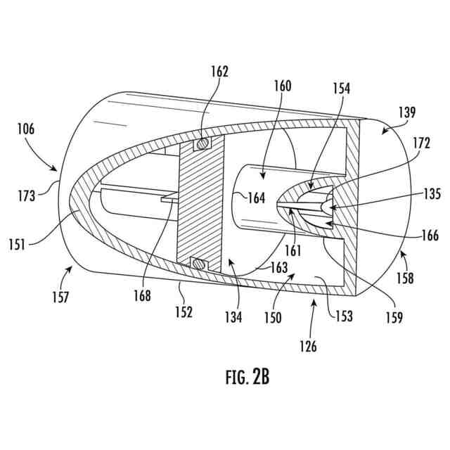
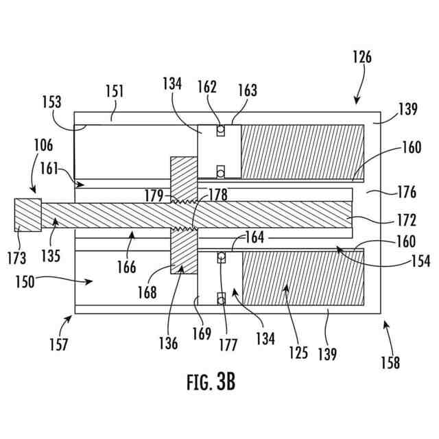
【課題】リザーバから液体薬品を正確に押し出して同時に薬物送達機器全体サイズを減少するための単純化されたシステムの提供。
【解決手段】 本開示の実施形態は、ポンプ機器のための技法、プロセス、機器又はシステムに関する。1つのアプローチにおいて、着用可能な薬物送達機器は、液体薬品を貯蔵するように構成されたリザーバを含み、リザーバは、内部チャンバを画定する外壁を含むハウジングと、シール部材と、ハウジングを貫通するスリットとを含み、シール部材は、スリットを密封するように構成される。着用可能な薬物送達機器は、更に、リザーバから液体薬品を押し出すためにリザーバに結合された駆動機構を含む送達ポンプ機器を含み、駆動機構は、ハウジングの内部チャンバ内に配置されたピストンヘッドと、ドライブナットに結合されたリードスクリューとを含み、ドライブナットは、ピストンヘッドに隣接するブレードを備え、ブレードはハウジングのスリットを貫通して位置付け可能である。
【選択図】図2A
特許請求の範囲
【請求項1】
着用可能な薬物送達機器であって、
液体薬品を貯蔵するように構成されたリザーバであって、前記リザーバが、
内部チャンバを画定する外壁を含むハウジングと、
シール部材と、
前記ハウジングの少なくとも一部分を貫通するスリットであって、前記シール部材が前記スリットを密封するように構成される、スリットと、
を備える、リザーバと、
前記リザーバから前記液体薬品を押し出すために前記リザーバに結合された駆動機構を含む送達ポンプ機器であって、前記駆動機構が、
前記ハウジングの前記内部チャンバ内に配置されたピストンヘッドと、
ドライブナットに結合されたリードスクリューであって、前記ドライブナットが前記ピストンヘッドに隣接するブレードを備え、かつ前記ブレードが前記ハウジングの前記スリットを貫通して位置付け可能である、リードスクリューと、
を備える、送達ポンプ機器と、
を備える、着用可能な薬物送達機器。
続きを表示(約 890 文字)
【請求項2】
前記リザーバの前記ハウジングが前記内部チャンバ内にコアシャフトを備え、前記シール部材が前記コアシャフトの外面に沿って形成され、かつ前記駆動機構の前記リードスクリューが前記コアシャフトの内部内で延びる、請求項1に記載の着用可能な薬物送達機器。
【請求項3】
前記スリットが前記コアシャフトを貫通して形成される、請求項2に記載の着用可能な薬物送達機器。
【請求項4】
前記ピストンヘッドが外側面の周りに延びる第1シールリングと内側面の周りに延びる第2シールリングとを含み、前記第2シールリングが、前記コアシャフトの前記外面に沿って形成された前記シール部材と物理的に直接に接触する、請求項2に記載の着用可能な薬物送達機器。
【請求項5】
前記ドライブナットの前記ブレードが、前記リードスクリューに対して直角に又はこれから半径方向に外向きに延び、かつ前記ドライブナットの前記ブレードが、前記ピストンヘッドの外面と物理的に直接に接触する、請求項1に記載の着用可能な薬物送達機器。
【請求項6】
前記シール部材が、前記ハウジングの前記外壁の内面に沿って形成される、請求項1に記載の着用可能な薬物送達機器。
【請求項7】
前記リードスクリューが、前記リザーバの前記ハウジングの外部に位置付けられる、請求項1に記載の着用可能な薬物送達機器。
【請求項8】
前記スリットが、前記ハウジングの前記外壁を貫通して形成される、請求項1に記載の着用可能な薬物送達機器。
【請求項9】
前記シール部材がポリエチレン膜である、請求項1に記載の着用可能な薬物送達機器。
【請求項10】
前記リードスクリューが、前記ドライブナットの対応する雌型ネジ部に係合する雄型ネジ部を有し、前記リードスクリューの回転が前記リードスクリューに沿って軸方向に前記ドライブナットを移動させる、請求項1に記載の着用可能な薬物送達機器。
(【請求項11】以降は省略されています)
発明の詳細な説明
【技術分野】
【0001】
関連出願の相互参照
本明細書は,2021年5月21日に提出された米国仮特許出願第63/191436号(その内容は参照によってその全体が本明細書に援用される)の利益を主張する。
続きを表示(約 2,100 文字)
【0002】
開示する実施形態は、概略的に薬剤送達に関連する。特に、開示する実施形態は、空間効率の良い方法で流体薬剤を送達するための技法、プロセス、システム及び供給機器に関する。
【背景技術】
【0003】
多くの着用可能な薬物送達機器は、液体薬品を貯蔵するためのリザーバを含む。駆動機構を含むポンプ機器は、貯蔵された液体薬品をユーザーへ送達するためにリザーバから押し出すために作動される。いくつかの従来の容積式ポンプ機器は、駆動機構のプランジャを使用してリザーバから液体薬品を押し出す。したがって、駆動機構は、おおよそリザーバの長さに等しい長さを持つ。リザーバが充填されたとき、駆動機構は、プランジャが流体を押し出すためにリザーバの長さにわたって動けるようにするために、薬物送達機器の長さが著しく大きく例えばリザーバのほぼ2倍の長さであることを必要とする。充填されたリザーバ又は予充填カートリッジ及び対応する駆動機構コンポーネントを収めるために薬物送達機器のサイズを増大することは、かさ高な機器になり、これを着用するユーザーにとって不快となる。
【発明の概要】
【発明が解決しようとする課題】
【0004】
したがって、リザーバから液体薬品を正確に押し出して同時に薬物送達機器全体サイズを減少するための単純化されたシステムが必要とされる。
【課題を解決するための手段】
【0005】
本概要は、以下の「発明を実施するための形態」において更に説明する概念の抜粋を単純な形式で紹介するためのものである。本概要は、特許請求内容の主要な特徴又は基本的特徴を同一のものとみなすことを意図せず、又、特許請求内容の範囲を決定する際の補助として意図されるものでもない。
【0006】
いくつかのアプローチにおいて、着用可能な薬物送達機器は、液体薬品を貯蔵するように構成されたリザーバを含むことができ、リザーバは、内部チャンバを画定する外壁を含むハウジングと、シール部材と、ハウジングを貫通するスリットと、を含み、シール部材はスリットを密封するように構成される。着用可能な薬物送達機器は、更に、リザーバから液体薬品を押し出すためにリザーバに結合された駆動機構を含む送達ポンプ機器を含むことができ、駆動機構は、ハウジングの内部チャンバ内に配置されたピストンヘッドと、ドライブナットに結合されたリードスクリューと、を含み、ドライブナットは、ピストンヘッドに隣接するブレードを備え、かつ、ブレードは、ハウジングのスリットを貫通して位置付けできる。
【0007】
いくつかのアプローチにおいて、着用可能な薬物送達機器は、液体薬品を貯蔵するように構成されたリザーバを含むことができ、リザーバは、内部チャンバを画定する外壁を持つハウジングと、シール部材と、ハウジングを通過するスリットと、を含み、シール部材はスリットを密封するように構成される。着用可能な薬物送達機器は、更に、リザーバから液体薬品を押し出すためにリザーバに結合された駆動機構を含む送達ポンプ機器を含んでもよい。駆動機構は、ハウジングの内部チャンバ内に配置されたピストンヘッドと、ドライブナットに結合されたリードスクリューとを含むことができ、ドライブナットは、ピストンヘッドに隣接するブレードを備え、ブレードはハウジングのスリットを貫通して位置付け可能であり、リードスクリューは、ドライブナットの対応する雌型ネジ部に係合する雄型ネジ部を持ち、リードスクリューの回転は、ブレードをリードスクリューに沿って軸方向に移動させる。
【0008】
いくつかのアプローチにおいて、方法は、液体薬品を貯蔵するように構成されたリザーバを用意することを含むことができ、リザーバは、内部チャンバを画定する外壁を含むハウジングと、シール部材と、ハウジングを貫通するスリットとを含み、シール部材は、スリットを密封するように構成される。方法は、更に、送達ポンプ機器の駆動機構をリザーバを結合することを含み、駆動機構は、ハウジングの内部チャンバ内に配置されたピストンヘッドと、ドライブナットに結合されたリードスクリューと、を含み、ドライブナットは、ピストンヘッドに隣接するブレードを備え、ブレードはハウジングのスリットを貫通して位置付けられる。方法は、更に、リザーバから液体薬品を押し出すために、第1位置と第2位置との間でリードスクリューに沿って軸方向にドライブナットを移動させるためにリードスクリューを回転させることを含んでもよい。
【0009】
図面において、同様の参照符号は、概略的に異なる図を通して全体に同じ部品を指す。下記の説明において、本開示の様々な実施形態について、下記の図面を参照して説明する。
【図面の簡単な説明】
【0010】
図1は、本開示の実施形態に従った薬物送達システムの概略図である。
(【0011】以降は省略されています)
この特許をJ-PlatPat(特許庁公式サイト)で参照する
関連特許
個人
貼付剤
24日前
個人
簡易担架
6日前
個人
健康器具
9か月前
個人
短下肢装具
4か月前
個人
腋臭防止剤
6日前
個人
足踏み器具
13日前
個人
鼾防止用具
9か月前
個人
排尿補助器具
1か月前
個人
導電香
9か月前
個人
脈波測定方法
9か月前
個人
脈波測定方法
9か月前
個人
マッサージ機
9か月前
個人
洗井間専家。
7か月前
個人
白内障治療法
8か月前
個人
嚥下鍛錬装置
4か月前
個人
前腕誘導装置
4か月前
個人
汚れ防止シート
1か月前
個人
バッグ式オムツ
5か月前
個人
ホバーアイロン
7か月前
個人
アイマスク装置
2か月前
個人
矯正椅子
5か月前
個人
胸骨圧迫補助具
2か月前
個人
歯の修復用材料
5か月前
個人
腰ベルト
27日前
個人
ウォート指圧法
1か月前
個人
車椅子持ち上げ器
8か月前
個人
排尿排便補助器具
8日前
個人
湿布連続貼り機。
3か月前
個人
陣痛緩和具
4か月前
個人
哺乳瓶冷まし容器
3か月前
個人
歯の保護用シール
5か月前
個人
口内洗浄具
9か月前
個人
美容セット
15日前
個人
シャンプー
7か月前
三生医薬株式会社
錠剤
8か月前
株式会社大野
骨壷
4か月前
続きを見る
他の特許を見る