TOP
|
特許
|
意匠
|
商標
特許ウォッチ
Twitter
他の特許を見る
公開番号
2025169022
公報種別
公開特許公報(A)
公開日
2025-11-12
出願番号
2024073971
出願日
2024-04-30
発明の名称
2次元フォトニック結晶レーザ用パルス電源
出願人
国立大学法人京都大学
代理人
弁理士法人京都国際特許事務所
主分類
H01S
5/042 20060101AFI20251105BHJP(基本的電気素子)
要約
【課題】2次元フォトニック結晶レーザにパルス状の大電流を供給することができるパルス電源を提供する。
【解決手段】2次元フォトニック結晶レーザ用パルス電源(10)は、2次元フォトニック結晶レーザ(90)にパルス状の電流を供給する電源であって、連続電流源(11)と、外部から入力及び遮断される制御用電気信号によって電流の導通状態と非導通状態を切り替えるスイッチング素子(12-k)が複数個並列に接続されたスイッチング素子群(12)と、前記連続電流源(11)と前記スイッチング素子群(12)と前記2次元フォトニック結晶レーザ(90)を直列に接続する接続回路(13)と、前記複数個のスイッチング素子(12-k)のそれぞれに同時に前記制御用電気信号を入力及び遮断する制御用電気信号源(14)とを備える。
【選択図】図1
特許請求の範囲
【請求項1】
2次元フォトニック結晶レーザにパルス状の電流を供給する電源であって、
a) 連続電流源と、
b) 外部から入力及び遮断される制御用電気信号によって電流の導通状態と非導通状態を切り替えるスイッチング素子が複数個並列に接続されたスイッチング素子群と、
c) 前記連続電流源と前記スイッチング素子群と前記2次元フォトニック結晶レーザを直列に接続する接続回路と、
d) 前記複数個のスイッチング素子のそれぞれに同時に前記制御用電気信号を入力及び遮断する制御用電気信号源と
を備えることを特徴とする2次元フォトニック結晶レーザ用パルス電源。
続きを表示(約 600 文字)
【請求項2】
前記スイッチング素子がGaN-FETであることを特徴とする請求項1に記載の2次元フォトニック結晶レーザ用パルス電源。
【請求項3】
さらに、
導電体製の板材であって前記連続電流源に直接又は前記スイッチング素子群を介して接続される導電性板材と、
該導電性板材の表面を覆う絶縁体製の層状材であって、該層状材を貫く孔である電気接続用空孔が設けられている被覆材と、
前記電気接続用空孔を埋めるように設けられた導電体製の接続部材と
を有するレーザ設置用基板を備えることを特徴とする請求項1又は2に記載の2次元フォトニック結晶レーザ用パルス電源。
【請求項4】
前記レーザ設置用基板を複数備えることを特徴とする請求項3に記載の2次元フォトニック結晶レーザ用パルス電源。
【請求項5】
前記レーザ設置用基板の両表面に前記スイッチング素子を備えることを特徴とする請求項3に記載の2次元フォトニック結晶レーザ用パルス電源。
【請求項6】
さらに、前記複数個のスイッチング素子の各々に対して1個ずつ、前記被覆材の表面であって前記電気接続用空孔の周りに等間隔で配置され、対応するスイッチング素子と電気的に接続されている接続電極を備えることを特徴とする請求項3に記載の2次元フォトニック結晶レーザ用パルス電源。
発明の詳細な説明
【技術分野】
【0001】
本発明は、2次元フォトニック結晶レーザをパルスレーザ発振させるためのパルス電源に関する。
続きを表示(約 1,700 文字)
【背景技術】
【0002】
従来より、被加工物にレーザ光を照射することによって該被加工物に切削・切断等の加工をすることが行われている。その際、レーザ光を時間的に連続的に照射するよりも、パルス状のレーザ光(パルスレーザ光)を繰り返し照射した方が、加工時間の全体で投入する電力を抑えつつ瞬間的には高い出力のレーザ光を照射することができるため、被加工物が発熱で損傷することを抑えつつ高精度に加工することができる。
【0003】
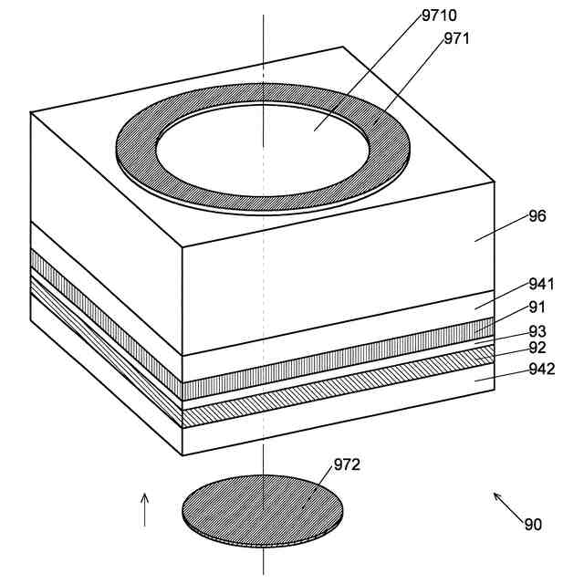
特許文献1には、パルスレーザ光を繰り返し出射することができる2次元フォトニック結晶レーザが記載されている。この2次元フォトニック結晶レーザは、活性層と、2次元フォトニック結晶層と、活性層に電流を注入する電極とを有する。2次元フォトニック結晶層は、板状の母材内に母材とは屈折率が異なる領域(典型的には空孔)が所定の周期で配置された構造を有している。この2次元フォトニック結晶レーザでは、電源から電極を通して活性層に電流を供給することにより、該活性層において所定の周波数帯内の光が生成される。この周波数帯内の光のうち、前記周期により定まる周波数の光が2次元フォトニック結晶層内で共振して増幅され、出射する。その際、電源から供給される電流をオン・オフするスイッチングを繰り返すことにより、パルスレーザ光が繰り返し出射する。
【先行技術文献】
【特許文献】
【0004】
特開2018-144664号公報
【発明の概要】
【発明が解決しようとする課題】
【0005】
2次元フォトニック結晶レーザ(の活性層)に電流を供給する電源には、パルスジェネレータと呼ばれるものが用いられている。パルス幅が数nsec(ナノ秒)~数百nsecである場合において、このパルスジェネレータから供給することができる電流の大きさは最大で数十A程度である。しかし、瞬間的な出力が数百W~千Wという高出力のパルスレーザ光を得るために、例えば上記と同程度のパルス幅で瞬間的に100A以上の大電流を供給することができるパルス電流源が求められている。
【0006】
本発明が解決しようとする課題は、2次元フォトニック結晶レーザにパルス状の大電流を供給することができるパルス電源を提供することである。
【課題を解決するための手段】
【0007】
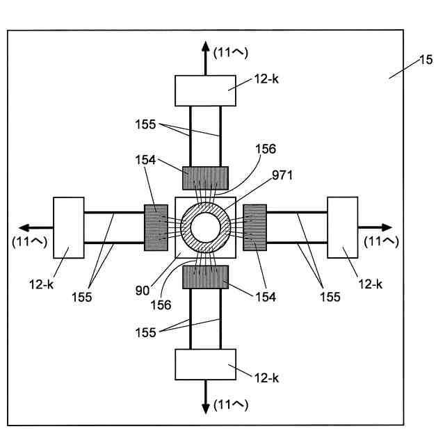
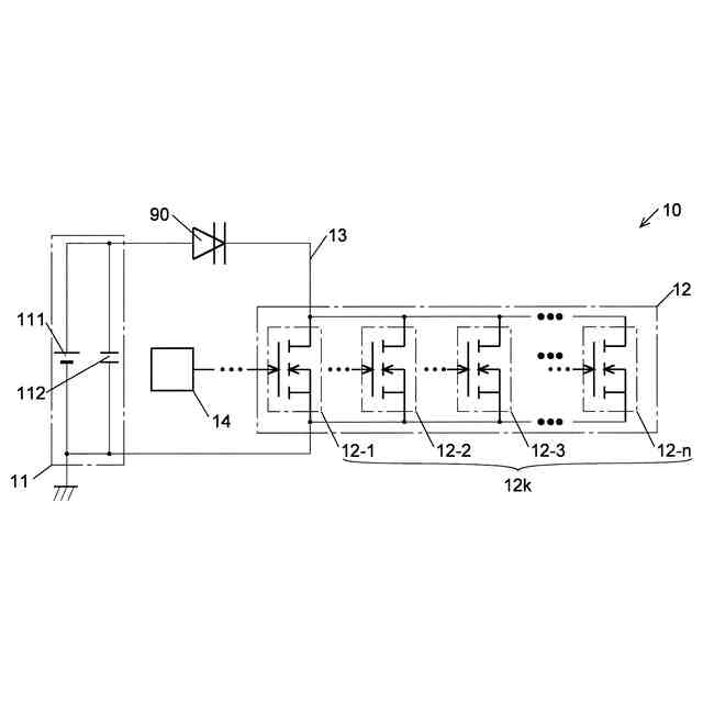
上記課題を解決するために成された本発明に係る2次元フォトニック結晶レーザ用パルス電源は、2次元フォトニック結晶レーザにパルス状の電流を供給する電源であって、
a) 連続電流源と、
b) 外部から入力及び遮断される制御用電気信号によって電流の導通状態と非導通状態を切り替えるスイッチング素子が複数個並列に接続されたスイッチング素子群と、
c) 前記連続電流源と前記スイッチング素子群と前記2次元フォトニック結晶レーザを直列に接続する接続回路と、
d) 前記複数個のスイッチング素子のそれぞれに同時に前記制御用電気信号を入力及び遮断する制御用電気信号源と
を備えることを特徴とする。
【0008】
前記スイッチング素子には、例えば電界効果トランジスタ(Field Effect Transistor:FET)やバイポーラトランジスタ等を用いることができる。
【0009】
前記接続回路において連続電流源とスイッチング素子群と2次元フォトニック結晶レーザが並ぶ順番は、この記載順には限定されず、任意である。
【0010】
本発明に係る2次元フォトニック結晶レーザ用パルス電源(以下、「パルス電源」と略記する)における連続電流源は、当該パルス電源で生成するパルス電流のパルス幅よりも長い時間に亘って電流を出力することが可能な電源を言う。連続電流源は、直流電源のように文字通り連続的に電流を出力するものであってもよいし、蓄積した電荷をパルス電流のパルス幅よりも長い時間に亘って放出することが可能なコンデンサ等であってもよい。
(【0011】以降は省略されています)
特許ウォッチbot のツイートを見る
この特許をJ-PlatPat(特許庁公式サイト)で参照する
関連特許
国立大学法人京都大学
抗がん剤
3か月前
国立大学法人京都大学
マグネトロン
6か月前
国立大学法人京都大学
バイオセンサ
3か月前
国立大学法人京都大学
二光子吸収材料
4日前
国立大学法人京都大学
多環芳香族化合物
3か月前
国立大学法人京都大学
多環芳香族化合物
3か月前
国立大学法人京都大学
多環芳香族化合物
2か月前
国立大学法人京都大学
細胞質送達ペプチド
7か月前
国立大学法人京都大学
凍結細胞の製造方法
5か月前
国立大学法人京都大学
タンパク質集積構造体
1か月前
国立大学法人京都大学
高さ調整可能な展示台
6か月前
個人
肝疾患の検出方法
6か月前
国立大学法人京都大学
原始結節細胞の製造方法
3日前
国立大学法人京都大学
剪断流を発生させる器具
8か月前
国立大学法人京都大学
白血病の髄外浸潤マーカー
2か月前
国立大学法人京都大学
電気伝導体及びその設計方法
3か月前
国立大学法人京都大学
ブロック共重合体の製造方法
5か月前
国立大学法人京都大学
重合体の製造方法及び重合体
10日前
国立大学法人京都大学
近位尿細管生体模倣システム
26日前
国立大学法人京都大学
陽極およびアルカリ水電解装置
5か月前
国立大学法人京都大学
データ読み出し方法および装置
6か月前
国立大学法人京都大学
2次元フォトニック結晶レーザ
2か月前
国立大学法人京都大学
2次元フォトニック結晶レーザ
3か月前
国立大学法人京都大学
全固体イオン選択性電極用組成物
5か月前
国立大学法人京都大学
配座固定アミロイドβ42誘導体
4か月前
ダイキン工業株式会社
共重合体
26日前
国立大学法人京都大学
もやもや病の発症を予測する方法
8か月前
国立大学法人京都大学
神経変性疾患の予防または治療薬
5か月前
国立大学法人京都大学
フーリエ変換装置および無線通信装置
5か月前
国立大学法人京都大学
老化細胞除去用組成物およびその用途
1か月前
DMG森精機株式会社
表面発光装置
3か月前
国立大学法人京都大学
フルオロリン酸イオンを分離する方法
2か月前
国立大学法人京都大学
二酸化炭素を回収する方法および装置
4か月前
国立大学法人京都大学
BRG1遺伝子を標的とした膵癌治療剤
3か月前
株式会社構造計画研究所
領域変形装置
4か月前
住友化学株式会社
組成物及び発光素子
24日前
続きを見る
他の特許を見る