TOP
|
特許
|
意匠
|
商標
特許ウォッチ
Twitter
他の特許を見る
10個以上の画像は省略されています。
公開番号
2025073304
公報種別
公開特許公報(A)
公開日
2025-05-13
出願番号
2023183960
出願日
2023-10-26
発明の名称
マグネトロン
出願人
国立大学法人京都大学
代理人
弁理士法人前田特許事務所
主分類
H01J
23/05 20060101AFI20250502BHJP(基本的電気素子)
要約
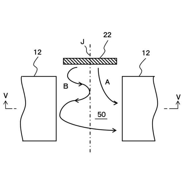
【課題】陰極が電子の逆衝撃を原理的に受けることない新規な構造のマグネトロンを提供する。
【解決手段】マグネトロン100は、複数の共振空洞60が形成された円筒状の陽極体10と、陽極体の中心軸上に配置された陰極体20と、陽極体の共振空洞が形成された部位における内周面に囲まれた作用空間50に、中心軸に平行な磁界を付与する一対の磁極30a、30bとを備え、陰極体は、中心軸に平行な方向に電子を放出する電子放出源22を有し、電子放出源は、作用空間に対して、中心軸の方向に離間して配置されている。
【選択図】図1
特許請求の範囲
【請求項1】
複数の共振空洞が形成された円筒状の陽極体と、
前記陽極体の中心軸上に配置された陰極体と、
前記陽極体の共振空洞が形成された部位における内周面に囲まれた作用空間に、前記中心軸に平行な磁界を付与する一対の磁極と
を備えたマグネトロンであって、
前記陰極体は、前記中心軸に平行な方向に電子を放出する電子放出源を有し、
前記電子放出源は、前記作用空間に対して、前記中心軸の方向に離間して配置されている、マグネトロン。
続きを表示(約 350 文字)
【請求項2】
前記陰極体は、内部にヒータを内蔵した円筒状のスリーブと、該スリーブの端面に設けられた前記電子放出源とで構成されている、請求項1に記載のマグネトロン。
【請求項3】
前記陽極体は、陽極筒体と、該陽極筒体の内周面から前記中心軸に向かって放射状に延びる複数の陽極ベインとを備え、
前記陽極筒体と前記複数の陽極ベインとで、前記複数の共振空洞が形成されており、
前記複数の陽極ベインの各先端を結ぶ包絡円の内周面に囲まれた空間で、前記作用空間が形成されている、請求項1に記載のマグネトロン。
【請求項4】
前記電子放出源を挟んで、該電子放出源からの電子の放出を制御する一対のゲート電極が配置されている、請求項1に記載のマグネトロン。
発明の詳細な説明
【技術分野】
【0001】
本発明は、マイクロ波を発振するマグネトロンに関する。
続きを表示(約 1,200 文字)
【背景技術】
【0002】
一般的なマグネトロンは、円筒状の陽極と、陽極の中心軸上に配置された陰極とで構成されている。陽極の内周面からは、中心軸に向かって複数の陽極ベインが放射状に形成され、隣合う陽極ベイン間で共振空洞が構成されている。陰極は、例えば、コイル状のフィラメントからなり、陽極ベインと陰極との間で、電磁界により電子が運動する作用空間が形成されている。作用空間には、中心軸方向に磁界が付与されている。
【0003】
このような構成のマグネトロンでは、陰極のフィラメントに電流を流すとともに、陽極と陰極との間に電圧を印加することによって、陰極から陽極ベインに向かって電子が放出される。陰極から放出された電子は、作用空間に付与された磁界の作用により、陰極の周りを周回し、電子運動によるエネルギーが共振空洞に与えられることにより、共振空洞にマイクロ波が発生する。
【0004】
しかしながら、陰極から作用空間に放出された電子のうち、運動速度の遅い電子は、磁界の作用により陰極に戻り、陰極を逆衝撃(バックボンバード)する。陰極が長時間に亘り電子の逆衝撃を受けると、陰極が腐食され、これがマグネトロンを短寿命にする要因となっている。
【0005】
陰極の腐食を防止する方法として、特許文献1には、円筒状の基体金属の表面に凹凸部を設け、凹部に熱電子放出物質を充填した構造の傍熱型陰極が開示されている。
【先行技術文献】
【特許文献】
【0006】
特開2000-299069号公報
【発明の概要】
【発明が解決しようとする課題】
【0007】
特許文献1に開示された構造の傍熱型陰極は、熱電子放出物質の露出面積を減少させることによって、電子による逆衝撃を受ける割合は低減されるものの、凹部に充填された熱電子放出物質が、電子による逆衝撃を受けることには変わりなく、陰極の腐食を防止する根本的な解決にはならない。
【0008】
本発明は、陰極が電子の逆衝撃を原理的に受けることない新規な構造のマグネトロンを提供することにある。
【課題を解決するための手段】
【0009】
本発明に係るマグネトロンは、複数の共振空洞が形成された円筒状の陽極体と、陽極体の中心軸上に配置された陰極体と、陽極体の共振空洞が形成された部位における内周面に囲まれた作用空間に、中心軸に平行な磁界を付与する一対の磁極とを備え、陰極体は、中心軸の方向であって、作用空間に向かって電子を放出する電子放出源を有し、電子放出源は、作用空間に対して、中心軸の方向に離間して配置されている。
【発明の効果】
【0010】
本発明によれば、陰極が電子の逆衝撃を原理的に受けることない新規な構造のマグネトロンを提供することができる。
【図面の簡単な説明】
(【0011】以降は省略されています)
この特許をJ-PlatPat(特許庁公式サイト)で参照する
関連特許
国立大学法人京都大学
タンパク質集積構造体
7日前
国立大学法人京都大学
白血病の髄外浸潤マーカー
1か月前
トヨタ紡織株式会社
繊維状複合体の製造方法
25日前
スミダ電機株式会社
測定装置および測定方法
26日前
トヨタ紡織株式会社
繊維状複合体の製造方法
25日前
国立大学法人京都大学
車両管理システム、車両管理方法、及びプログラム
1か月前
住友化学株式会社
リサイクル正極活物質の製造方法
25日前
住友化学株式会社
リサイクル正極活物質の製造方法
25日前
住友化学株式会社
リサイクル正極活物質の製造方法
25日前
住友化学株式会社
リサイクル正極活物質の製造方法
25日前
住友化学株式会社
リサイクル正極活物質の製造方法
25日前
住友化学株式会社
リサイクル正極活物質の製造方法
25日前
トヨタ紡織株式会社
熱可塑性樹脂組成物の製造方法
25日前
住友化学株式会社
リサイクル正極活物質の製造方法
25日前
住友化学株式会社
リサイクル正極活物質の製造方法
24日前
株式会社日立製作所
治療効果予測システムおよび方法
18日前
国立大学法人京都大学
可聴域音波を用いた脂肪細胞に刺激を与えるための器具
18日前
国立大学法人京都大学
脂質スクランブル活性の調節物質のスクリーニング方法
17日前
国立大学法人京都大学
選別精子集団の製造方法及び男性不妊症の診断補助方法
1か月前
トヨタ紡織株式会社
熱可塑性樹脂組成物及びその製造方法
25日前
国立大学法人京都大学
遠隔機械操縦装置及びプログラム並びに遠隔機械操縦システム
20日前
トヨタ紡織株式会社
繊維状物質及びその製造方法並びに粉体
25日前
トヨタ紡織株式会社
繊維状複合体及びその製造方法並びに粉体
25日前
トヨタ紡織株式会社
熱可塑性樹脂組成物及びその製造方法並びに成形体
25日前
国立大学法人京都大学
T細胞マスターセルバンク
1か月前
国立大学法人京都大学
電力パケット伝送システム
19日前
株式会社エフ・シー・シー
金属有機構造体を備えたシート材およびその製造方法
26日前
国立大学法人京都大学
ボルナウイルスベクターを利用した細胞の遺伝子改変と当該細胞を用いた細胞治療薬
1か月前
日本ペイントコーポレートソリューションズ株式会社
氷核形成抑制または着氷抑制用の部材
5日前
国立大学法人大阪大学
クローン性造血及び/又はクローン性造血関連疾患を検査する方法
10日前
住友化学株式会社
リサイクル正極活物質の製造方法
20日前
住友化学株式会社
リサイクル正極活物質の製造方法
20日前
住友化学株式会社
リサイクル正極活物質の製造方法
20日前
住友化学株式会社
リサイクル正極活物質の製造方法
20日前
シャープセミコンダクターイノベーション株式会社
細菌検査デバイス及び細菌検査システム
28日前
東ソー株式会社
絶縁電線
12日前
続きを見る
他の特許を見る