TOP
|
特許
|
意匠
|
商標
特許ウォッチ
Twitter
他の特許を見る
公開番号
2025168853
公報種別
公開特許公報(A)
公開日
2025-11-12
出願番号
2024073661
出願日
2024-04-30
発明の名称
内開き式のドア装置および該ドア装置の室外側への開閉方法
出願人
三和シヤッター工業株式会社
代理人
個人
,
個人
,
個人
主分類
E06B
3/36 20060101AFI20251105BHJP(戸,窓,シャッタまたはローラブラインド一般;はしご)
要約
【課題】トイレブース1の出入り口Eに設けた室内側に開閉操作する内開き式のドア体4において、ドア体4を室外側に非常開放する際に、ドア体側エッジ部材5とパネル体側エッジ部材6との間の隙間Sを塞ぐためパネル体側エッジ部材6に設けられる延出部が邪魔にならないようにする。
【解決手段】パネル体側エッジ部材6を、エッジ本体部7と、該エッジ本体部7の室外側に揺動自在に軸支される延出部8とに分割し、該延出部8を、ドア体4を室外側に開放操作した場合にドア体側エッジ部材5が当接することに連動して自動的に室外側に揺動してドア体4の室外側への開放が許容されるように構成する。
【選択図】図2
特許請求の範囲
【請求項1】
室内外を仕切る左右の戸先側、戸尻側パネル体と、該戸先側、戸尻側パネル体間に形成される出入り口の開閉を室内側への開放作動で行う内開き式のドア体とを備え、
ドア体および戸先側パネル体の互いに対向する端縁部にそれぞれ設けられるドア体側、パネル体側エッジ部材のうちの一方側エッジ部材の先端側面部を、前後方向中央部側が膨出した膨出面とする一方、他方側エッジ部材の室外側端縁部に、一方側エッジ部材側に延出して両エッジ部材間の隙間を塞ぐための延出部を設けてなる内開き式のドア装置において、
前記他方側エッジ部材を、エッジ本体部と延出部とに分割し、
該分割した延出部を、ドア体を室外側に開放操作したときの一方側エッジ部材の当接に連動して室外側に揺動することでドア体の室外側への開放を許容するよう揺動自在に設けたことを特徴とする内開き式のドア装置。
続きを表示(約 1,500 文字)
【請求項2】
ドア体側エッジ部材が一方側エッジ部材、パネル体側エッジ部材が他方側エッジ部材であり、
延出部は、パネル体側エッジ部材の室外側端縁部に設けられる揺動軸部と、該揺動軸部からパネル体の室外側面に添う状態で延出する室外側面部と、該室外側面部の先端縁を頂点とし、該先端縁から一方側エッジ部材の先端側面部に添う状態で室内側に延出する先端側面部と、該先端側面部の先端縁からパネル体側に折曲した折曲片部とを備え、該折曲片部がエッジ本体部の室外側端縁部に無理嵌め状態で抜き差し自在に嵌入していることを特徴とする請求項1記載の内開き式のドア装置。
【請求項3】
一方側エッジ部材の先端側面部には、室外側に開放したドア体を閉鎖する場合に、室外側に揺動した延出部に係止して該延出部を元姿勢に復帰移動させるための係止部が形成されていることを特徴とする請求項1記載の内開き式のドア装置。
【請求項4】
室内外を仕切る左右の戸先側、戸尻側パネル体と、該戸先側、戸尻側パネル体間に形成される出入り口の開閉を室内側への開放作動で行う内開き式のドア体とを備え、
ドア体の先端縁部に、先端側面部の前後方向中央部側が膨出したドア体側エッジ部材を設け、
パネル体の先端縁部に、ドア体側に延出してドア体側エッジ部材とのあいだの隙間を塞ぐための延出部が室外側端縁部に形成されたパネル体側エッジ部材を設けて構成される内開き式のドア装置において、
前記パネル体側エッジ部材を、エッジ本体と延出部とに分割し、該分割した延出部を、ドア体の室外側への開放を許容する許容姿勢になるよう揺動自在に設けたものとして、
ドア体の室外側への開閉方法として、
・ドア体を室外側に開放操作したときに、ドア体側エッジ部材が延出部に当接することに連動して該延出部がドア体の開放側への移動を許容する許容姿勢に揺動変姿するドア体開放工程、
・室外側に開放したドア体を閉鎖するドア体閉鎖工程、
・ドア体閉鎖工程後、許容姿勢の延出部を元姿勢に復帰揺動する延出部復帰工程
の各工程が実行されることを特徴とする内開き式のドア装置の室外側への開閉方法。
【請求項5】
室内外を仕切る左右の戸先側、戸尻側パネル体と、該戸先側、戸尻側パネル体間に形成される出入り口の開閉を室内側への開放作動で行う内開き式のドア体とを備え、
ドア体の先端縁部に、先端側面部の前後方向中央部側が膨出したドア体側エッジ部材を設け、
パネル体の先端縁部に、ドア体側に延出してドア体側エッジ部材とのあいだの隙間を塞ぐための延出部が室外側端縁部に形成されたパネル体側エッジ部材を設けて構成される内開き式のドア装置において、
前記パネル体側エッジ部材を、エッジ本体と延出部とに分割し、該分割した延出部を、ドア体の室外側への開放を許容する許容姿勢になるよう揺動自在に設けたものとして、
ドア体の室外側への開閉方法として、
・ドア体を室外側に開放操作したときに、ドア体側エッジ部材が延出部に当接することに連動して該延出部がドア体の開放側への移動を許容する許容姿勢に揺動変姿するドア体開放工程、
・室外側に開放したドア体を閉鎖操作したときに、ドア体側エッジ部材が延出部に当接することに連動して該延出部が前記隙間を塞ぐ元姿勢に揺動変姿するドア体閉鎖工程、
の各工程が実行されることを特徴とする内開き式のドア装置の室外側への開閉方法。
発明の詳細な説明
【技術分野】
【0001】
本発明は、トイレブース等の部室の出入り口に建て付けられる内開き式のドア装置および該ドア装置の室外側への開閉方法の技術分野に関するものである。
続きを表示(約 5,700 文字)
【背景技術】
【0002】
一般に、トイレブース、浴室ブース等の部室(小部室)の出入り口にドア体(戸体、扉体)を設ける場合、該ドア体を室内側に開放する内開き式とし、ドア体を開放した際に、該開放したドア体が室外側に居る人に当たる等の不具合がないように配慮したものがある。このような内開き式のドア装置では、ドア体の戸先側端縁部と、該戸先側端縁部に対向する戸先側パネル体の端縁部とにそれぞれドア体側、パネル体側のエッジ部材を取り付け、これら両エッジ部材を、例えば、ドア体側エッジ部材については、先端側面部を前後方向中央部側が膨出した膨出面(円弧面)にする一方、パネル体側エッジ部材については、両エッジ部材間の隙間を塞いで室内外を見通すことができないよう目隠しするための延出部を室外側部位に形成した構成にしている。
このようなドア装置において、室内に居る人が、健康を損ねる等して出入り口付近で倒れてしまうことがあり、このような場合に、該倒れた人が障害物となってドア体の室内側への開放ができなくなって非常(緊急)対応に差し障りが生じることが想定される。そこでこのような場合の対応として、内開き式のドア体を、例外的に室外側に開く構成にすることが提唱されるが、その場合、ドア体側エッジ部材の前記膨出した先端側面部が、目隠し用に設けた延出部に当接することになってドア体の室外側への開放ができないという問題がある。
そこで内開き式のドア体を、前述したような非常時に室外側に開放操作できるように構成したものが知られている(例えば特許文献1参照)。
【先行技術文献】
【特許文献】
【0003】
特許第6798829号公報
【発明の概要】
【発明が解決しようとする課題】
【0004】
ところで前記従来の内開き式のドア体を室外側に非常開放できる構成にしたものは、パネル体側エッジ部材に設けられる延出部を可撓性のある部材で構成し、ドア体を室外側に開放移動したとき、ドア体側エッジ部材の先端側面部が当接した場合に、延出部が室外側に向けて弧状に変形することでドア体の室外側への開放ができるようにしている。
しかしながらこのようにした場合、延出部が可撓性を有した変形可能な素材で構成されるため、通常使用時において延出部の一部を室外側に抉じ開けることができ、そしてこの様に抉じ開けることで、室外から室内側を覗き見ることが可能になって防犯性に劣る等の問題があり、本発明は、これら問題点を解決することを課題としている。
【課題を解決するための手段】
【0005】
本発明は、上記の如き実情に鑑みこれらの課題を解決することを目的として創作されたものであって、請求項1の発明は、室内外を仕切る左右の戸先側、戸尻側パネル体と、該戸先側、戸尻側パネル体間に形成される出入り口の開閉を室内側への開放作動で行う内開き式のドア体とを備え、ドア体および戸先側パネル体の互いに対向する端縁部にそれぞれ設けられるドア体側、パネル体側エッジ部材のうちの一方側エッジ部材の先端側面部を、前後方向中央部側が膨出した膨出面とする一方、他方側エッジ部材の室外側端縁部に、一方側エッジ部材側に延出して両エッジ部材間の隙間を塞ぐための延出部を設けてなる内開き式のドア装置において、前記他方側エッジ部材を、エッジ本体部と延出部とに分割し、該分割した延出部を、ドア体を室外側に開放操作したときの一方側エッジ部材の当接に連動して室外側に揺動することでドア体の室外側への開放を許容するよう揺動自在に設けたことを特徴とする内開き式のドア装置である。
請求項2の発明は、ドア体側エッジ部材が一方側エッジ部材、パネル体側エッジ部材が他方側エッジ部材であり、延出部は、パネル体側エッジ部材の室外側端縁部に設けられる揺動軸部と、該揺動軸部からパネル体の室外側面に添う状態で延出する室外側面部と、該室外側面部の先端縁を頂点とし、該先端縁から一方側エッジ部材の先端側面部に添う状態で室内側に延出する先端側面部と、該先端側面部の先端縁からパネル体側に折曲した折曲片部とを備え、該折曲片部がエッジ本体部の室外側端縁部に無理嵌め状態で抜き差し自在に嵌入していることを特徴とする請求項1記載の内開き式のドア装置である。
請求項3の発明は、一方側エッジ部材の先端側面部には、室外側に開放したドア体を閉鎖する場合に、室外側に揺動した延出部に係止して該延出部を元姿勢に復帰移動させるための係止部が形成されていることを特徴とする請求項1記載の内開き式のドア装置である。
請求項4の発明は、室内外を仕切る左右の戸先側、戸尻側パネル体と、該戸先側、戸尻側パネル体間に形成される出入り口の開閉を室内側への開放作動で行う内開き式のドア体とを備え、ドア体の先端縁部に、先端側面部の前後方向中央部側が膨出したドア体側エッジ部材を設け、パネル体の先端縁部に、ドア体側に延出してドア体側エッジ部材とのあいだの隙間を塞ぐための延出部が室外側端縁部に形成されたパネル体側エッジ部材を設けて構成される内開き式のドア装置において、前記パネル体側エッジ部材を、エッジ本体と延出部とに分割し、該分割した延出部を、ドア体の室外側への開放を許容する許容姿勢になるよう揺動自在に設けたものとし、ドア体の室外側への開閉方法として、ドア体を室外側に開放操作したときに、ドア体側エッジ部材が延出部に当接することに連動して該延出部がドア体の開放側への移動を許容する許容姿勢に揺動変姿するドア体開放工程、室外側に開放したドア体を閉鎖するドア体閉鎖工程、ドア体閉鎖工程後、許容姿勢の延出部を元姿勢に復帰揺動する延出部復帰工程、の各工程が実行されることを特徴とする内開き式のドア装置の室外側への開閉方法である。
請求項5の発明は、室内外を仕切る左右の戸先側、戸尻側パネル体と、該戸先側、戸尻側パネル体間に形成される出入り口の開閉を室内側への開放作動で行う内開き式のドア体とを備え、ドア体の先端縁部に、先端側面部の前後方向中央部側が膨出したドア体側エッジ部材を設け、パネル体の先端縁部に、ドア体側に延出してドア体側エッジ部材とのあいだの隙間を塞ぐための延出部が室外側端縁部に形成されたパネル体側エッジ部材を設けて構成される内開き式のドア装置において、前記パネル体側エッジ部材を、エッジ本体と延出部とに分割し、該分割した延出部を、ドア体の室外側への開放を許容する許容姿勢になるよう揺動自在に設けたものとし、ドア体の室外側への開閉方法として、ドア体を室外側に開放操作したときに、ドア体側エッジ部材が延出部に当接することに連動して該延出部がドア体の開放側への移動を許容する許容姿勢に揺動変姿するドア体開放工程、室外側に開放したドア体を閉鎖操作したときに、ドア体側エッジ部材が延出部に当接することに連動して該延出部が前記隙間を塞ぐ元姿勢に揺動変姿するドア体閉鎖工程、の各工程が実行されることを特徴とする内開き式のドア装置の室外側への開閉方法である。
【発明の効果】
【0006】
請求項1、4の構成にすることにより、ドア体の戸先側端縁部と、これに対向する戸先側パネル体端縁部とに設けられるエッジ部材のうち、一方側エッジ部材の先端側面部を、前後方向中央部側が膨出した膨出面とし、他方側エッジ部材の室外側端縁部に、一方側エッジ部材側に延出して両エッジ部材間の隙間を塞ぐための延出部を設け、他方側エッジ部材を、エッジ本体部と延出部とに分割したものとし、そして分割した延出部を、ドア体を室外側に開放操作したときの一方側エッジ部材の当接に連動して室外側に揺動することでドア体の室外側への開放を許容するよう揺動自在に設けた構成になっている結果、延出部は、ドア体の室外側への開放を許容するため変形可能な可撓製部材で構成する必要がなく、エッジ部材と同等の硬質部材で形成することができ、このため延出部を室外側から抉じ開けて室内を見ることができないことになって防犯性が向上する。
請求項2の発明にすることにより、ドア体側エッジ部材が一方側エッジ部材、パネル体側エッジ部材が他方側エッジ部材としたものとなり、そして延出部が、パネル体側エッジ部材の室外側端縁部に設けられる揺動軸部と、該揺動軸部からパネル体の室外側面に添う状態で延出する室外側面部と、該室外側面部の先端縁を頂点とし、該先端縁から一方側エッジ部材の先端側面部に添う状態で室内側に延出する先端側面部と、該先端側面部の先端縁からパネル体側に折曲した折曲片部とを備え、そして該折曲片部がエッジ本体部の室外側端縁部に無理嵌め状態で抜き差し自在に嵌入したものとなっている結果、延出部の室外側への揺動が、ドア体側エッジ部材が当接することに連動して容易に許容姿勢に変姿するが、室外側から許容姿勢への変姿が簡単にはできないことになって防犯性がさらに高いものとなる。
請求項3、5の発明とすることにより、一方側エッジ部材の先端側面部には、室外側に開放したドア体を閉鎖する場合に、室外側に揺動した延出部に係止して該延出部を元姿勢に復帰移動させるための係止部が形成されているため、室外側に変姿した延出部を元姿勢に復帰することが、ドア体の閉鎖作動に連動してできることとになって操作性が向上する。
【図面の簡単な説明】
【0007】
(A)(B)(C)はトイレブースの正面図、平面図、側面図である。
トイレブースの要部平面図である。
ドア体の戸先側端縁部部位の平面図である。
(A)(B)(C)はエッジ本体部の側面図、正面図、平面図である。
(A)(B)(C)は延出部の側面図、正面図、平面図である。
(A)(B)は規制部材によって室外側の開放が規制された状態、許容された状態を示す作用説明図である。
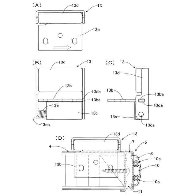
(A)(B)(C)(D)は規制部材の平面図、背面図、側面図、ドア体に取り付けた状態を示す平面図である。
(A)~(E)はドア体が室外側に開放する過程を示す作用説明図である。
【発明を実施するための形態】
【0008】
以下、本発明の実施の形態について、図面に基づいて説明する。図面において、1は室内に設けられるトイレブースであって、該トイレブース1は、左右前側の戸先側、戸尻側パネル体2、3、前後の奥行パネル体15、躯体側壁面Wによって仕切られ、戸先側、戸尻側パネル体2、3のあいだに形成される出入り口Eの開閉をするため、戸尻側が揺動支軸4cを軸心として前後方向揺動自在に軸支された内開き式のドア体4を備えて構成されていること等は何れも従来通りである。
そしてドア体4の戸先側端縁部にはドア体側エッジ部材5が取り付けられ、戸先側パネル体2のドア体4と対向する先端縁部にはパネル体側エッジ部材6が取り付けられたものとなって本発明が実施されており、以下に、これらエッジ部材5、6の具体的構成について説明するが、両エッジ部材5、6は、互いに相対的な構造であればよいため、ドア体側エッジ部材5と同様の構造のものを戸先側パネル体2に取り付け、パネル体側エッジ部材6と同様の構造のものをドア体4側に取り付けた本実施の形態とは逆の構成としても本発明を実施することができる。
【0009】
前記ドア体側エッジ部材5は、ドア体4の戸先側端面部4aの前後コーナー部に基端部がL字形になって係止する前後の係止片部5aと、該前後係止片部5aから戸先側パネル体2側に膨出する円弧面状態で前後方向内側に向けて延出する先端側面部5bと、該先端側面部5bの前後方向中間部からドア体戸先側端面部4aに当接するべく延出した前後の支持片部5cとを備えて構成され、そして前後支持片部5cのあいだから挿入したビス5dをドア体4の戸先側縦枠4bに螺入することでドア体4の戸先側端面部4aに取付けられる構成になっている。
【0010】
これに対しパネル体側エッジ部材6は、室内側のエッジ本体部7と室外側の延出部8とに二分割されたものとなっている。
エッジ本体部7は、戸先側パネル体2の先端側面部2aの室内側コーナー部にL字形になって係止する室内側(後側)係止片部7aと、該室内側係止片部7aの先端縁部から、ドア体側エッジ部材5の先端側面部5bと隙間Sを存する状態で、戸先側パネル体2の室外側面2bに至る前位置まで室外側に向けて延出した先端側面部7bと、該先端側面部7bの室外側端縁から戸先側パネル体2側に向けて折曲して戸先側パネル体2の先端側面部2aに至る室外側支持片部7cと、該室外側支持片部7cの基端部から戸先側パネル体2の先端側面部2aに添う(当接する)状態で室外側に折曲して戸先側パネル体2の先端側端面部2aの室外側コーナー部に至る見込み片部7dと、該見込み片部7dの室外側端縁から戸先側パネル体2の室外側面2bに添う状態に折曲された見付け片部7eと、室内側係止片部7aおよび室外側支持片部7cのあいだに前後一対が形成される中間支持片部7fとを備えて構成され、先端側面部7bの前後中間支持片部7fのあいだから挿入したビス7gを戸先側パネル体2に螺入することで該戸先側パネル体2のドア体4の戸先側端縁に対向する戸尻側端縁部に取り付けられるように構成されている。
そしてエッジ本体部7の見込み片部7eには、前記延出部8の揺動支軸8aを嵌合組み込みするための嵌合片部7hが形成されている。
(【0011】以降は省略されています)
この特許をJ-PlatPat(特許庁公式サイト)で参照する
関連特許
株式会社ナカオ
作業台
2か月前
株式会社ニチベイ
遮蔽装置
22日前
三協立山株式会社
開口部建材
15日前
三協立山株式会社
開口部装置
2か月前
三協立山株式会社
開口部装置
2か月前
三協立山株式会社
開口部建材
15日前
三協立山株式会社
開口部装置
2か月前
三協立山株式会社
開口部装置
1か月前
三協立山株式会社
開口部装置
2か月前
三協立山株式会社
開口部装置
2か月前
文化シヤッター株式会社
引戸装置
1か月前
豊田合成株式会社
調光装置
1か月前
文化シヤッター株式会社
止水装置
1か月前
不二サッシ株式会社
引違いサッシ
1か月前
不二サッシ株式会社
引違いサッシ
2か月前
豊田合成株式会社
調光装置
14日前
三協立山株式会社
サッシの製造方法
2か月前
株式会社LIXIL
太陽電池ガラス
1か月前
株式会社LIXIL
建具
1か月前
株式会社LIXIL
建具
1か月前
株式会社LIXIL
建具
2か月前
株式会社LIXIL
建具
1か月前
倉敷紡績株式会社
外構ユニット
1か月前
株式会社LIXIL
建具
1か月前
株式会社LIXIL
建具
2か月前
株式会社LIXIL
建具
2か月前
株式会社LIXIL
建具
2か月前
株式会社LIXIL
建具
1か月前
株式会社LIXIL
建具
1か月前
株式会社LIXIL
建具
1か月前
株式会社LIXIL
建具
1か月前
有限会社高橋土木
梯子固定装置
1日前
株式会社LIXIL
建具
1か月前
株式会社ニチベイ
縦型ブラインド
15日前
三和シヤッター工業株式会社
制御システム
1か月前
株式会社ニチベイ
ブラインド用カバー装置
1か月前
続きを見る
他の特許を見る