TOP
|
特許
|
意匠
|
商標
特許ウォッチ
Twitter
他の特許を見る
10個以上の画像は省略されています。
公開番号
2025168640
公報種別
公開特許公報(A)
公開日
2025-11-11
出願番号
2025039096
出願日
2025-03-12
発明の名称
電池のモノセルを製造する方法、および電池を製造する方法
出願人
レナタ・アーゲー
代理人
個人
,
個人
,
個人
主分類
H01M
10/058 20100101AFI20251104BHJP(基本的電気素子)
要約
【課題】貼り合わせを必要とすることなしに、取り扱いが容易な十分な剛性を有する平面電池のためのモノセルを製造する方法を提供する。
【解決手段】第1の箔から、第1の電極の被覆された部分の形状が、切り取りレーンに沿って部分的に切り取られる。第1の箔は、セパレータシート間に挿入され、前記セパレータシートにおける少なくとも一対の位置合わせ開口が、互いに対して位置合わせされ、かつ、第1の箔における位置合わせ開口に対して位置合わせされる。第2の箔はその後、前記第1のアセンブリの上または下に配置され、第2の箔における位置合わせ開口が第1のアセンブリにおける位置合わせ開口に位置合わせされる。第2のアセンブリ28から、モノセルが、所定の形状に従って切り取られる。
【選択図】図8
特許請求の範囲
【請求項1】
平面電池のためのモノセル(1)を製造する方法であって、
前記モノセルは、第1および第2の電極(5,2)を含み、各電極は、被覆された金属箔部分(6,3)と、被覆されていない金属タブ(7,4)とを含み、前記被覆された箔部分および前記タブは、互いに対して所定位置を有し、ならびに所定形状および所定表面積を有し、前記第1の電極(5)は、前記第1の電極の前記タブ(7)の位置(19)を除いて前記第1の電極の前記被覆された箔部分(6)の周縁に沿って延びる付着レーン(10)に沿って互いに付着された2枚のセパレータシート(8,9)間に挟まれ、前記セパレータシート(8,9)は、前記第1の電極の前記被覆された箔部分(6)が挿入されたポケット(11)を形成し、前記第1の電極の前記タブ(7)の一部分(7b)が前記ポケット(11)から出るように延び、前記第2の電極(2)が前記ポケット(11)に付着され、
前記方法は、
・第1および第2の金属箔(14,20)を設けるステップであって、各箔は前記第1および第2の電極それぞれの化学成分を含むコーティングを含む、ステップと、
・前記第1の箔(14)において、前記第1の電極の前記被覆された箔部分(6)を、所定形状に従って、前記形状の周縁に沿って延びる切り取りレーン(17)において箔材料を除去することによって部分的に切り取るステップであって、前記第1の電極の前記被覆された箔部分(6)が、前記第1の電極(5)の前記タブ(7)の前記所定位置(19)において前記第1の箔(14)に付着されたままである、ステップと、
・前記第1の箔(14)において第1の位置合わせ開口(18,18a)を切り取るステップと、
・前記第2の箔(20)において第2の位置合わせ開口(23a)を切り取るステップと、
・第1および第2のセパレータシート(25)を設けて前記第1および第2のセパレータシートそれぞれにおいて少なくとも一対の位置合わせ開口(26)を切断するステップと、
・切断された前記第1の箔(14)を前記第1および第2のセパレータシート(25)間に、前記セパレータシート(25)が前記切り取りレーン(17)に沿って互いに対向するように挿入し、前記セパレータシートの前記一対の位置合わせ開口(26)を相互に位置合わせし、および前記第1の箔(14)における前記第1の位置合わせ開口(18,18a)に位置合わせするステップと、
・その後、前記切り取りレーン(17)に沿って前記セパレータシート(25)を互いに付着させることにより、前記第1の電極(5)の部分的に切り取られた被覆された箔部分(6)を包含する前記ポケット(11)を含む第1のアセンブリ(27)を得るステップと、
・前記第2の箔(20)における前記第2の位置合わせ開口(23a)が、前記セパレータシート(25)における前記一対の位置合わせ開口(26)に、および前記第1の箔(14)における前記第1の位置合わせ開口(18,18a)に位置合わせされるように、前記第2の箔(20)を前記第1のアセンブリ(27)に位置合わせするステップと、
・その後、前記第2の箔(20)を前記第1のアセンブリ(27)に付着させることにより、第2のアセンブリ(28)を得るステップと、
・前記付着レーン(10)および前記タブ(7,4)の外形に従う切り取りライン(29)に沿って前記第2のアセンブリ(28)を切断するステップと
を含む、方法。
続きを表示(約 1,200 文字)
【請求項2】
・前記セパレータシート(25)間に前記第1の箔(14)を挿入する前に、前記第1の箔において第1のタブ開口(18b)を切り取るステップであって、前記第1のタブ開口は、前記所定位置において前記第2の電極(2)の前記タブ(4)の少なくとも所定表面積をカバーする、ステップと、
・前記第2の箔(20)を前記第1のアセンブリ(27)に位置合わせする前に、前記第2の箔において第2のタブ開口(23b)を切り取るステップであって、前記第2のタブ開口は、前記第1のタブの前記一部分(7b)の前記所定位置において、前記ポケット(11)から出るように延びる前記第1のタブ(7)の前記一部分(7b)の少なくとも前記所定表面積をカバーする、ステップと
を含む、請求項1に記載の方法。
【請求項3】
前記第1の箔における前記位置合わせ開口および前記タブ開口(18b)が、単一の連続開口(18)を形成する、請求項2に記載の方法。
【請求項4】
前記セパレータシート(25)における前記一対の位置合わせ開口(26)のうちの一つが、前記第2の電極(2)の前記タブ(4)の、および前記ポケット(11)から出るように延びる前記第1の電極(5)の前記タブの前記一部分(7b)の前記所定表面積をカバーする、請求項1に記載の方法。
【請求項5】
前記第1および第2の箔(14,20)は、前記箔の一辺に沿った被覆部分(15,21)および非被覆ストリップ(16,22)を有する矩形箔であり、前記切り取りレーン(17)ならびに前記第1および第2の位置合わせ開口(18,18a,23a)は、前記モノセルの前記タブ(7,4)が前記非被覆ストリップ(16,22)の材料から形成され、前記モノセルの前記被覆電極部分(6,3)が前記箔の前記被覆部分(15,21)から形成されるように形成される、請求項1に記載の方法。
【請求項6】
前記第1および第2の箔(14,20)は完全に被覆された箔であり、前記方法は、前記タブ(7,4)の少なくとも前記所定表面積に対応するエリア(40,41)における前記それぞれの箔のコーティングを、前記タブ(7,4)の前記所定位置において除去する追加ステップを含む、請求項1に記載の方法。
【請求項7】
前記第1および第2の箔(14,20)ならびに前記セパレータシート(25)における前記位置合わせ開口(18,18a,23a,26)は形状が矩形である、請求項1に記載の方法。
【請求項8】
請求項1に記載の方法に従って複数のモノセル(1)を製造することと、
前記モノセルを容器の中に積層することと、
前記モノセルの前記第1および第2の電極(5,2)の前記タブ(7,4)をそれぞれの電池接点に接続することと、
前記容器を閉鎖および封止することと
によって電池を製造する方法。
発明の詳細な説明
【技術分野】
【0001】
本発明は電池に関し、詳しくは複数の積層された電池セルを含む電池に関する。
続きを表示(約 3,100 文字)
【背景技術】
【0002】
電池セルは、セパレータシートによって分離された2つ以上の電極を含む。セルは、巻回(winding)、折り畳み(folding)、積層(stacking)を含むさまざまな製造技術によって製造され得る。積層技法によれば、複数のモノセル(monocell)が積層されて一緒にされ、各モノセルは2枚のセパレータシート間に挿入された第1の電極(通常はカソード)を含む。セパレータシートはカソードの周縁に沿って熱または接着剤によって接合され、その後、アノードと同じ形状および寸法を有するポケットを形成するように切断される。カソードを包含するこれらのポケットはその後、アノードと交互に積層されて金属容器に入れられ、これらの電極から延びるタブが、電池の接点との接続を目的として溶接されて一緒にされる。容器は、最終的な封止の前に液体電解質によって充填される。代替的に、積層されたセルは、アルミラミネートパウチに統合されてもよい。積層セル電池の一般的な利点は、セルの形状が特定の形式に限定されないので、かかる電池をさまざまな形状で製造できる点である。
【0003】
カソード包含ポケットとアノードとの各対がモノセルを形成し、それゆえ電池は複数の積層モノセルを含む。しかしながら、電池のサイズが小さくなればなるほど、セパレータ層間のカソードの位置を制御することが難しくなる。その結果、セルサイズが小さくなるにつれて精度および効率が低下する。さらに、個々のモノセルの取り扱いおよび位置合わせは、サイズが小さくなるほど難しくなる。
【0004】
改良された組み立て方法が開発されている。ここで、モノセルは、セパレータシートの連続ロール間に、所望のセル形状に切断されたカソードシートを配置することと、その上または下にアノードシートを配置することと、熱および圧力を加えながらシートを貼り合わせ、次いで所望の形状に従ってモノセルを切り取ることとによって製造される。これにより、モノセルの剛性が増し、処理速度の高速化が可能になる。
【0005】
しかしながら、どんな種類のセパレータシートでも簡単に貼り合わせて一緒にすることができるわけではない。さらに、貼り合わせに使用される圧力および熱は、セパレータおよび電極を損傷し得るので、モノセルを組み立てて電池にしたときに、短絡または電解質の吸着不足のような望ましくない結果を引き起こし得る。
【発明の概要】
【0006】
本発明は、添付の特許請求の範囲に係る電池用モノセルを製造する方法に関する。本発明の方法によれば、第1の被覆金属箔、第2の被覆金属箔、および一対のセパレータシートに切り取りパターンが製造される。第1の箔は第1の電極を製造するべく使用され、第2の箔はモノセルの第2の電極を製造するべく使用される。第1の電極をカソードとし、第2の電極をアノードとしてよく、その逆でもよい。本発明が以下において、第1の場合(第1の電極がカソード、第2の電極がアノード)について要約されるが、カソードおよびアノードという用語は逆にしてもよい。
【0007】
カソード箔から、カソードの被覆部分の形状が、切り取りレーンに沿って部分的に切り取られる。この切り取りは、当該被覆部分がカソードタブの所定位置において箔に付着したままであるという意味で部分的である。第1箔の切り取りパターンが付加的に、位置合わせ開口を含む一方、アノード箔および当該対のセパレータシートにおける切り取りパターンもまた、それぞれの位置合わせ開口を含む。カソード箔は、セパレータシート間に挿入される。ここで、前記セパレータシートにおける少なくとも一対の位置合わせ開口が、互いに対して位置合わせされ、かつ、カソード箔の位置合わせ開口に対して位置合わせされる。当該対のセパレータシートはその後、切り取りレーンに沿って接合され、被覆されたカソード部分を包含するポケットを含む第1のアセンブリを形成する。アノード箔がその後、前記第1のアセンブリの上または下に配置され、アノード箔における位置合わせ開口が第1のアセンブリにおける位置合わせ開口に位置合わせされる。アノード箔が、第1のアセンブリに付着されて第2のアセンブリが得られる。第2のアセンブリから、モノセルが、所定の形状に従って切り取られる。
【0008】
被覆されたカソード部分を初期に箔に付着させたままとすることにより、かつ、それぞれの位置合わせ開口を設けることにより、当該対のセパレータシート間のカソード箔の正しい位置決めが可能になる。アノード箔を第1のアセンブリに付着させることにより、貼り合わせを必要とすることなしに、取り扱いが容易な十分な剛性を有するモノセルを形成することが可能となる。
【図面の簡単な説明】
【0009】
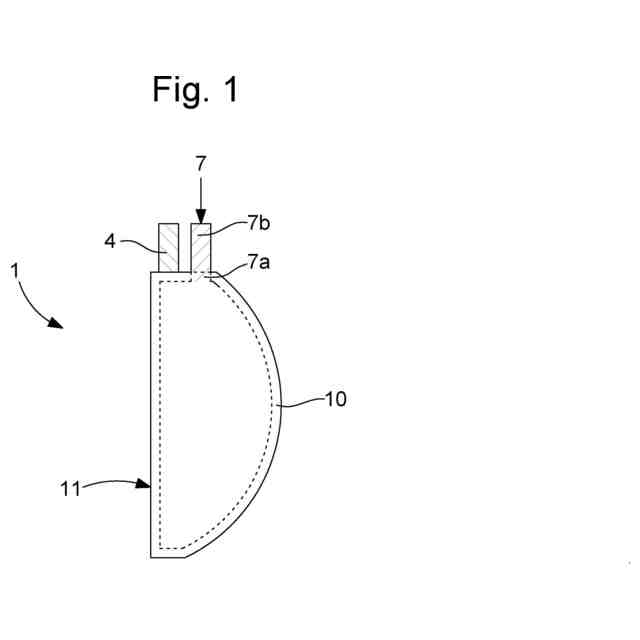
積層技法による電池の製造に適したモノセルを示す。
図2aないし図2dは、図1に示されたモノセルの4つの部品を示す。
本発明の第1の実施形態に係るカソード箔、アノード箔、および2枚のセパレータシートの切断パターンを示す。
本発明の第1の実施形態に係るカソード箔、アノード箔、および2枚のセパレータシートの切断パターンを示す。
本発明の第1の実施形態に係るカソード箔、アノード箔、および2枚のセパレータシートの切断パターンを示す。
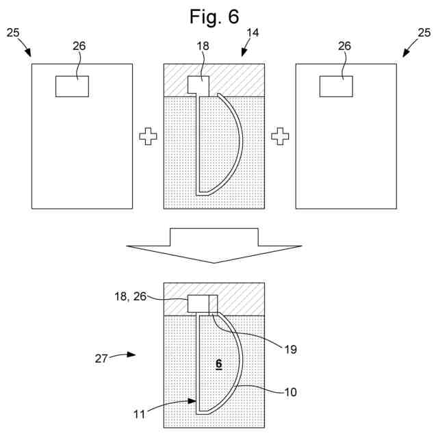
第1の実施形態に従って、図3ないし図5に示された切断された箔およびシートが、モノセルを形成するためにどのように組み立てられるのかを示す。
第1の実施形態に従って、図3ないし図5に示された切断された箔およびシートが、モノセルを形成するためにどのように組み立てられるのかを示す。
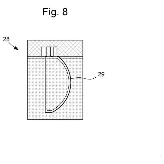
図7に示された組み立てステップによって得られたアセンブリからどのようにしてモノセルが切り取られるのかを示す。
図3から図8に示された実施形態の若干の変形例を示す。
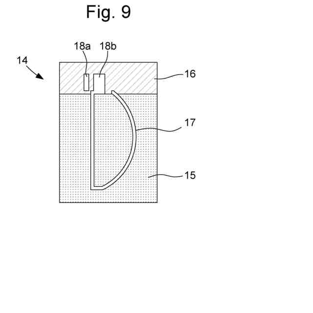
連続生産ラインにおいて本発明の方法を適用するための、連続箔およびセパレータシートに適用可能な切断パターンを示す。
本発明の第2の実施形態に係るカソード箔およびアノード箔の切断パターンを示す。
本発明の第2の実施形態に係るカソード箔およびアノード箔の切断パターンを示す。
第2の実施形態に係るモノセルのアセンブリを示す。
追加の位置合わせ開口が設けられている本発明の方法に適用可能な切断パターンの代替セットを示す。
【発明を実施するための形態】
【0010】
図1は、上述された積層法を使用して電池を製造するのに適したモノセル1を示す。電池は、図2aないし図2dに別々に示した一定数の重ね合わせ部品を含む。モノセルの底部には、複数の電極のうちの一つが存在する。この例示的なケースでは、アノード2が図2aに示されてはいるが、カソードであってもよい。アノードは、被覆電極部分3および非被覆タブ4を含む被覆金属箔から形成される。アノードコーティングは、再充電可能リチウムイオン電池の場合、グラファイトコーティングであってよい。タブ4はアノード箔と一体である。すなわち、タブは、被覆部分3から出るように延びる箔の非被覆部分である。アノードは「D」字形態に切断されているが、これは単に一つの例示的なモノセル形状にすぎない。他の形状も可能である。
(【0011】以降は省略されています)
この特許をJ-PlatPat(特許庁公式サイト)で参照する
関連特許
レナタ・アーゲー
電池
4か月前
レナタ・アーゲー
電池のモノセルを製造する方法、および電池を製造する方法
今日
東ソー株式会社
絶縁電線
20日前
APB株式会社
蓄電セル
18日前
個人
フレキシブル電気化学素子
1か月前
マクセル株式会社
電源装置
12日前
ローム株式会社
半導体装置
1か月前
株式会社ユーシン
操作装置
1か月前
株式会社東芝
端子台
12日前
ローム株式会社
半導体装置
1か月前
日新イオン機器株式会社
イオン源
28日前
ローム株式会社
半導体装置
19日前
太陽誘電株式会社
全固体電池
1か月前
株式会社GSユアサ
蓄電装置
1か月前
株式会社GSユアサ
蓄電装置
13日前
株式会社GSユアサ
蓄電装置
13日前
株式会社ホロン
冷陰極電子源
26日前
オムロン株式会社
電磁継電器
1か月前
株式会社ホロン
冷陰極電子源
1か月前
株式会社GSユアサ
蓄電装置
5日前
株式会社GSユアサ
蓄電設備
1か月前
株式会社GSユアサ
蓄電設備
1か月前
太陽誘電株式会社
コイル部品
1か月前
トヨタ自動車株式会社
蓄電装置
13日前
TDK株式会社
電子部品
1か月前
日本特殊陶業株式会社
保持装置
1か月前
日新イオン機器株式会社
基板処理装置
15日前
日本特殊陶業株式会社
保持装置
1か月前
トヨタ自動車株式会社
バッテリ
18日前
日東電工株式会社
積層体
1か月前
北道電設株式会社
配電具カバー
18日前
日本特殊陶業株式会社
保持装置
4日前
トヨタ自動車株式会社
バッテリ
1か月前
サクサ株式会社
電池の固定構造
1か月前
トヨタ自動車株式会社
蓄電装置
1か月前
トヨタ自動車株式会社
冷却構造
20日前
続きを見る
他の特許を見る