TOP
|
特許
|
意匠
|
商標
特許ウォッチ
Twitter
他の特許を見る
10個以上の画像は省略されています。
公開番号
2025168635
公報種別
公開特許公報(A)
公開日
2025-11-11
出願番号
2024226814
出願日
2024-12-23
発明の名称
送風筒及びスタンド型ドライヤー
出願人
シェンヅェン センシュアン テクノロジー カンパニー リミテッド
代理人
弁理士法人高橋・林アンドパートナーズ
主分類
A45D
20/04 20060101AFI20251104BHJP(手持品または旅行用品)
要約
【課題】加熱モジュールによる空気の加熱効率を向上させ、2つのキャビティ内の空気の流れを利用して加熱モジュールの放熱効率を向上させることができる送風筒及びスタンド型ドライヤーを提供する。
【解決手段】スタンド型ドライヤーは、送風筒10を備え、送風筒10は、ハウジングと加熱モジュール12とを備え、ハウジング内部にエアキャビティと、エアキャビティに連通する空気吸込領域及び空気吹出領域とが形成される。加熱モジュール12は、エアキャビティ内に設けられ、エアキャビティを第1サブキャビティと第2サブキャビティとに分離し、第1サブキャビティは、空気吸込領域に連通し、第2サブキャビティは、空気吹出領域に連通し、加熱モジュール12及び/又はハウジングには、第1サブキャビティと第2サブキャビティとを連通させる通風領域が設けられる。
【選択図】図3
特許請求の範囲
【請求項1】
送風筒であって、
内部にエアキャビティと、前記エアキャビティに連通する空気吸込領域及び空気吹出領域とが形成されたハウジングであって、前記空気吸込領域は、前記エアキャビティに空気を導入するためのものであり、前記空気吹出領域は、前記エアキャビティの空気を排出するためのものである、ハウジングと、
空気を加熱するための加熱モジュールであって、前記加熱モジュールは、前記エアキャビティ内に設けられ、前記加熱モジュールは、前記エアキャビティを第1サブキャビティと第2サブキャビティとに分離し、前記第1サブキャビティは、前記空気吸込領域に連通し、前記第2サブキャビティは、前記空気吹出領域に連通し、前記加熱モジュール及び/又は前記ハウジングには、通風領域が設けられ、前記通風領域は、前記第1サブキャビティと前記第2サブキャビティとを連通させる、加熱モジュールと、を備える、送風筒。
続きを表示(約 1,200 文字)
【請求項2】
前記第1サブキャビティの体積は、前記第2サブキャビティの体積より大きい、
請求項1に記載の送風筒。
【請求項3】
前記空気吹出領域は、前記加熱モジュールの第1方向における一端に設けられ、前記空気吸込領域は、前記加熱モジュールの第2方向における一端に位置し、前記第1方向は、前記第2方向に垂直である、
請求項1に記載の送風筒。
【請求項4】
前記加熱モジュールは、
前記第2方向に沿って延在する第1取り付け板であって、前記第1取り付け板は、前記ハウジング内に設けられ、前記エアキャビティを前記第1サブキャビティと前記第2サブキャビティとに分離し、前記第1取り付け板及び/又は前記ハウジングは、前記通風領域を形成する通風構造を有する、第1取り付け板と、
空気を加熱するための加熱部材であって、前記加熱部材は、前記第1取り付け板に設けられ、前記加熱部材は、前記第1サブキャビティ及び/又は前記第2サブキャビティに設けられる、加熱部材と、を備える、
請求項3に記載の送風筒。
【請求項5】
前記加熱部材は、前記第1方向に沿って前記第1取り付け板に巻き付け接続され、
又は、前記加熱部材は、前記第2方向に沿って前記第1取り付け板に巻き付け接続され、
又は、前記加熱部材は、第3方向に沿って前記第1取り付け板に巻き付け接続され、前記第3方向は、前記第1方向及び前記第2方向に垂直である、
請求項4に記載の送風筒。
【請求項6】
前記第1サブキャビティ内に位置する前記加熱部材の体積は、前記第2サブキャビティ内に位置する前記加熱部材の体積より大きい、
請求項5に記載の送風筒。
【請求項7】
前記加熱モジュールは、
前記第1取り付け板に接続される第2取り付け板をさらに備え、前記第2取り付け板は、前記第1方向に沿って前記加熱部材に当接する、
請求項5に記載の送風筒。
【請求項8】
前記ハウジングは、中空の空気吸込部を有し、前記空気吸込部は、空気吸込端と空気吹出端とを有し、前記空気吸込端と前記空気吹出端との間に前記空気吸込領域が形成され、前記空気吹出端は、前記エアキャビティに接続され、
前記送風筒は、前記空気吸込端と前記空気吹出端との間に設けられるファンをさらに備える、
請求項1から7のいずれか一項に記載の送風筒。
【請求項9】
前記ハウジングの片側には、複数の空気吹出口が開口され、各前記空気吹出口は、共に前記空気吹出領域を形成する、
請求項1から7のいずれか一項に記載の送風筒。
【請求項10】
複数の前記空気吹出口は、第1空気吹出口と第2空気吹出口とを備え、前記通風領域は、少なくとも部分的に、前記第1空気吹出口と前記第2空気吹出口との間に設けられる、
請求項9に記載の送風筒。
(【請求項11】以降は省略されています)
発明の詳細な説明
【技術分野】
【0001】
本発明は、家電製品の技術分野に関し、より具体的には、送風筒及びスタンド型ドライヤーに関するものである。
続きを表示(約 1,600 文字)
【背景技術】
【0002】
ドライヤーは、一般的な家電製品であり、空気を加熱するための加熱モジュールを含み、加熱モジュールは、空気を加熱して温風を生成することで、効率的に髪や衣類などを乾かす。しかしながら、ペットの毛や使用者の長髪を乾かす適用シーンでは、ドライヤーは長時間動作状態にあり、関連技術手段のドライヤーは放熱効率が低く、空気は加熱モジュール表面のすべての熱を除去することができず、ドライヤー内に熱が蓄積しやすく、その結果、ドライヤー表面の過熱により、使用者が火傷を負う危険性があり、潜在的な安全上の問題がある。同時に、ドライヤー内部に熱が蓄積すると、加熱モジュールが過度の高温によって破損したり、更には赤熱化や焼損したりして、ドライヤーの使用寿命に影響を与える。
【発明の概要】
【発明が解決しようとする課題】
【0003】
上記に鑑み、本発明は、送風筒及びスタンド型ドライヤーを提供することで、加熱モジュールの放熱効率を如何に向上させるかという技術的課題を解決する。
【課題を解決するための手段】
【0004】
本発明の実施例の技術的解決策は、次のように実現される。
【0005】
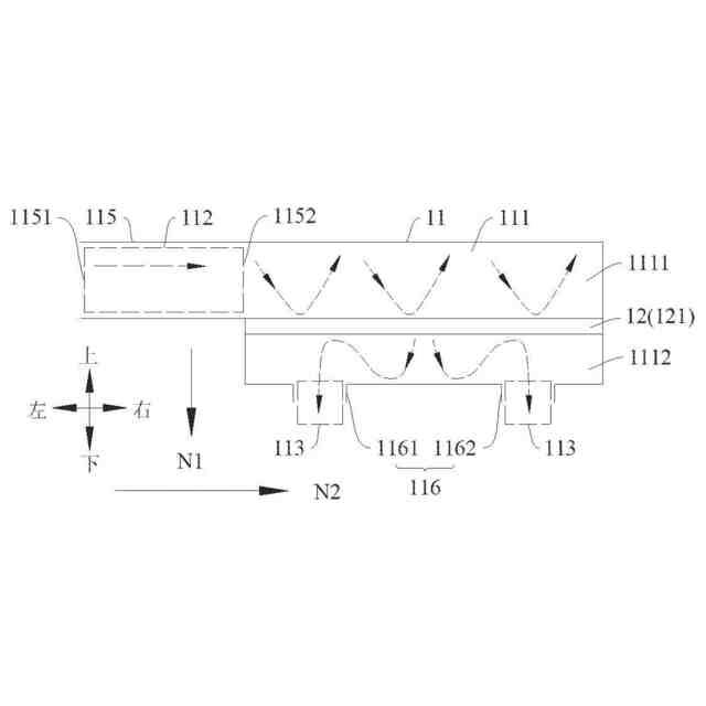
送風筒であって、ハウジングと、空気を加熱するための加熱モジュールと、を備え、前記ハウジングは、その内部にエアキャビティと、前記エアキャビティに連通する空気吸込領域及び空気吹出領域とが形成されており、前記空気吸込領域は、前記エアキャビティに空気を導入するためのものであり、前記空気吹出領域は、前記エアキャビティの空気を排出するためのものであり、前記加熱モジュールは、前記エアキャビティ内に設けられ、前記加熱モジュールは、前記エアキャビティを第1サブキャビティと第2サブキャビティとに分離し、前記第1サブキャビティは、前記空気吸込領域に連通し、前記第2サブキャビティは、前記空気吹出領域に連通し、前記加熱モジュール及び/又は前記ハウジングには、通風領域が設けられ、前記通風領域は、前記第1サブキャビティと前記第2サブキャビティとを連通させる。
【0006】
いくつかの実施例では、前記第1サブキャビティの体積は、前記第2サブキャビティの体積より大きい。
【0007】
いくつかの実施例では、前記空気吹出領域は、前記加熱モジュールの第1方向における一端に設けられ、前記空気吸込領域は、前記加熱モジュールの第2方向における一端に位置し、前記第1方向は、前記第2方向に垂直である。
【0008】
いくつかの実施例では、前記加熱モジュールは、前記第2方向に沿って延在する第1取り付け板と、空気を加熱するための加熱部材とを備え、前記第1取り付け板は、前記ハウジング内に設けられ、前記エアキャビティを前記第1サブキャビティと前記第2サブキャビティとに分離し、前記第1取り付け板及び/又は前記ハウジングは、前記通風領域を形成する通風構造を有し、前記加熱部材は、前記第1取り付け板に設けられ、前記加熱部材は、前記第1サブキャビティ及び/又は前記第2サブキャビティに設けられる。
【0009】
いくつかの実施例では、前記加熱部材は、前記第1方向に沿って前記第1取り付け板に巻き付け接続され、又は、前記加熱部材は、前記第2方向に沿って前記第1取り付け板に巻き付け接続され、又は、前記加熱部材は、第3方向に沿って前記第1取り付け板に巻き付け接続され、前記第3方向は、前記第1方向及び前記第2方向に垂直である。
【0010】
いくつかの実施例では、前記第1サブキャビティ内に位置する前記加熱部材の体積は、前記第2サブキャビティ内に位置する前記加熱部材の体積より大きい。
(【0011】以降は省略されています)
この特許をJ-PlatPat(特許庁公式サイト)で参照する
関連特許
個人
包み箱
2か月前
個人
傘
2か月前
個人
杖
4か月前
個人
傘
7か月前
個人
爪やすり
19日前
個人
二重把手袋
7か月前
個人
折り畳み傘
4か月前
個人
財布
5か月前
個人
バッグ
4か月前
個人
眼鏡ホルダー
3か月前
個人
シール
6か月前
個人
傘
9か月前
個人
肩ベルトカバー
2か月前
個人
美容用具
3か月前
個人
シート状パック
7か月前
個人
刺抜き具
8か月前
個人
滑らないヘアピン
9か月前
個人
傘の先端キャップ
6か月前
個人
補助持ち手付き傘
5か月前
個人
香りカプセル
11か月前
ベス工業株式会社
整髪具
5か月前
個人
電動爪削り器
10か月前
個人
手提げ袋携帯ホルダー
8か月前
株式会社文殊
巾着袋
3か月前
個人
リュックサック
11か月前
個人
折りたたみ式提げ手。
7か月前
個人
スマートフォンカバー
7か月前
大忠株式会社
バッグ
9か月前
株式会社バンビ
長財布
1か月前
個人
傘巻き取り補助具
1か月前
コクヨ株式会社
バッグ
7か月前
株式会社バンビ
長財布
8か月前
株式会社イケテイ
袋物
5か月前
個人
傘の折り畳み式滴受け具
12か月前
個人
エクステプレート
2か月前
個人
牽引の楽なキャリーバッグ
7日前
続きを見る
他の特許を見る