TOP
|
特許
|
意匠
|
商標
特許ウォッチ
Twitter
他の特許を見る
公開番号
2025165347
公報種別
公開特許公報(A)
公開日
2025-11-04
出願番号
2024077575
出願日
2024-04-22
発明の名称
牽引の楽なキャリーバッグ
出願人
個人
代理人
主分類
A45C
5/14 20060101AFI20251027BHJP(手持品または旅行用品)
要約
【課題】従来のキャリーバッグは箱体の収納ケース上部に伸縮調整自在のハンドルを有し、収納ケース底部四隅に取り付けた車輪を利用して収納ケースを押したり引いたりして移動させている。或いは、キャリーバッグを身体の後方に位置させて斜めに倒し、ハンドルで引っ張る方法も普遍的である。キャリーバッグを斜めに倒すと、収納ケースと収納物の重量は引っ張る側の二隅の車輪にかかるため、重くなり、方向も安定せず牽引が困難になる問題があった。
【解決手段】キャリーバッグ本体1の底部4に取り付けられたハンドル側車輪7a、7bの前方に追加の車輪8a,8bを取り付け、キャリーバッグをハンドル側に斜めに倒したとき車輪7a、7bと8a、8bの4輪で支えるように構成する。
【選択図】図1
特許請求の範囲
【請求項1】
バッグ本体の上部に伸縮調整自在のハンドルと底部四隅に回動自在の車輪を備えたキャリーバッグを身体の後方に位置させて斜めに倒しハンドルで引っ張る際に、4個の車輪を接地させて引っ張るため、ハンドル側二隅の車輪の前方に2個の追加の車輪を設置したことを特徴とする牽引の楽なキャリーバッグ。
続きを表示(約 140 文字)
【請求項2】
バッグ本体のハンドル装着側に底部より高い位置に外ポケットを設けて底部に追加の車輪を設置することで、キャリーバッグを斜めに倒して引っ張る際に本体車輪と外ポケットの追加の車輪が同一面で接地し、4輪走行できることを特徴とする請求項1に記載の牽引の楽なキャリーバッグ。
発明の詳細な説明
【発明の詳細な説明】
【】
【発明の関する技術分野】
【0001】
本発明は荷物を入れた収納ケースを、上部に装着されたハンドルを使用し、底部の車輪を転がしての運搬するキャリーバッグ、キャリーケース、スーツケースに関するものである。キャリーバッグ、キャリーケース、スーツケースの分類は構成する素材や用途で言い換えられていて収納ケースの運搬方法は同じである。
続きを表示(約 1,800 文字)
【背景技術】
【0002】
一般的なキャリーバッグは箱体の収納ケース上部に設置された伸縮調整自在のハンドルを使用し、収納ケース底部四隅に取り付けた車輪を利用して収納ケースを押したり引いたりして移動させている。キャリーバッグを垂直な状態で動かす時は四隅の車輪を使用する。キャリーバッグを身体の後方に位置させて斜めに倒し、ハンドルで引っ張る場合はハンドル側の回動自在な二隅の車輪を使用している。キャリーバッグの静音性や安定性の向上には車輪の材質や構造を変えることで問題解決を図っている。
【先行技術文献】
【0003】
このような問題を解決するため公知の技術として、特開平10-304921号公報、特開平11-020402号公報,特開2018-102890号公報がある。
【発明の概要】
【発明が解決しようとする課題】
【0004】
従来のキャリーバッグは、バッグ本体の上部に伸縮調整自在のハンドルと底部四隅に回動自在の車輪を備えた構造で垂直走行に適している。しかし、この移動方法では歩行速度を速めることができない。また、地面が平坦でないと移動は困難である。そこで、歩行速度を上げるため、キャリーバッグを身体の後方に位置させ、斜めに倒してハンドルで引っ張っている。キャリーバッグの底部は傾斜するので四隅の車輪を使用することができないため、ハンドル側二隅の車輪を使用する。キャリーバッグと収納物の重量は二隅の車輪にかかり、回動自在の2輪で牽引すると制御できない場合がある。更に、騒音や蛇行の問題が生ずるので、車輪を双輪の車輪に替えて対処している。しかし、双輪の車輪を使用しても問題を解決することができず、新たに車輪が片減りする問題がある。
【0005】
従来の技術においてはアームに装着した補助車輪を引き出しての使用や、ハンドル位置を変更することでキャリーバッグ走行を容易にする方式である。実際にキャリーバッグを使用しているときに、走行を助けるために補助車輪をその都度引き出すことや、ハンドル位置を変更するのは面倒である。また、キャリーバッグの外観を損なう問題もあった。
【0006】
本発明に係るキャリーバッグ、キャリーケース及びスーツケースでは、身体の後方に位置させて斜めに倒しハンドルで引っ張る際に生ずる問題を解決し、利便性があり快適に使用でき、安価に製造できる運搬方法を提供することを目的としている。
【課題を解決するための手段】
【0007】
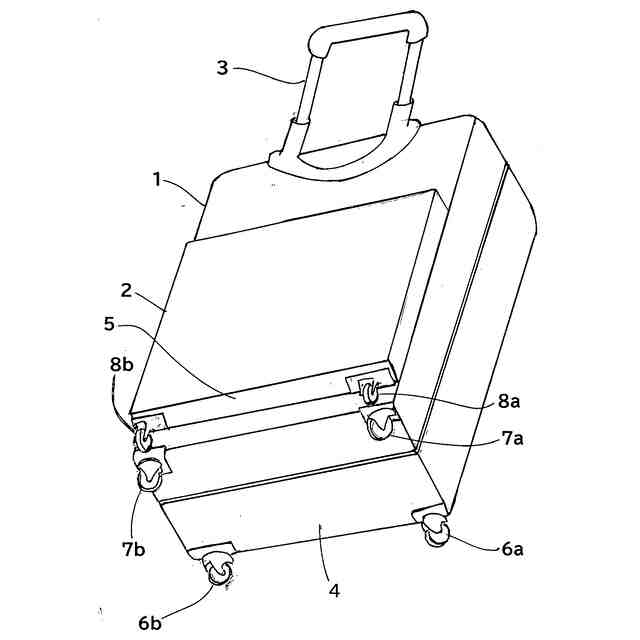
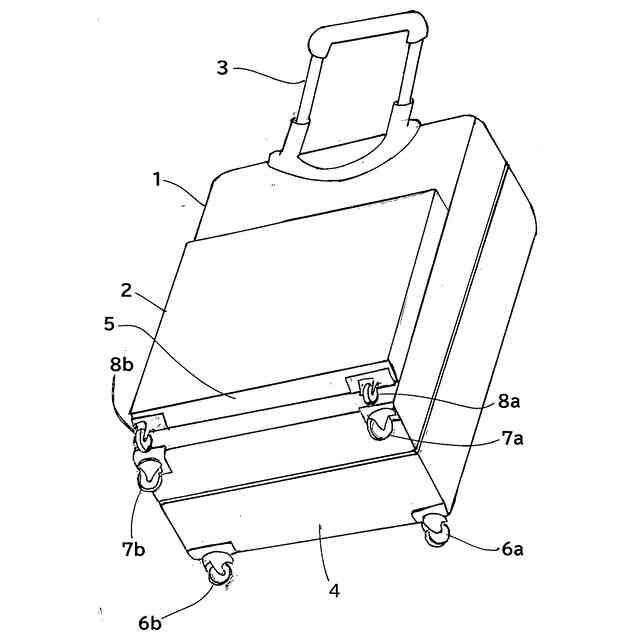
請求項1に記載の発明は、キャリーバッグを身体の後方に位置させて斜めに倒しハンドルで引っ張る際に、底部全体に分散されていたキャリーバッグと収納物の重量は、傾斜したキャリーバッグの底部に移り二隅の車輪で支える際の困難な問題を解決するために、本体のハンドル側底部二隅の車輪の前方で、これらの車輪と同時に接地する2個の追加の車輪を取付けたことを特徴とする牽引の楽なキャリーバッグである。
【0008】
請求項2に記載の発明は、キャリーバッグに外ポケットを設けて底部に固定式車輪を装着し、追加の車輪をキャリーバッグの表面の外側にはみ出さない構造としている。
【発明の効果】
【0009】
本発明は上述のごとく、キャリーバッグを身体の後方に位置させて斜めに倒しハンドルで容易に引っ張れるようにしたものである。車輪を追加することでキャリーバッグを引っ張る際も4輪でキャリーバッグの重量を受けている。追加の車輪は固定式であるため製造、取り付けが簡単で安価であり騒音や蛇行を生じないので牽引が楽になる。
【図面の簡単な説明】
【0010】
本発明の実施例を示すキャリーバッグを底部より見た斜視図である。
本発明の実施例を示すキャリーバッグの側面図である。
本発明の実施例を示す使用状態の説明図である。
本発明の実施例を示す使用状態の説明図であり、スーツケースに追加の車輪を装着している。
本発明の実施例を示すキャリーバッグの斜視図であり、湾曲した底部に追加の車輪を装着している。
【発明を実施の形態】
(【0011】以降は省略されています)
この特許をJ-PlatPat(特許庁公式サイト)で参照する
関連特許
個人
包み箱
3か月前
個人
爪やすり
1か月前
個人
傘
3か月前
個人
杖
5か月前
個人
傘
7か月前
個人
二重把手袋
7か月前
個人
財布
5か月前
個人
折り畳み傘
4か月前
個人
バッグ
4か月前
個人
シール
7か月前
個人
眼鏡ホルダー
4か月前
個人
肩ベルトカバー
3か月前
個人
刺抜き具
8か月前
個人
傘
10か月前
個人
シート状パック
7か月前
個人
美容用具
4か月前
個人
ゲル状のシート
22日前
個人
傘の先端キャップ
6か月前
個人
滑らないヘアピン
10か月前
個人
補助持ち手付き傘
6か月前
個人
電動爪削り器
11か月前
ベス工業株式会社
整髪具
6か月前
個人
折りたたみ式提げ手。
8か月前
個人
スマートフォンカバー
8か月前
株式会社文殊
巾着袋
4か月前
株式会社松風
人工爪組成物
6日前
個人
リュックサック
11か月前
個人
手提げ袋携帯ホルダー
9か月前
大忠株式会社
バッグ
9か月前
株式会社バンビ
長財布
9か月前
株式会社イケテイ
袋物
6か月前
コクヨ株式会社
バッグ
7か月前
株式会社バンビ
長財布
1か月前
個人
エクステプレート
3か月前
個人
傘巻き取り補助具
2か月前
個人
背負い型荷物支え具
1か月前
続きを見る
他の特許を見る