TOP
|
特許
|
意匠
|
商標
特許ウォッチ
Twitter
他の特許を見る
公開番号
2025161205
公報種別
公開特許公報(A)
公開日
2025-10-24
出願番号
2024064201
出願日
2024-04-11
発明の名称
背負い型荷物支え具
出願人
個人
代理人
個人
主分類
A45F
3/04 20060101AFI20251017BHJP(手持品または旅行用品)
要約
【課題】本発明は、背負い肩荷物の支え具に関するもので、背負った荷物が少しでも軽く感じ、汗蒸れの熱さ無く、簡単で安全、使用感に優れ、そして安価である荷物の支え具を開発し提供することを課題とする。
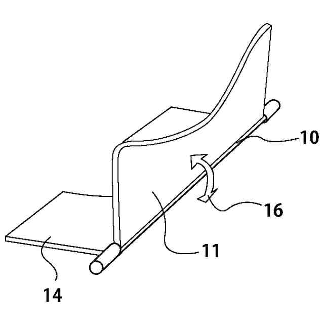
【解決手段】背負い型荷物の背側底部近傍に水平に設置された回転軸部と、前記回転軸部に回転可能な態様で一辺が連結された平板状の腰当て板状体と、前記回転軸部の両端部に回転可能な態様で一端が連結された2本の肩ベルトつっぱり棒状体とを具備する背負い型荷物支え具。
【選択図】図1
特許請求の範囲
【請求項1】
背負い型荷物の人の背側底部近傍に水平に設置された回転軸部と、
前記回転軸部に回転可能な態様で一辺が連結された平板状の腰当て板状体と、
を具備する背負い型荷物支え具であって、
背負い型荷物を背負った際、前記腰当て板状体は、前記回転軸部を軸に回転させ、平板状の他の一辺が人の背中腰部にあてがわれることにより、前記背負い型荷物の背側下部を人の背中から浮かせることができること
に特徴を有する背負い型荷物支え具。
続きを表示(約 1,500 文字)
【請求項2】
前記回転軸部と前記腰当て板状体との連結部は、前記回転軸部にバネ蝶番構造を有し、前記腰当て板状体が、絶えず前記背負い型荷物の外部背面側又は外部底面側に回転してもどり接触静止する力を有していること、
に特徴を有する請求項1に記載の背負い型荷物支え具。
【請求項3】
背負い型荷物の人の背側底部近傍に水平に設置された回転軸部と、
前記回転軸部に回転可能な態様で一辺が連結された平板状の腰当て板状体と、
前記回転軸部に一辺が連結され且つ前記背負い型荷物の外部底面に固定された態様である平板状の荷置き台と、
を具備する背負い型荷物支え具であって、
背負い型荷物を背負った際、前記腰当て板状体は、前記回転軸部を軸に回転させ、平板状の他の一辺が人の背中腰部にあてがわれることにより、前記背負い型荷物の背側下部を人の背中から浮かせることができること、且つ前記荷置き台は背負い型荷物の重量を底面で支えること、
に特徴を有する背負い型荷物支え具。
【請求項4】
前記回転軸部と前記腰当て板状体との連結部は、前記回転軸部にバネ蝶番構造を有し、前記腰当て板状体が、絶えず前記背負い型荷物の外部背面側又は外部底面側に回転してもどり接触静止する力を有していること、
に特徴を有する請求項3に記載の背負い型荷物支え具。
【請求項5】
背負い型荷物の人の背側底部近傍に水平に設置された回転軸部と、
前記回転軸部に回転可能な態様で一辺が連結された平板状の腰当て板状体と、
前記回転軸部の両端部に回転可能な態様で一端が連結された2本の肩ベルトつっぱり棒状体と、
を具備する背負い型荷物支え具であって、
背負い型荷物を背負った際、前記腰当て板状体は、前記回転軸部を軸に回転させ、平板状の他の一辺が人の背中腰部にあてがわれることにより、前記背負い型荷物の背側下部を人の背中から浮かせることができ、
前記肩ベルトつっぱり棒状体は、前記回転軸部を軸に回転させ、他の一端を前記背負い型荷物の肩ベルトの下部近傍にあてがわれることにより、前記背負い型荷物の肩ベルトを人の腹部前方下方向に押し下げることができること、
に特徴を有する背負い型荷物支え具。
【請求項6】
前記回転軸部と前記腰当て板状体との連結部は、前記回転軸部にバネ蝶番構造を有し、前記腰当て板状体が、絶えず前記背負い型荷物の外部背面側又は外部底面側に回転してもどり接触静止する力を有していること、
及び前記肩ベルトつっぱり棒状体は、前記回転軸部の連結部と反対側の一端に凸部を有し、前記背負い型荷物の肩ベルトに設けた穴部に挿入されて、つっぱり固定されること、
に特徴を有する請求項5に記載の背負い型荷物支え具。
【請求項7】
前記肩ベルトつっぱり棒状体は、伸縮可能なタモ竿構造を有していること、
に特徴を有する請求項6に記載の背負い型荷物支え具。
【請求項8】
背負い型荷物の人の背側底部近傍に水平に設置された回転軸部と、
前記回転軸部の両端部に回転可能な態様で一端が連結された2本の肩ベルトつっぱり棒状体と、
を具備する背負い型荷物支え具であって、
前記肩ベルトつっぱり棒状体は、前記回転軸部を軸に回転させ、他の一端を前記背負い型荷物の肩ベルトの下部近傍にあてがわれることにより、前記背負い型荷物の肩ベルトを人の腹部前方下方向に押し下げることができること、
に特徴を有する背負い型荷物支え具。
発明の詳細な説明
【技術分野】
【0001】
本発明は、ランドセル、リュックサック及び肩ベルトのある背負い型荷物に係り、身体の肩、背負い型荷物を乗せる荷置き台、その荷置き台と回転軸部を介してつながる腰当て板状体からなる3つの支点と、前記回転軸部の両端から肩ベルトに装備した肩ベルトつっぱり棒状体、これらを連動させて簡単に荷物を支え、その機構から背中の蒸れを解消できる新たな荷物支え具に関する。肩ベルトを押し込むその突っ張る力を利用して安定的に支え、その上で背中の蒸れからの解放といった点に鑑みなされたものであり、体感重量問題、背中の不快感を払拭することのできる荷物支え具に関する。
続きを表示(約 1,800 文字)
【背景技術】
【0002】
ランドセルやリュックサック等背負う形態の荷物は、両手が空き且つ荷重を左右バランス良く背負うこととなり、骨格を形成する成長盛りの児童、また山登り等重たい荷物を背負う場合に身体に偏った負担が少なく理想的な手段であるため世の中で多く普及されている。しかしその一方で体感重量軽減や背中に密着する不快感解消の問題についてさまざまな提案がなされてはいるものの、この2点を兼ね備えたこれといった解決策は、未だに確立されていない。
【0003】
上記のようにどのような環境の中でも重たい荷物が少しでも軽く感じられ、且つ荷物と背中の間の蒸れに対する衛生的問題や不快感が解消されて、いかに快適に移動ができるか、このストレス社会において重要な問題であることは言うまでもない。上記2点の問題を解決すべく下記に挙げるような先行文献によって各種提案が成されてきた。
【0004】
荷物の体感重量軽減について実用新案に登録された特許文献1実用新案登録第3186156号公報では、近年ランドセルにおいて軽量化、荷重の分散化、重心位置の調整といった工夫がなされてはいるものの、ランドセル自体が収納力向上のため大容量化されている現状に鑑み提案されている。ランドセル大容量化の弊害は、歩く、走る等児童が活発に動く度に収納物が大きく揺れてしまい体感重量の負担が増してしまう点である。この文献1ではランドセル内部底面に傾斜をつけ内部の教材等が背面側に倒れることで揺れが減少し、重心は背面側に寄るため体感重量を軽減できる技術思想が開示されている。しかし、内部に傾斜をつけると教材や道具を収納する際に収納物の形や分量に応じて工夫が必要になり、小さな学年では真っ直ぐに入らないことに戸惑いの懸念が生じかねない。これについてはランドセルに限らず背負い型荷物全般に共通する懸念である。
【0005】
審査請求前の出願ではあるが、特許文献2特開2022-172484号公報においてはランドセルの内部に内籠を設け内部で上からぶら下げる構造で荷物の重心を上に上げ体感重量軽減を可能にする思想である。重心を上位に置くことで体感重量が軽減されることは周知された認識であるが、この場合上に置く重心の位置に限界があり、また収納物を浮かせることで揺れが生じてしまい体感重量軽減を感じられるかわからない。
【0006】
背負い型荷物の背中の不快については、たとえば特許文献3特許第4128211号においてランドセルの背負いやすさの観点から密着度が高まると通気性が悪くなることで蒸れが生じてしまい、その蒸れによる不快を解消するための技術思想が開示されている。文献3では、ポリプロピレンからなる基板にポリウレタンを一定の組み合わせで凹凸状に配列して空気の流れを作ることで蒸れを解消させ、且つ基板の真ん中縦に主空気流路を形成することで荷重を分散させる効果が期待できる。しかし背中に当たる面積が広く、使用されるポリウレタンの素材から保温的要素が発生しないか不安視される。
【0007】
また特許文献4特許第6829850号においては、口またはポンプを利用した膨縮自在のエアバックを背負い袋の背面側の下部に装着したリュックサックの技術思想が開示されている。こちらも背中の汗による衛生上の問題や使用感の不快を解消する目的はなされているが、口やポンプで膨らましたりしぼめたりといった行為を不便と感じてしまう場合が想定される。
【先行技術文献】
【特許文献】
【0008】
実用新案登録第3186156号公報
特開2022-172484号公報
特許第4128211号
特許第6829850号
【発明の概要】
【発明が解決しようとする課題】
【0009】
これまでの技術および技術思想では、ランドセルやリュックサックなどの背負い型荷物について、体感重量軽減や背中の蒸れによる不快感解消の各種提案が成されてきた。
【0010】
例えばランドセルを背負う新一年生は、身体の3分の1とも見える大きなランドセルに振り回され汗をかきながら登下校をしている。心身の発達に問題を起こしかねない体感重量問題は早急の解決が必要である。
(【0011】以降は省略されています)
この特許をJ-PlatPat(特許庁公式サイト)で参照する
関連特許
他の特許を見る