TOP
|
特許
|
意匠
|
商標
特許ウォッチ
Twitter
他の特許を見る
公開番号
2025168609
公報種別
公開特許公報(A)
公開日
2025-11-10
出願番号
2024228141
出願日
2024-12-25
発明の名称
デュアルタンク口腔洗浄器
出願人
寧波賽嘉電器有限公司
代理人
個人
,
個人
主分類
A61C
17/028 20060101AFI20251031BHJP(医学または獣医学;衛生学)
要約
【課題】例えば、口腔洗浄の完了後に洗口液を使用して洗口することができ、携帯の利便性が比較的高いデュアルタンク口腔洗浄器を提供すること。
【解決手段】デュアルタンク口腔洗浄器は、押圧弁、第1タンク210、第2タンク220、導水管及びポンプアセンブリ400を含む。押圧弁は、出口部、第1入口部、第2入口部及び弁芯を含む。弁芯は押圧されることにより押圧弁内における位置を変更して第1入口部または第2入口部の封止を実現することができる。第1入口部は第1タンクに接続され、第2入口部は第2タンクに接続される。導水管の一端は出口部に接続される。ポンプアセンブリは導水管の他端及び口腔洗浄器の噴出口に接続される。本願が提供する第1タンクは噴射洗浄液を貯留することができ、第2タンクは洗口液を貯留することができ、使用者は押圧弁を制御することにより液体の選択を実現できる。
【選択図】図2
特許請求の範囲
【請求項1】
押圧弁(100)であって、出口部(110)、第1入口部(120)、第2入口部(130)及び弁芯(150)を含み、前記弁芯(150)は押圧されることにより前記押圧弁(100)内における位置を変更して第1入口部(120)または第2入口部(130)の封止を実現することができる、押圧弁(100)と、
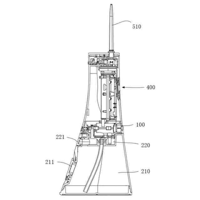
前記第1入口部(120)が接続される第1タンク(210)と、
前記第2入口部(130)が接続される第2タンク(220)と、
一端が前記出口部(110)に接続される導水管(300)と、
前記導水管(300)の他端及び口腔洗浄器の噴出口(500)に接続されるポンプアセンブリ(400)と、を含むことを特徴とするデュアルタンク口腔洗浄器。
続きを表示(約 2,600 文字)
【請求項2】
前記押圧弁(100)は、
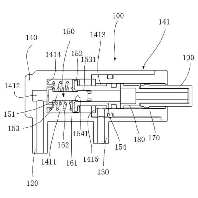
主部(141)及び前記主部(141)から延在する前記第1入口部(120)、前記第2入口部(130)及び前記出口部(110)を含み、前記主部(141)の軸方向において、前記出口部(110)が前記第1入口部(120)と前記第2入口部(130)との間に位置する弁体(140)と、
移動可能に前記弁体(140)内に設置される弁芯(150)と、を含むことを特徴とする請求項1に記載のデュアルタンク口腔洗浄器。
【請求項3】
前記主部(141)の内チャンバ体は、主チャンバ(1411)及びそれぞれ前記主チャンバ(1411)の軸方向の両側に設置される第1チャンバ(1412)及び第2チャンバ(1413)を含み、前記主チャンバ(1411)は前記出口部(110)に連通し、前記第1チャンバ(1412)は前記第1入口部(120)に連通し、前記第2チャンバ(1413)は前記第2入口部(130)に連通し、前記第1チャンバ(1412)及び前記第2チャンバ(1413)の直径はいずれも前記主チャンバ(1411)の直径よりも小さく、前記主チャンバ(1411)と前記第1チャンバ(1412)との間に第1軸方向端面(1414)が形成され、前記主チャンバ(1411)と前記第2チャンバ(1413)との間に第2軸方向端面(1415)が形成され、
前記弁芯(150)は第1密封部(151)及び第2密封部(152)を含み、前記第1密封部(151)は前記第1軸方向端面(1414)を押圧被覆するとともに、前記第1チャンバ(1412)を封止することができ、前記第2密封部(152)は前記第2軸方向端面(1415)を押圧被覆するとともに、前記第2チャンバ(1413)を封止することができることを特徴とする請求項2に記載のデュアルタンク口腔洗浄器。
【請求項4】
前記弁芯(150)は、
前記第1密封部(151)が径方向に凸出する第1スラストロッド(153)と、
前記第1スラストロッド(153)に接続され、前記第2密封部(152)が径方向に凸出する第2スラストロッド(154)と、を含むことを特徴とする請求項3に記載のデュアルタンク口腔洗浄器。
【請求項5】
前記第1スラストロッド(153)は前記第2スラストロッド(154)内に摺動設置され、前記第1スラストロッド(153)と前記第2スラストロッド(154)の軸方向の間に第1バネ(161)が設置され、前記第2スラストロッド(154)の一端の端部にその径方向の内側に向けて延在する第2スラストロッド係止部(1541)が設置され、前記第1スラストロッド(153)の一端の端部にその径方向の外側に向けて延在する第1スラストロッド係止部(1531)が設置されて、前記第1スラストロッド(153)及び前記第2スラストロッド(154)が対向移動すると、前記第1バネ(161)が受圧し、前記第1スラストロッド(153)及び前記第2スラストロッド(154)が前記第1バネ(161)の推力を受けて背離移動した後、前記第1スラストロッド係止部(1531)と前記第2スラストロッド係止部(1541)とが互いに当接して、前記第1スラストロッド(153)が前記第2スラストロッド(154)から離脱することが回避されることを特徴とする請求項4に記載のデュアルタンク口腔洗浄器。
【請求項6】
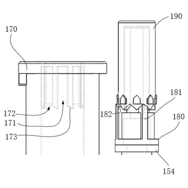
前記第2スラストロッド(154)と前記第1軸方向端面(1414)との間に第2バネ(162)が設置され、前記押圧弁(100)は、更に、ガイドレール部(170)、回転部(180)、スラストロッド部(190)を含み、前記回転部(180)及び前記スラストロッド部(190)は前記ガイドレール部(170)に挿入され、前記スラストロッド部(190)は前記ガイドレール部(170)から伸出し、前記回転部(180)は前記第2スラストロッド(154)に圧着して、前記スラストロッド部(190)を押動することにより、前記押圧弁(100)を押圧ロック状態と押圧弾出状態との間で切り換え、
前記押圧ロック状態において、前記第1密封部(151)は前記第1入口部(120)を封止し、前記出口部(110)が前記第2入口部(130)に連通し、前記押圧弾出状態において、前記第2密封部(152)は前記第2入口部(130)を封止し、前記出口部(110)が前記第1入口部(120)に連通することを特徴とする請求項5に記載のデュアルタンク口腔洗浄器。
【請求項7】
前記第1入口部(120)及び前記第2入口部(130)は、前記弁体(140)の底部に位置することを特徴とする請求項2に記載のデュアルタンク口腔洗浄器。
【請求項8】
前記ポンプアセンブリ(400)は圧力チャンバ(410)を含み、前記圧力チャンバ(410)の一端が前記導水管(300)に接続されるとともに、前記押圧弁(100)内の液体が前記圧力チャンバ(410)に導入され、前記導水管(300)と前記圧力チャンバ(410)との間に第1一方向弁(411)が設置され、
前記圧力チャンバ(410)の他端に前記噴出口(500)が接続されるとともに、前記圧力チャンバ(410)内の前記液体が前記噴出口(500)を介して前記口腔洗浄器から噴出し、前記圧力チャンバ(410)と前記噴出口(500)との間に第2一方向弁(412)が設置されることを特徴とする請求項1に記載のデュアルタンク口腔洗浄器。
【請求項9】
前記ポンプアセンブリ(400)は、
歯車軸(420)と、
前記歯車軸(420)に固定接続される偏心軸スリーブ(430)と、
一端が前記偏心軸スリーブ(430)に嵌設され、他端が隔膜(450)に接続される伝動ロッド(440)であって、前記隔膜(450)が前記圧力チャンバ(410)の一面として形成される、伝動ロッド(440)と、を含むことを特徴とする請求項8に記載のデュアルタンク口腔洗浄器。
【請求項10】
前記第1タンク(210)及び前記第2タンク(220)にそれぞれ補液口が設置されることを特徴とする請求項1に記載のデュアルタンク口腔洗浄器。
発明の詳細な説明
【技術分野】
【0001】
本願は口腔洗浄器技術分野に関するものであり、特にデュアルタンク口腔洗浄器に関するものである。
続きを表示(約 2,200 文字)
【背景技術】
【0002】
口腔洗浄器は、口腔を洗浄する補助的なツールであり、パルス水流の衝撃を利用する方式で歯、歯間を洗浄する。洗口液(含漱剤)の主な効果は、口腔を洗浄して、細菌または酵母菌が食物の残渣を分解することで起きる口臭を覆い隠し、口腔内に快適かつ爽やかな感覚を留めることである。両者の機能は相互補完的であり、使用者は通常、口腔洗浄器を使用して歯を洗浄した後、洗口液を利用して洗口する。しかし、口腔洗浄器及び洗口液(一般にはボトル入り)は共にスペースを占有するため、旅行時における携帯利便性の向上が期待されている。
【0003】
授権公告番号CN213130038Uの実用新案ではデュアルタンク口腔洗浄器が公開されており、それは口腔洗浄器内の2つのタンク、2つのパイプが設計されて、異なる液体を装入可能であることを実現し、使用者の需要を満たしている。しかし、その構造は複雑で、パイプが占める空間が比較的大きく、液体の流出を制御する切換え具がパイプを摩損させるため、その安定性及び耐用性にはまだ向上の余地がある。
【発明の概要】
【0004】
背景技術において提起された少なくとも1つの問題を解決または改善するため、本願ではデュアルタンク口腔洗浄器が提供されている。
【0005】
本願が提供するデュアルタンク口腔洗浄器は、
押圧弁であって、出口部、第1入口部、第2入口部及び弁芯を含み、前記弁芯は押圧されることにより前記押圧弁内における位置を変更して第1入口部または第2入口部の封止を実現することができる、押圧弁と、
前記第1入口部が接続される第1タンクと、
前記第2入口部が接続される第2タンクと、
一端が前記出口部に接続される導水管と、
前記導水管の他端及び前記口腔洗浄器の噴出口に接続されるポンプアセンブリと、を含む。
【0006】
少なくとも1つの実施形態において、前記押圧弁は、
主部及び前記主部から延在する前記第1入口部、前記第2入口部及び前記出口部を含み、前記主部の軸方向において、前記出口部が前記第1入口部と前記第2入口部との間に位置する弁体と、
移動可能に前記弁体内に設置される弁芯と、を含む。
【0007】
少なくとも1つの実施形態において、前記主部の内チャンバ体は、主チャンバ及びそれぞれ前記主チャンバの軸方向の両側に設置される第1チャンバ及び第2チャンバを含み、前記主チャンバは前記出口部に連通し、前記第1チャンバは前記第1入口部に連通し、前記第2チャンバは前記第2入口部に連通し、前記第1チャンバ及び前記第2チャンバの直径はいずれも前記主チャンバの直径よりも小さく、前記主チャンバと前記第1チャンバとの間に第1軸方向端面が形成され、前記主チャンバと前記第2チャンバとの間に第2軸方向端面が形成され、
前記弁芯は第1密封部及び第2密封部を含み、前記第1密封部は前記第1軸方向端面を押圧被覆するとともに、前記第1チャンバを封止することができ、前記第2密封部は前記第2軸方向端面を押圧被覆するとともに、前記第2チャンバを封止することができる。
【0008】
少なくとも1つの実施形態において、前記弁芯は、
前記第1密封部が径方向に凸出する第1スラストロッドと、
前記第1スラストロッドに接続され、前記第2密封部が径方向に凸出する第2スラストロッドと、を含む。
【0009】
少なくとも1つの実施形態において、前記第1スラストロッドは前記第2スラストロッド内に摺動設置され、前記第1スラストロッド及び前記第2スラストロッドの軸方向の間に第1バネが設置され、前記第2スラストロッドの一端の端部にその径方向の内側に向けて延在する第2スラストロッド係止部が設置され、前記第1スラストロッドの一端の端部にその径方向の外側に向けて延在する第1スラストロッド係止部が設置されて、前記第1スラストロッド及び前記第2スラストロッドが対向移動すると、前記第1バネが受圧し、前記第1スラストロッド及び前記第2スラストロッドが前記第1バネの推力を受けて背離移動した後、前記第1スラストロッド係止部と前記第2スラストロッド係止部とが互いに当接して、前記第1スラストロッドが前記第2スラストロッドから離脱することが回避される。
【0010】
少なくとも1つの実施形態において、前記第2スラストロッドと前記第1軸方向端面との間に第2バネが設置され、前記押圧弁は、更に、ガイドレール部、回転部、スラストロッド部を含み、前記回転部及び前記スラストロッド部は前記ガイドレール部に挿入され、前記スラストロッド部は前記ガイドレール部から伸出し、前記回転部は前記第2スラストロッドに圧着して、前記スラストロッド部を押動することにより、前記押圧弁を押圧ロック状態と押圧弾出状態との間で切り換え、
前記押圧ロック状態において、前記第1密封部は前記第1入口部を封止し、前記出口部が前記第2入口部に連通し、前記押圧弾出状態において、前記第2密封部は前記第2入口部を封止し、前記出口部が前記第1入口部に連通する。
(【0011】以降は省略されています)
特許ウォッチbot のツイートを見る
この特許をJ-PlatPat(特許庁公式サイト)で参照する
関連特許
寧波賽嘉電器有限公司
デュアルタンク口腔洗浄器
今日
寧波賽嘉電器有限公司
デュアルタンク口腔洗浄器
今日
寧波賽嘉電器有限公司
口腔洗浄器の動作方法および口腔洗浄器
8か月前
寧波賽嘉電器有限公司
ブラシヘッドおよびブラシヘッド付属品
11か月前
個人
貼付剤
14日前
個人
健康器具
8か月前
個人
足踏み器具
3日前
個人
短下肢装具
3か月前
個人
鼾防止用具
8か月前
個人
排尿補助器具
27日前
個人
嚥下鍛錬装置
4か月前
個人
導電香
9か月前
個人
洗井間専家。
7か月前
個人
脈波測定方法
8か月前
個人
マッサージ機
9か月前
個人
白内障治療法
8か月前
個人
脈波測定方法
8か月前
個人
前腕誘導装置
3か月前
個人
矯正椅子
5か月前
個人
汚れ防止シート
1か月前
個人
ホバーアイロン
7か月前
個人
歯の修復用材料
4か月前
個人
ウォート指圧法
25日前
個人
胸骨圧迫補助具
2か月前
個人
バッグ式オムツ
4か月前
個人
腰ベルト
17日前
個人
アイマスク装置
2か月前
個人
シャンプー
6か月前
個人
哺乳瓶冷まし容器
3か月前
三生医薬株式会社
錠剤
7か月前
個人
湿布連続貼り機。
2か月前
個人
口内洗浄具
8か月前
個人
美容セット
5日前
個人
陣痛緩和具
4か月前
個人
車椅子持ち上げ器
8か月前
個人
歯の保護用シール
5か月前
続きを見る
他の特許を見る